Heater is not blowing air to the floor or the defroster vents

Tiny
CHATHAM2
  • MEMBER
  • 2002 CADILLAC SEVILLE
  • 112,000 MILES
Car only blow air thru the dash vents. I can not get it to blow to the floor or the defroster no matter what I try.
Thursday, December 15th, 2011 AT 7:55 PM

11 Replies

Tiny
FACTORYJACK
  • MECHANIC
  • 4,159 POSTS
More than likely the mode actuator is faulty. If you know how to enter diagnostics on the vehicle, it probably has set a code for such.
Was this
answer
helpful?
Yes
No
Thursday, December 15th, 2011 AT 8:00 PM
Tiny
CHATHAM2
  • MEMBER
  • 6 POSTS
I had pulled the codes earlier. They are below. It has been two weeks since I pulled the codes and reset them. I just tried to pull new codes and there are no new codes. How do you reset or correct this situation? I have searched everywhere with no success.

DDM
B1327 vehicle system voltage below 9v
B3832 window position sensor circuit
B3833 window position sensor circuit

IRC
U1016 Loss of Class 2 Communication with VCM

PCM
P0442 Evaporative Emission (EVAP) System Small Leak Detected

RIM
B1328 right hand sun load sensor fault
U1255 Class 2 Communication Malfunction (Serial Data Line Malfunction)

TTM
B1983 device power circuit low
U1016 Loss of Class 2 Communication with VCM
Was this
answer
helpful?
Yes
No
Thursday, December 15th, 2011 AT 8:27 PM
Tiny
FACTORYJACK
  • MECHANIC
  • 4,159 POSTS
You can try this recalibration procedure and see if that changes anything. Or like I say, you have a faulty mode actuator. The replacement for the actuator states remove instrument panel carrier, it can be done without that.
Actuator Recalibration

Calibration Procedure with a Scan Tool

Use the following steps to perform the calibration update:

1.

Install a scan tool.

2.

Turn ON the ignition, with the engine OFF.

3.

With a scan tool, select Instrument Panel Module.

4.

Select Special Functions.

5.

Select Miscellaneous Test.

6.

Select Recalibrate all Motors.

7.

Select ON, wait 30?Seconds.

8.

All counts will display zero and slowly the scan tool will begin to show counts.

Calibration Procedure without a Scan Tool

1.

Turn OFF the ignition.

2.

Remove the battery positive voltage circuit fuse of the Instrument Panel Control Module.

Important: The module memory will not clear if the battery positive voltage circuit fuse is installed in less than 60?Seconds.

3.

Wait 60?Seconds.

4.

Install the fuse.
Was this
answer
helpful?
Yes
No
Thursday, December 15th, 2011 AT 9:15 PM
Tiny
CHATHAM2
  • MEMBER
  • 6 POSTS
"Remove the battery positive voltage circuit fuse of the Instrument Panel Control Module"

where is this?
Was this
answer
helpful?
Yes
No
Thursday, December 15th, 2011 AT 9:49 PM
Tiny
FACTORYJACK
  • MECHANIC
  • 4,159 POSTS
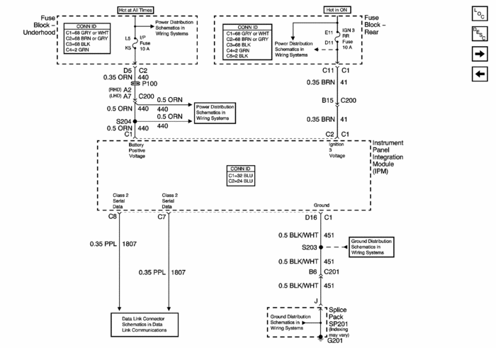
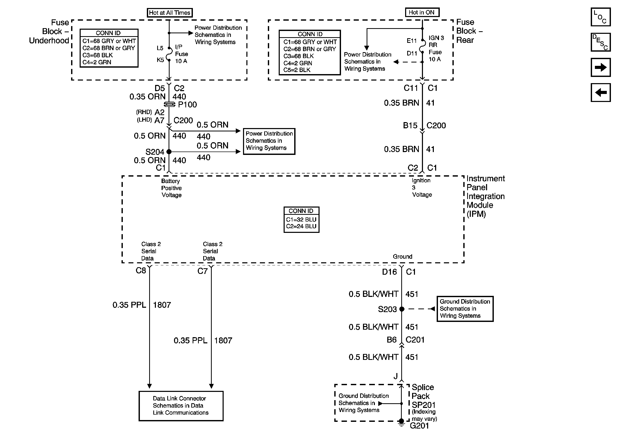
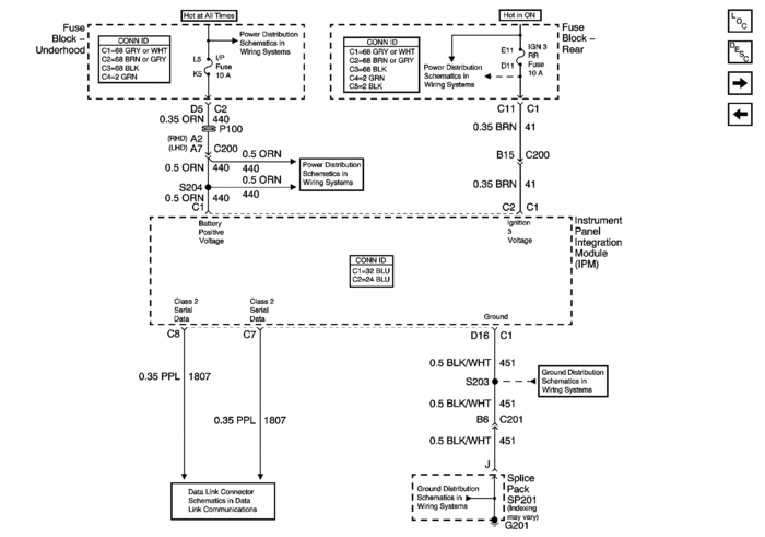
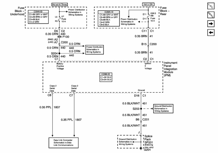
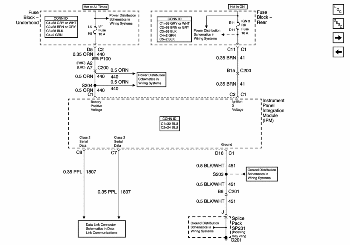
It looks like it is the IGN 3 RR in rear fuse block.
Was this
answer
helpful?
Yes
No
Thursday, December 15th, 2011 AT 11:03 PM
Tiny
CHATHAM2
  • MEMBER
  • 6 POSTS
Ok from what I can tell it is fuse no. 33 (HVAC) in the rear block. I removed this as stated above with no change. So unless I pulled the wrong fuse I guess the next step is the modulator door. Which means pulling the dash and heater box, right? Any step by step on this by chance?
Was this
answer
helpful?
Yes
No
Thursday, December 15th, 2011 AT 11:40 PM
Tiny
FACTORYJACK
  • MECHANIC
  • 4,159 POSTS
From the schematic I provided, it is either the i/p fuse, or the ign 3 rr fuse. It is not showing fuse numbers, one is underhood, and one is in rear.
Was this
answer
helpful?
Yes
No
Thursday, December 15th, 2011 AT 11:57 PM
Tiny
CHATHAM2
  • MEMBER
  • 6 POSTS
I found and pulled both of these at the same time to reset. It didnt fix the problem.
Was this
answer
helpful?
Yes
No
Friday, December 16th, 2011 AT 7:24 PM
Tiny
FACTORYJACK
  • MECHANIC
  • 4,159 POSTS
I would suspect you have a faulty actuator, but without a scan tool to confirm it, it is just a suspicion. It is the most probable suspicion though.

Here is a step-by-step, less illustrations, starting with the carrier.
Instrument Panel Carrier Replacement

Removal Procedure

Caution: Refer to SIR Handling Caution in Cautions and Notices.

Caution: Refer to Battery Disconnect Caution in Cautions and Notices.

1.

Disconnect the negative battery cable. Refer to Battery Negative Cable Disconnection and Connection in Engine Electrical.

2.

Disable the SIR. Refer to Disabling the SIR System in SIR.

3.

Remove the center console. Refer to Console Replacement.

4.

Remove the instrument panel?(IP) center trim plate. Refer to Instrument Panel Center Trim Panel Replacement.

5.

Remove the radio. Refer to Radio Replacement in Entertainment.

6.

Remove the HVAC control assembly. Refer to HVAC Control Module Replacement in HVAC Automatic.

7.

Remove the right and the left sound insulators. Refer to Instrument Panel Insulator Panel Replacement - Right Side.

8.

Remove the IP outer trim covers. Refer to Instrument Panel Outer Trim Cover Replacement.

9.

Remove the IP upper trim pad. Refer to Instrument Panel Upper Trim Pad Replacement.

10.

Remove the defroster grille. Refer to Defroster Grille Replacement.

11.

Remove the knee bolster. Refer to Knee Bolster Replacement.

12.

Disconnect the body†to†IP electrical connectors?(1) at the top outside corners of the IP.

13.

Remove the steering column. Refer to Steering Column Replacement in Steering Wheel and Column.

14.

For RHD (Right Hand Drive) only, Remove the park brake cable from the park brake pedal assembly. Refer to Parking Brake Lever Pedal Assembly Replacement in Parking Brakes.

15.

Remove the IP extension bolts?(1).

16.

Remove the IP carrier to the cowl nuts?(1).

17.

Remove the 6?Bolts?(2) from the IP carrier to the hinge pillar. (Three bolts are on the left hinge pillar and 3 bolts are on the right hinge pillar)?(3).

18.

Remove the IP carrier from the vehicle.

19.

Remove the IP cluster trim panel. Refer to Instrument Cluster Trim Panel Replacement.

20.

Remove the passenger side inflator module from the IP retainer. Refer to Instrument Panel Inflatable Restraint Module Replacement.

21.

Remove the left trim plate. Refer to Instrument Panel Accessory Trim Plate Replacement - Left Side.

22.

Remove the IP cluster. Refer to Instrument Cluster Replacement.

23.

Remove the right IP trim plate from the IP carrier. Refer to Instrument Panel Accessory Trim Plate Replacement - Right Side.

24.

Remove the ignition switch from the IP. Refer to Ignition and Start Switch Replacement.

25.

Remove the headlamp lamp switch. Refer to Headlamp Switch Replacement in Lighting Systems.

26.

Remove the fuel door/rear compartment release switch. Refer to Rear Compartment Lid Release Switch Replacement in Body Rear End.

27.

Remove the IP storage compartment from the IP. Refer to Instrument Panel Compartment Replacement.

28.

Remove the bolts that retain the IP retainer to the carrier.

29.

Partially remove the IP retainer from the carrier.

Guide the wiring through the openings.

30.

Disconnect the inside air temperature sensor electrical connector.

Remove the IP retainer from the vehicle.

31.

Remove the inside temperature sensor from the IP retainer. Refer to Inside Air Temperature Sensor Replacement in HVAC Automatic.

32.

Disconnect the park lock cable from the IP. Refer to Park Lock Cable Replacement in Automatic Transmission.

33.

Remove the A/C temperature sensors from the left and the right air distribution ducts. Refer to HVAC Control Module Replacement in HVAC System-Automatic.

34.

Remove the bolts that retain the left and the right air distribution ducts.

Remove the air distribution ducts from the vehicle.

35.

Remove the screws from the left and the right side window defroster ducts.

Remove the left and right side window defroster ducts.

36.

Remove the theft deterrent module and the mounting bracket from the IP carrier. Refer to Theft Deterrent Module Replacement in Theft Deterrent.

37.

Remove the IP wiring harness from the IP carrier.

38.

Remove the slip bracket bolts?(1).

Remove the slip brackets?(2) from the IP carrier.

Installation Procedure

1.

Install the slip brackets?(2) to the IP carrier.

Loosely install the slip bracket bolts?(1).

2.

Install the IP wiring harness to the IP carrier.

3.

Install the park brake assembly to the carrier. Refer to Parking Brake Lever Pedal Assembly Replacement in Parking Brakes.

4.

Install the theft deterrent module and the mounting bracket to the IP carrier. Refer to Theft Deterrent Module Replacement in Theft Deterrent.

5.

Install the left and the right side window defroster ducts.

Notice: Refer to Fastener Notice in Cautions and Notices.

6.

Install the bolts fully driven, seated but not stripped.

7.

Install the left and the right air distribution ducts.

8.

Install the bolts fully driven, seated, but not stripped.

9.

Install the A/C temperature sensors to the left and the right air distribution ducts. Refer to Ambient Air Temperature Sensor Replacement in HVAC System†Automatic.

10.

Connect the park lock cable to the IP. Refer to Park Lock Cable Replacement in Automatic Transmission.

11.

Install the inside temperature sensor to the IP retainer. Refer to Inside Air Temperature Sensor Replacement in HVAC Automatic.

12.

Install the ignition switch to the IP. Refer to Ignition and Start Switch Replacement.

13.

Partially install the IP retainer.

Connect the inside air temperature sensor electrical connector.

14.

Guide the wiring through the openings.

15.

Complete the IP retainer Installation.

16.

Install the IP retainer to the IP carrier bolts.

17.

Install the IP storage compartment. Refer to Instrument Panel Compartment Replacement.

18.

Install the fuel door/rear compartment release switch. Refer to Rear Compartment Lid Release Switch Replacement in Body Rear End.

19.

Install the headlamp switch. Refer to Headlamp Switch Replacement in Lighting Systems.

20.

Install the right IP trim plate to the IP carrier. Refer to Instrument Panel Accessory Trim Plate Replacement - Right Side.

21.

Install the IP cluster. Refer to Instrument Cluster Replacement.

22.

Install the left trim plate. Refer to Instrument Panel Accessory Trim Plate Replacement - Left Side.

23.

Install the passenger side inflator module to the IP retainer. Refer to Instrument Panel Inflatable Restraint Module Replacement in SIR.

24.

Install the IP cluster trim panel to the IP carrier. Refer to Instrument Cluster Trim Panel Replacement.

25.

Install the IP carrier?(3) to the vehicle.

26.

Install the bolts?(2) from the IP carrier to the hinge pillar.

Tighten
Tighten the IP carrier nuts to 25?NÂ m (18?Lb?Ft).

27.

Install the IP carrier to the cowl nuts?(1).

Tighten
Tighten the carrier to the cowl nuts?(1) to 25?NÂ m (18?Lb?Ft).

28.

Tighten the previously installed bolts to the slip brackets.

Tighten
Tighten the bracket bolts to 25?NÂ m (18?Lb?Ft).

29.

Install the bolts?(1) from the steering column support?(2) to the IP carrier.

Tighten
Tighten the bolts to 9?NÂ m (7?Lb?Ft).

30.

Install the IP center support bracket bolts?(1) to the floor bracket.

Tighten
Tighten the IP center support bracket bolts to 25?NÂ m (18?Lb?Ft).

31.

Connect the front parking brake cable housing to the parking brake pedal assembly. Refer to Parking Brake Lever Pedal Assembly Replacement in Parking Brakes.

32.

Install the steering column. Refer to Steering Column Replacement in Steering Wheel and Column.

33.

Connect the cigar lighter/ashtray lamp harness retainer push pin to the retaining bracket.

34.

Connect the HVAC harness electrical connector.

35.

Connect the body to IP electrical connectors?(1) at the top outside corners of the IP.

36.

Install the knee bolster. Refer to Knee Bolster Replacement.

37.

Install the defroster grille. Refer to Defroster Grille Replacement.

38.

Install the IP upper trim pad. Refer to Instrument Panel Upper Trim Pad Replacement.

39.

Install the IP outer trim covers. Refer to Instrument Panel Outer Trim Cover Replacement.

40.

Install the right and the left sound insulators. Refer to Instrument Panel Insulator Panel Replacement - Right Side.

41.

Install the HVAC control assembly. Refer to HVAC Control Module Replacement in HVAC Automatic.

42.

Install the radio. Refer to Radio Replacement in Entertainment.

43.

Install the IP center trim plate. Refer to Instrument Panel Center Trim Panel Replacement.

44.

Install the center console. Refer to Console Replacement.

Mode Valve Actuator Replacement (LHD)

Removal Procedure

1.

Remove the instrument panel (IP) carrier. Refer to Instrument Panel Carrier Replacement in Instrument Panel, Gauges and Console.

Important: The temperature door motor does not need to be removed in order to remove the mode actuator motor. The temperature door motor in the graphic is removed in order to show the fastener locations clearly.

2.

Remove the mode actuator retaining screws?(1).

3.

Remove the mode actuator.

4.

Note the position of the door levers in relation to the cam.

The mode door levers must be in the same position in order to reassemble the mode actuator to the HVAC case.

Installation Procedure

1.

Lubricate the pivots on the mode door levers and the channels on the mode motor cam before reassembling.

2.

Align the mode door levers with the cam slots, as noted on disassembly.

3.

Install the mode actuator.

Notice: Refer to Fastener Notice in Cautions and Notices.

4.

Install the mode actuator retaining screws?(1).

Tighten
Tighten the screws to 1.4?NÂ m (12?Lb?In).

5.

Install the IP carrier. Refer to Instrument Panel Carrier Replacement in Instrument Panel, Gauges and Console.

6.

Recalibrate the actuators. Refer to Actuator Recalibration.
Was this
answer
helpful?
Yes
No
Friday, December 16th, 2011 AT 7:51 PM
Tiny
CHATHAM2
  • MEMBER
  • 6 POSTS
Out of curiousity, what type of scan tool would I need?
Was this
answer
helpful?
Yes
No
Friday, December 16th, 2011 AT 10:33 PM
Tiny
FACTORYJACK
  • MECHANIC
  • 4,159 POSTS
Probably the one from the manufacturer, GM's tech 2. I am not sure if any aftermarket scanners access other systems as well.
Was this
answer
helpful?
Yes
No
Friday, December 16th, 2011 AT 11:33 PM

Please login or register to post a reply.