Friday, September 9th, 2011 AT 12:00 AM
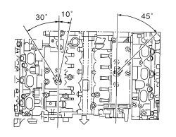
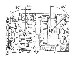
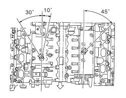
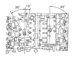
The chenk engine lite is on the repair people said the faulr code is a bad knock sensor and amisfiree in cylinder 4. They are replacing a started on the car and we donot have enough money for the rest of repairs that come to $1400.00. I know I can do the knock sensor if I find out where it is and what it looks like. Please help thank s rocky




