Lexus gs430 airbag light

Tiny
BILLBUBBA
  • MEMBER
  • 2001 LEXUS GS 430
  • V8
  • FWD
  • AUTOMATIC
  • 70 MILES
Lexus gs430.
airbag light came on today and is staying on. How do I turn it off without having to pay $100+ to lexus
Thursday, January 27th, 2011 AT 1:30 AM

1 Reply

Tiny
RASMATAZ
  • MECHANIC
  • 75,992 POSTS
Attempt to clear the code/s and see what happens

CLEARING CODES

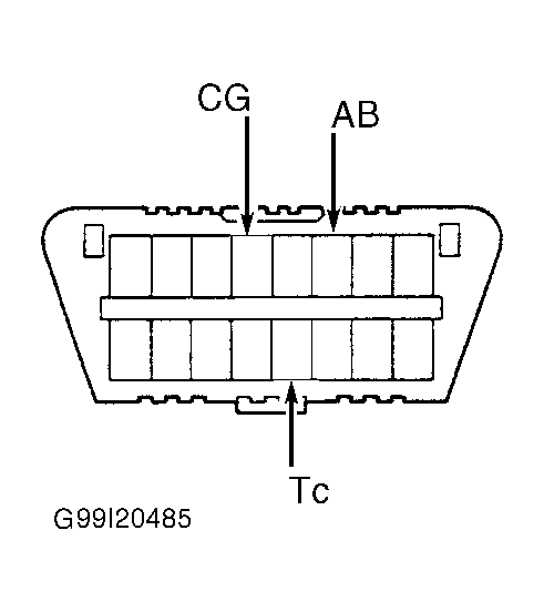
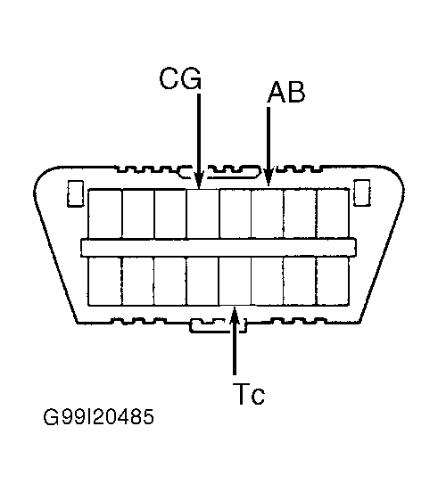
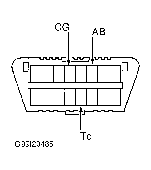
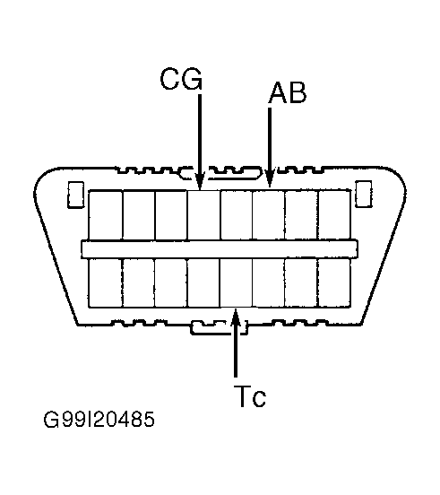
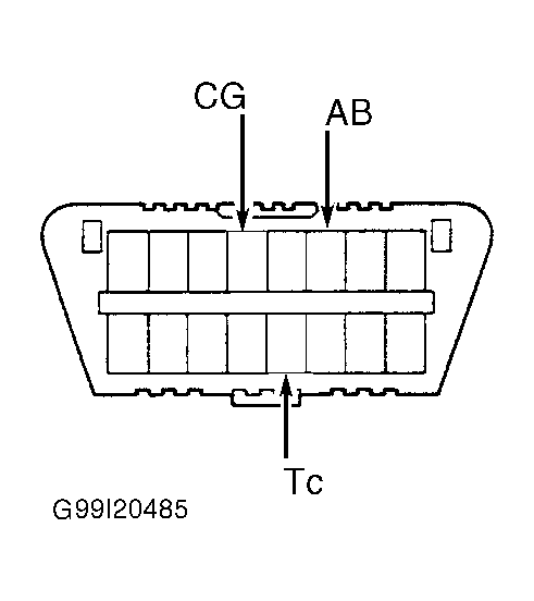
Using Jumper Wire
Use 2 jumper wires. Connect one end of first jumper wire to DLC3 terminal Tc and one end of second jumper wire to DLC3 terminal AB. See Fig. 19. Turn ignition switch to ON position. Wait about 6 seconds.
NOTE:When alternately grounding terminals Tc and AB, release ground from one terminal and immediately ground the other terminal within 0.2 second. If time interval exceeds 0.2 second, DTCs will not be cleared.

Starting with jumper wire connected to terminal Tc, apply body ground alternately to terminal Tc and terminal AB twice each, in cycles of 1/2 to 1 1/2 seconds (sequence is: Tc, AB, Tc, AB). Finally, keep applying body ground to terminal Tc until AIR BAG warning light flashes quickly, indicating DTCs are cleared.
Using Lexus Hand-held Tester
Connect Lexus hand-held tester to DLC3. DLC3 is located under left side of instrument panel. Clear DTCs by following prompts on tester. See tester operator's manual for instructions.
Was this
answer
helpful?
Yes
No
Thursday, January 27th, 2011 AT 1:45 AM

Please login or register to post a reply.