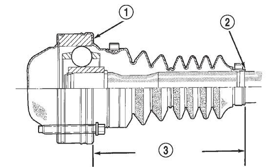
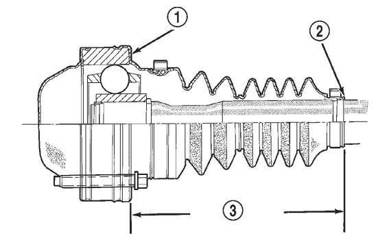
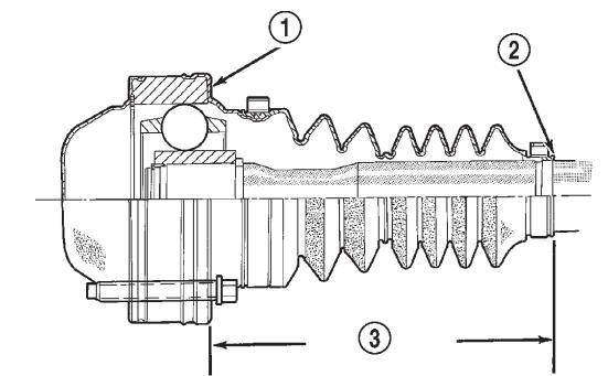
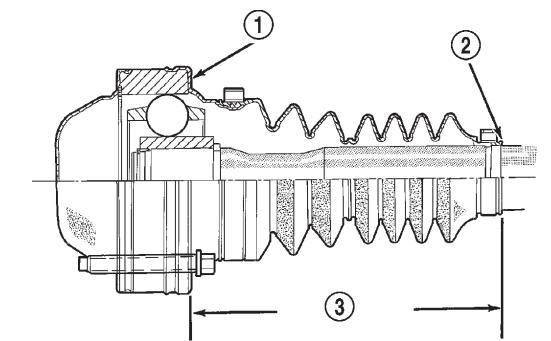
First I suspect the rear propeller shaft then I took it to the workshop to get fine balance, but it still vibrating!
Then I change mind to the front propeller shaft, when I remove it the vibration disappeared, so my Suspicion is the constant velocity joint or something in front axle.
Note:the front propeller shaft is balanced in a work-shop.
Saturday, December 11th, 2010 AT 6:33 PM


