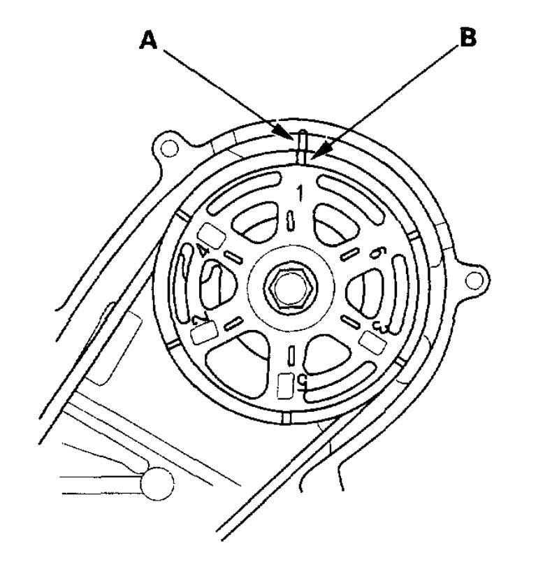
Intake did loosen a lot (I can insert 0.011 inch in it). But exhaust I can't tell. I adjusted half of my engine yesturday but on the exhaust side, no matter what I do, I can always insert 0.015 inch. It is really tight for 0.015, I can barely move it around. But going back to the point.
To me, I think both intake and exhaust gets loose over time.
And if I am correct, then I should set the gap to the lowest factory setting as possible to both intake and exhaust.
Note:
What I did was, I set the intake side to the lowest gap by the factory (0.008 inch). And also for the intake, I can NOT insert 0.009. You might say tight but it moves around nicely.
But for exhaust side, my options are 0.011 to 0.013. And since I heard exhaust gets tight I would set this to 0.012. A little tight for 0.012 so that it feels smooth for 0.011. But as I said, I can squeeze in 0.015. Strange.
So again, my exhaust was not tight. They were loose just as the intake. And if all becomes loose over time, then I need to re-adjust my exhaust.
Thanks.
Wednesday, May 11th, 2011 AT 7:13 PM





