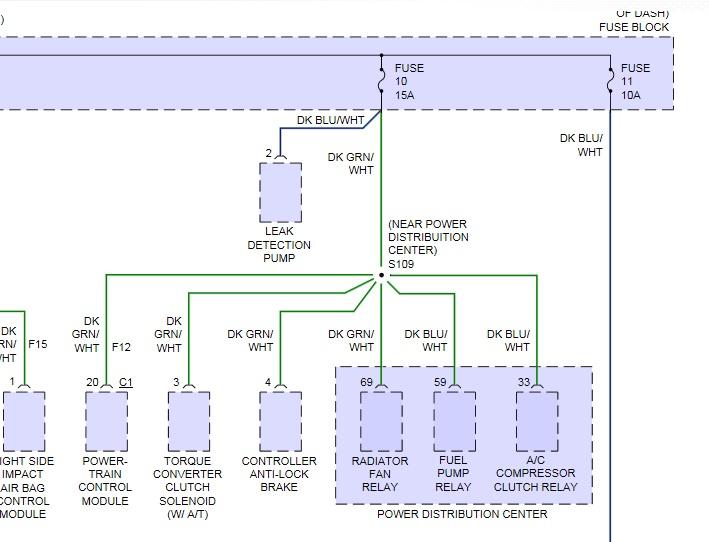
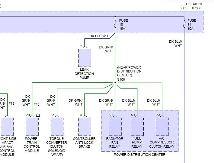
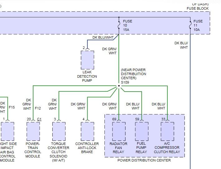
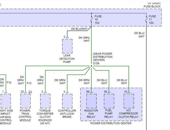
So we changed that and also put 1 litre of oil in it because it has been sitting for quite a while, and it took right off. I am planning on getting an oil change done on it today since it was sitting for so long. I drove it to work and the check engine light is off now and everything seemed fine, until the fuse blew again! When it blew, the oil light came on and I lost all power steering and my engine was off.
My lights and the radio were still on, but I couldn't do anything, so I changed the fuse since I had extras, and parked it at work. I am at a loss of what it could be, the only thing I can think of is electrical, maybe a wire somewhere. Please help.
Wednesday, October 22nd, 2014 AT 8:25 AM



