Ignition switch gone bad?

Tiny
LENMCHRISTINE
  • MEMBER
  • 2001 CHEVROLET MALIBU
  • 213,000 MILES
The key will not turn completely off in my 2001 Malibu. Can turn to accessory and remove the key, but that leaves power on to the radio and dash, which drains the battery. Could this be an ignition switch problem or perhaps an issue with linkage cables? I bought the car used 2 years ago and have always had to put it in park then pull back on the gear shift slightly until it pops in order to get the key to completely shut off. It stopped "popping" when I pull back on it a few days ago and since then I've not been able to get the key to turn to the off position. I've continued to read about this issue since it's apparently quite common in the Malibu. Possible problems include the ignition lock, which was priced at $167 when I called a local parts place. Several people online, however, have had success from cleaning pieces inside the gear shift area. Apparently an issue can arise from things like soda getting spilled.

I am now beginning to think I might possibly have a cable stretched that needs replaced. The rubber piece of my gear shift fork has always had a split in it so that when you apply pressure to put the car in gear this piece wants to rip and pull. I just noticed that after I let my father drive the car a few days ago the rubber piece is almost completely torn loose. (I have always been aware of the problem so I never grabbed the fork from the top to pull, but my father was unaware of this.)Thoughts?
Friday, November 25th, 2011 AT 5:35 PM

3 Replies

Tiny
KEN L
  • MASTER CERTIFIED MECHANIC
  • 55,404 POSTS
Hello,

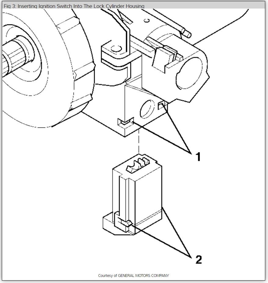
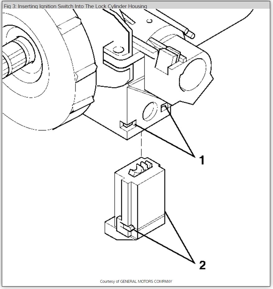
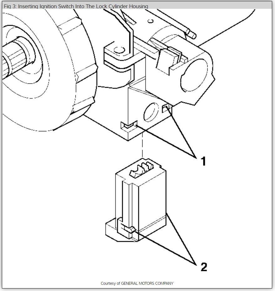
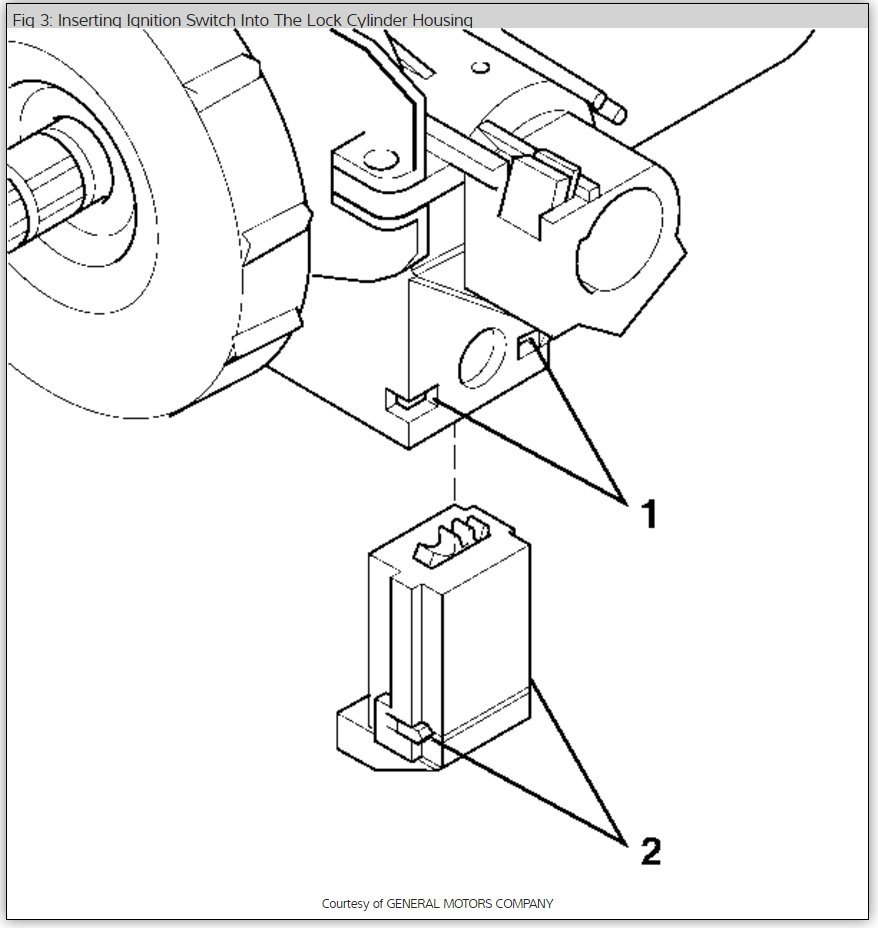
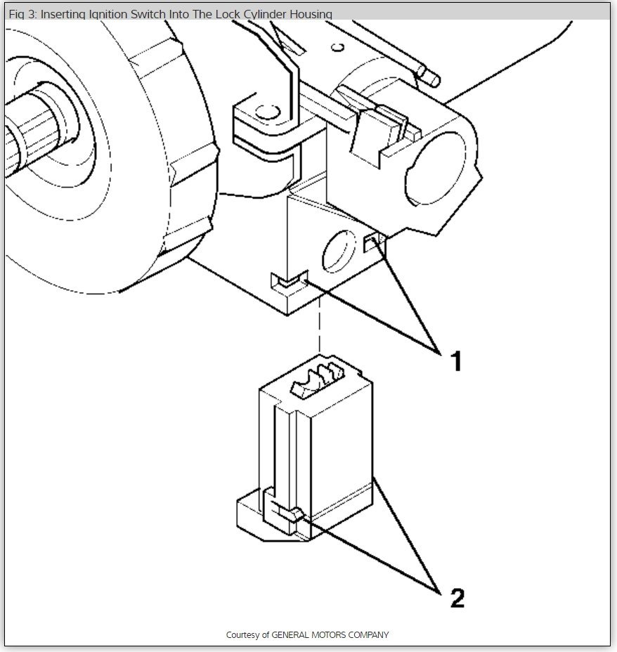
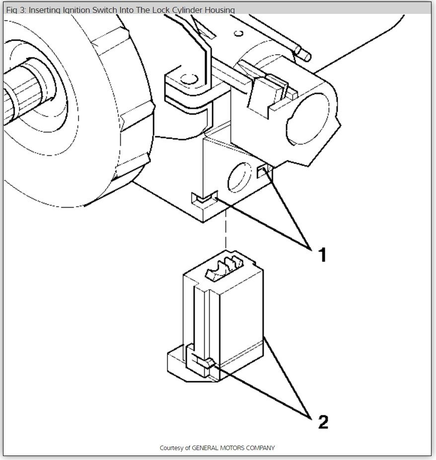
What has happened is the key tumbler has worn out which is common. Here are some guides to help you get it replaced. You will need to have the key programmed to your car which the dealer can do before you install it.

Please let us know if you need anything else to get the problem fixed.

Cheers, Ken
Was this
answer
helpful?
Yes
No
+1
Saturday, July 29th, 2017 AT 7:00 PM
Tiny
MIRANDA
  • MEMBER
  • 1 POST
  • 2001 CHEVROLET MALIBU
  • 6 CYL
  • FWD
  • AUTOMATIC
  • 150,000 MILES
Need to code an ignition switch for 2001 malibu
Was this
answer
helpful?
Yes
No
Saturday, July 29th, 2017 AT 7:03 PM (Merged)
Tiny
JACOBANDNICKOLAS
  • MECHANIC
  • 110,192 POSTS
You need soecal equipent to check and repaire.
Was this
answer
helpful?
Yes
No
Saturday, July 29th, 2017 AT 7:03 PM (Merged)

Please login or register to post a reply.