
this is the wiring diagram for the system notice the white wires .22 very small in diameter

read more about the system and how its work
help you understand the system
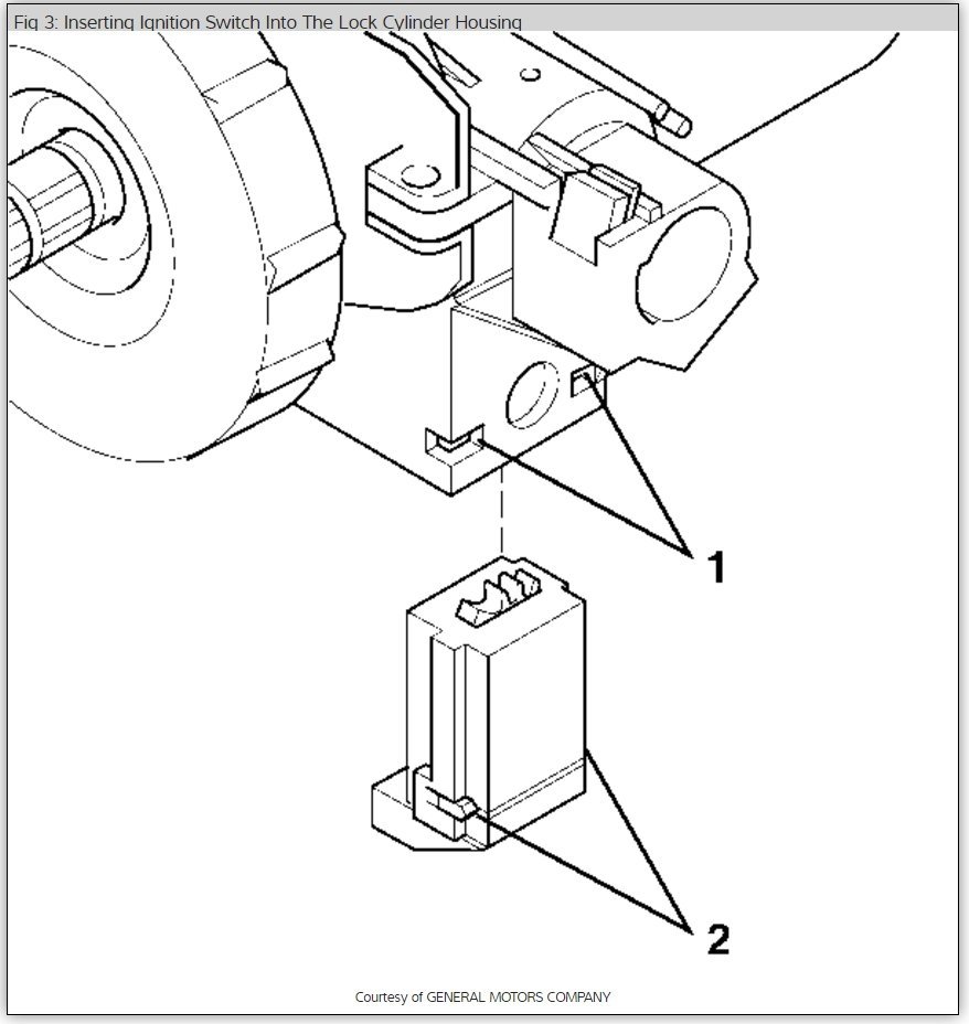
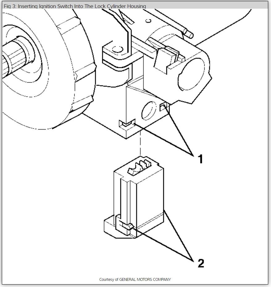
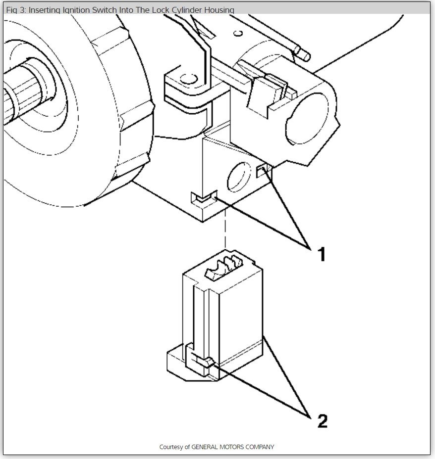
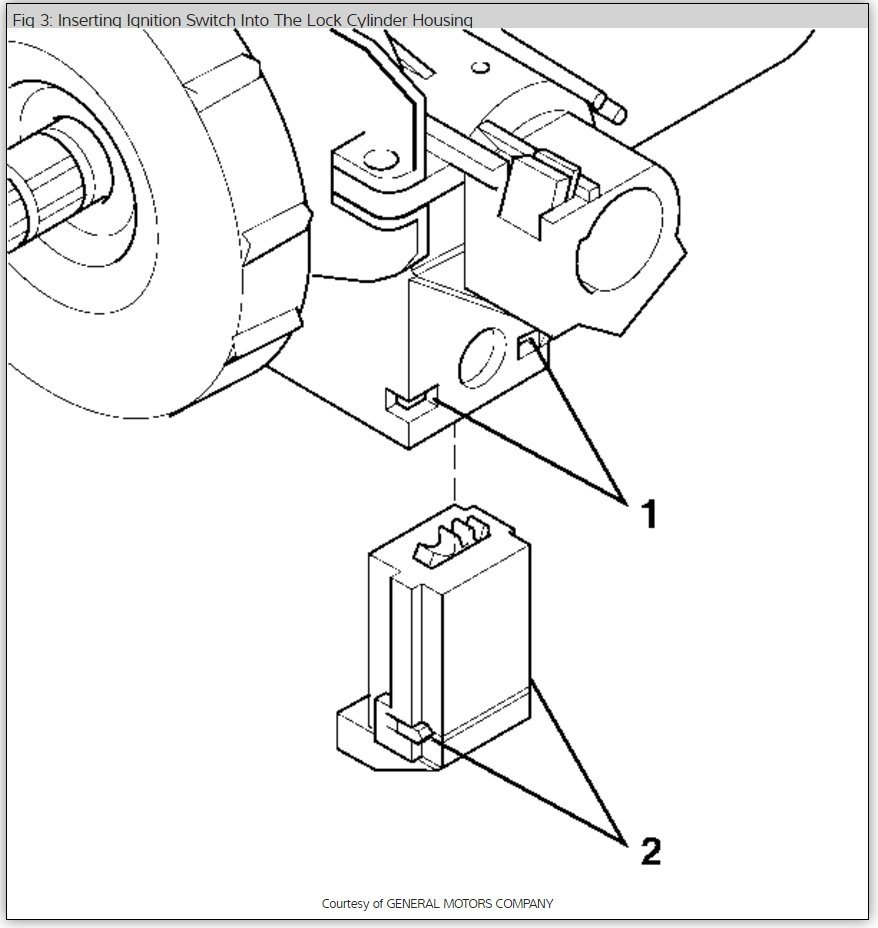
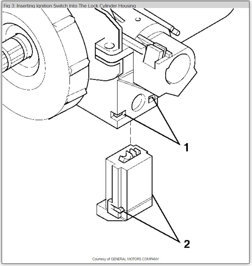
PASS KEY
Resistor sensing contacts are located in ignition key lock cylinder. These contact the key resistor pellet on the key when it is inserted. When the lock is rotated, battery voltage is applied through fuse No. 17 to the pass key decoder module. The pellet resistance is then compared against the resistance value stored in module.
If key pellet is the proper resistance, terminal A3 is grounded, energizing the starter enable relay. At the same time, a signal is applied at terminal A2 to enable the Electronic Control Module (ECM). When this signal is received by ECM, it allows fuel injector pulses to begin.
If the key resistor pellet is the wrong value, the Pass Key Decoder module will shut down for 2-4 minutes. During this interval there will be no output at terminals A2 or A3.
If ignition switch is turned on again during this interval, the timer will begin over again and pass key decoder module will remain shut for another 2-4 minutes. The pass key decoder module will continue this process even if a key with the correct pellet is used to turn ignition back on. The timer is restarted by the ignition voltage at terminal A1 when ignition switch is turned to RUN position.
Once timer has completed its 2-4 minute cycle with the ignition switch off, the pass key decoder module and timer are reset. A key having the correct resistor pellet can then be used to start engine.
The SECURITY indicator is controlled directly by the Pass Key Decoder module. If pass key is actively preventing the vehicle from starting, this indicator will be grounded by the Pass Key Decoder module with the ignition switch in RUN, BULB TEST or START. When ignition switch is first placed in RUN, BULB TEST or START, the indicator lights for about 2 seconds as a bulb check.
Thursday, August 8th, 2019 AT 6:51 PM
(Merged)