Monday, September 26th, 2011 AT 2:39 AM
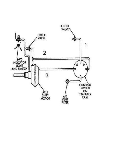
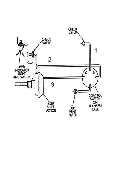
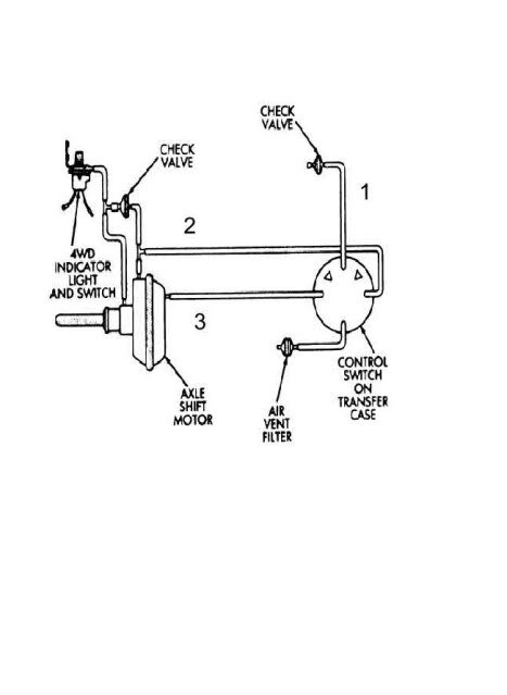
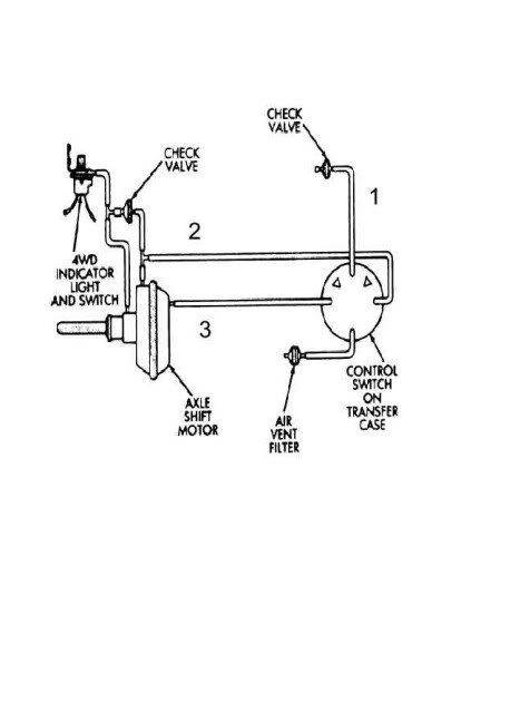
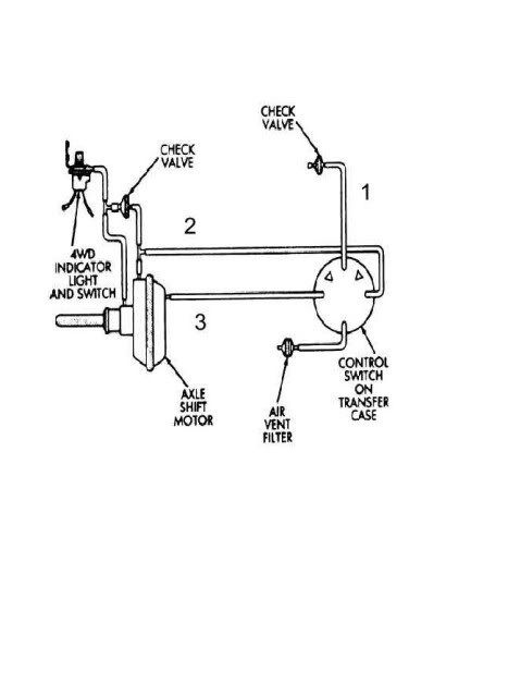
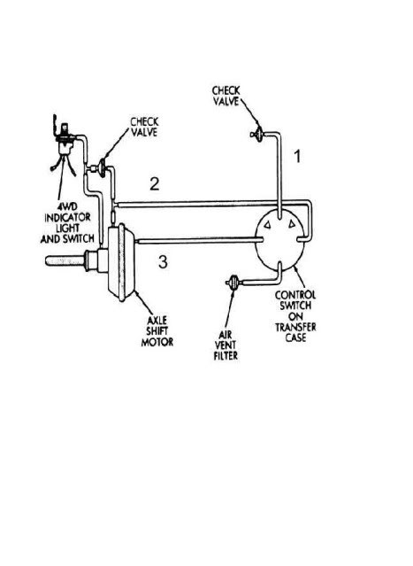
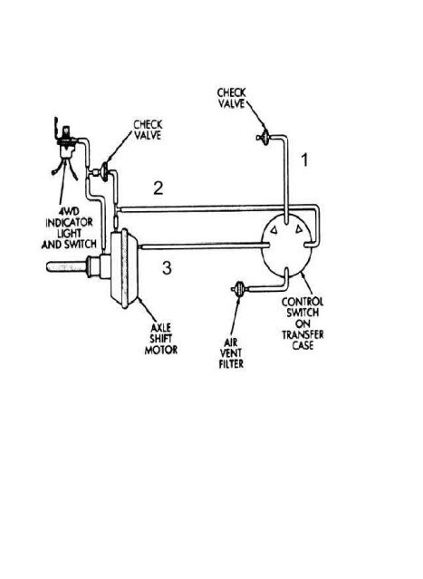
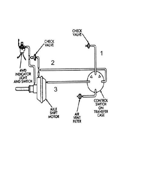
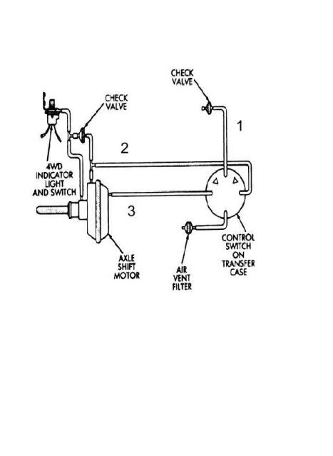
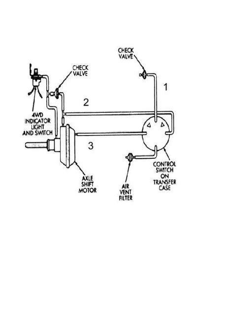
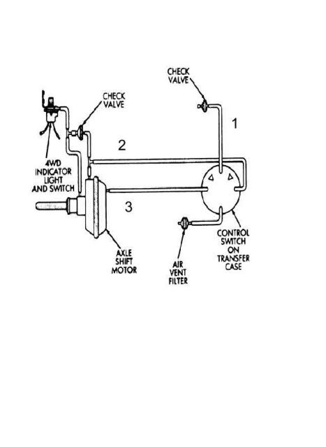
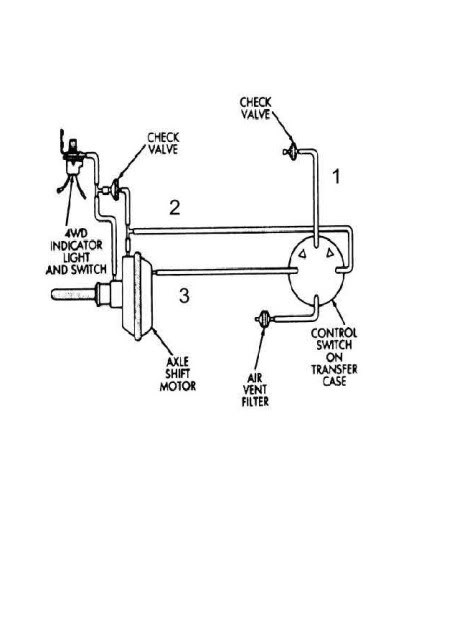
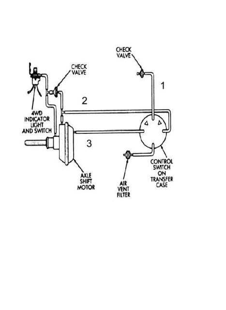
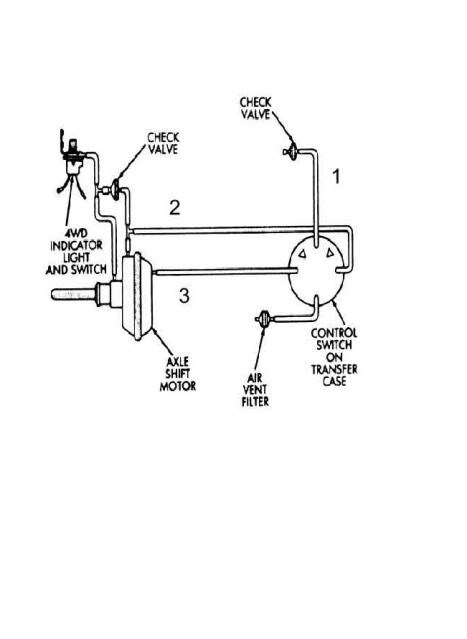
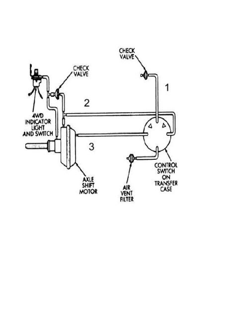
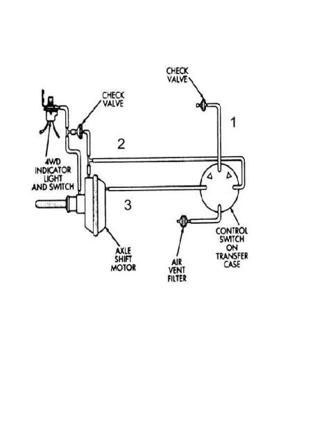
I have a 2000 GMC Jimmy 4X4 The Vacuum Actuator Solenoid Valve hoses are disconnected and dry rotted. I can not find a diagram where these hoses go. Can anyone please help. There is a picture of the solenoid valve in the link below.











