Friday, December 10th, 2010 AT 5:13 PM
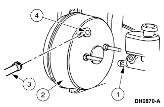
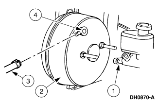
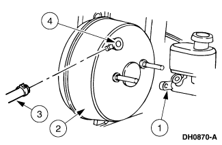
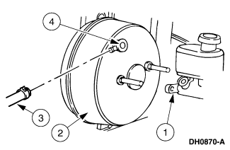
When I press on the break peddle two things happen: 1- instead of some give the response is hard, like hitting the floor. 2- very poor breaking. Pushing harder makes little difference. If air in the lines makes the peddle soft what can make it hard?

