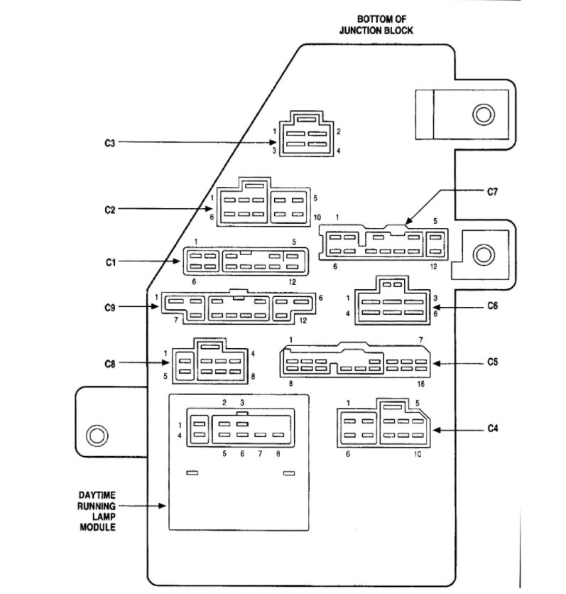
Thursday, February 10th, 2011 AT 1:51 AM
I have a 2000 dodge stratus and the radio, door locks and the dome light don't work. I believe it is the fuse. How do I know which fuse to change? They are not labeled.







