Monday, January 10th, 2011 AT 11:28 PM
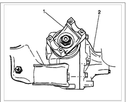
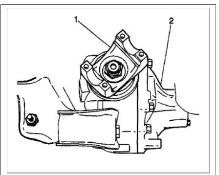
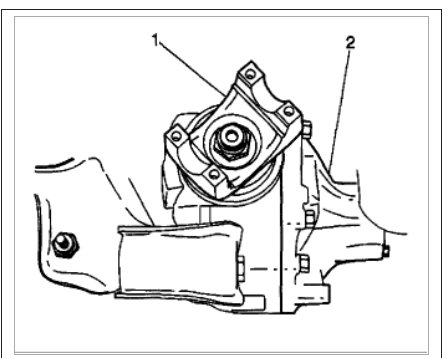
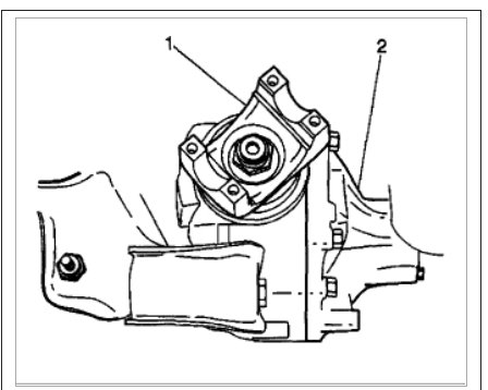
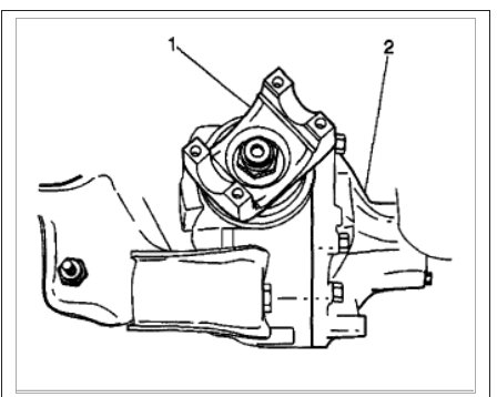
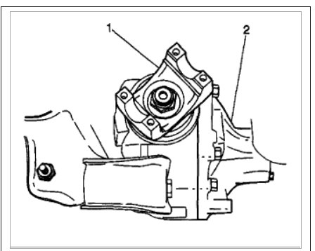
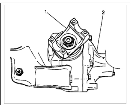
On my 1999 chey tahoe 4wd 5.7, I am trying to remove the front driveshaft to determine if my problem is in the front differential, after removing the front part, I can't get the driveshaft to slide forward. So the question is: how do I get it to slide forward?







