Caster and camber

Tiny
ANONYMOUS
  • MEMBER
  • 1999 CHEVROLET BLAZER
  • 200,000 MILES
How to adjust caster and camber on 1999 Chevrolet Blazer 4.3 L 2WD ?
Monday, March 18th, 2013 AT 8:11 PM

2 Replies

Tiny
CARADIODOC
  • MECHANIC
  • 34,468 POSTS
Here are instruction to adjust the camber and caster, check out the diagrams below.

Note: 99 blazers don't use shims. They use eccentric bolts.

IMPORTANT: Before you adjust caster and camber angles, raise and release the front bumper. Do this twice in order to allow the vehicle to return to a normal height. Refer to Wheel Alignment Specifications.

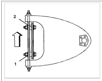
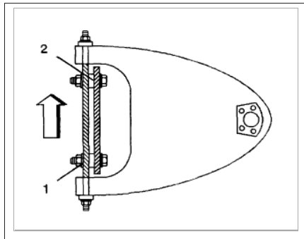
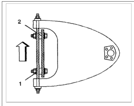
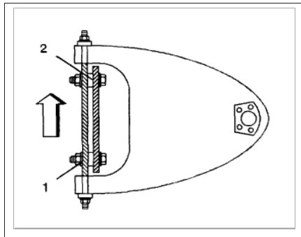
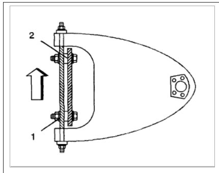
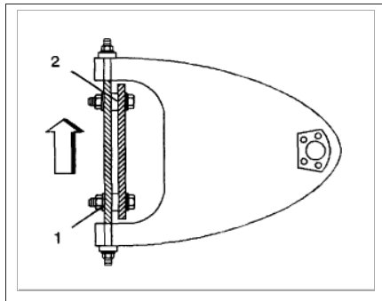
Adjust the caster and the camber by incarcerating shims between the upper control arm shaft and the frame bracket. Add shims or subtract shims or transfer shims in order to change the readings.
In order to adjust the caster and the camber, loosen the upper control arm shaft-to-frame nuts (1). Add shims or remove shims (2) as required. Tighten the nuts. Check the toe after you change the caster and the camber.
Caster - Transfer the shims from front to rear or from rear to front. The transfer of one shim from the rear bolt to the front bolt decreases positive caster.

Camber - Change the shims at the front and the rear of the cross shaft. Add an equal number of shims at the front and the rear of the cross shaft. This decreases positive camber.
A normal shim pack will leave at least two threads of the bolt exposed beyond the nut (1). The difference between the front shim pack and the rear shim pack must not exceed 10 mm (0.40 inch). If you cannot meet these requirements, check for damage to the control arms and to related parts.
Tighten the nut on the thinner shim pack first. This improves the shaft-to-frame clamping force. This also improves torque retention.

Check out the diagrams (below). Please let us know if you need anything else to get the problem fixed.

Cheers
Was this
answer
helpful?
Yes
No
+2
Monday, March 18th, 2013 AT 9:37 PM
Tiny
ASEMASTER6371
  • MECHANIC
  • 52,796 POSTS
Good evening,

The previous answer was confusing and I wanted to help you understand.

The instructions and illustrations are correct but the first part about not using shims is incorrect. This truck uses shims to change the caster and camber readings to factory specs.

Roy
Was this
answer
helpful?
Yes
No
+1
Friday, September 25th, 2020 AT 2:05 PM

Please login or register to post a reply.