Saturday, December 10th, 2011 AT 4:38 PM
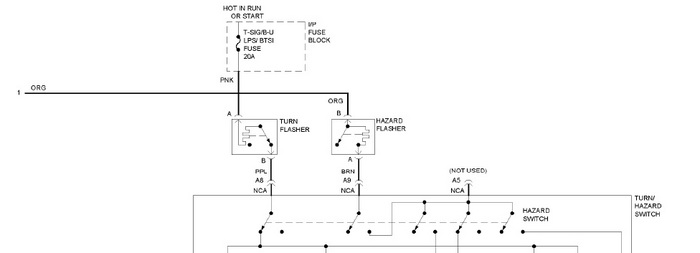
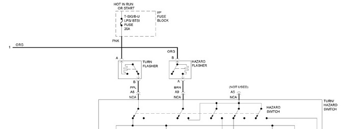
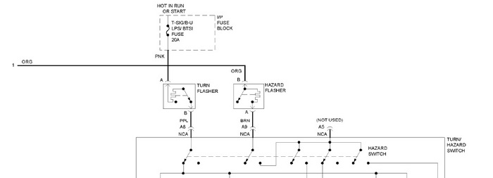
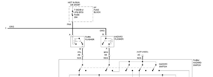
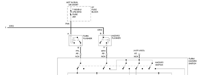
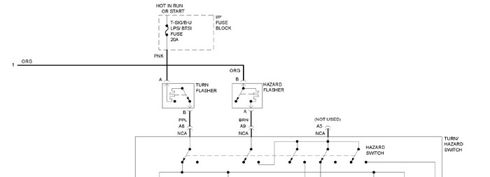
My emergency flashers work but not the blinker/turn indicators on the outside of the vehicle to turn right or left. The turn indicators on the dash do not work also. Is there a fuse or relay that needs to be replaced?


