what should I look for when error codes are PO750 and PO700

1998 MITSUBISHI ECLIPSE
185,000 MILES
Avatar
TILOCO
  • MEMBER
  • 2 POSTS
Car will not shift out of second gear. (auto trans). Actron scanner reads codes PO700 (trans control system), and PO750 (shift solenoid error). Thanks, Tim
Dec 30, 2011 at 10:34 PM
Repair Safety Notice: This information is for general instructional purposes only. Vehicle repair can be dangerous. Verify all information, follow manufacturer service procedures, use proper tools and safety equipment, and consult a qualified repair shop when needed.
Advertisement
Avatar
RIVERMIKERAT
  • CAR REPAIR CONTRIBUTOR
  • 6,110 POSTS
P0700-TCM shutdown. Kaputskie.
P0750-Low reverse solenoid.
P0700- Clear it and retest. If nothing, no worries. If the code comes back, replace transmission control module.
P0750-Failed pressure switch. Open/shorted. Low -reverse solenoid harness, Open TCM ground circuit. TCM failure.
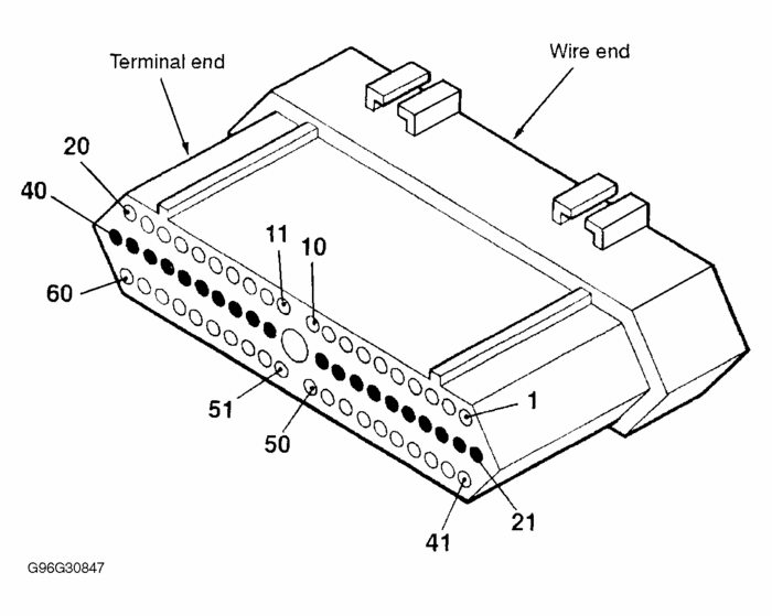
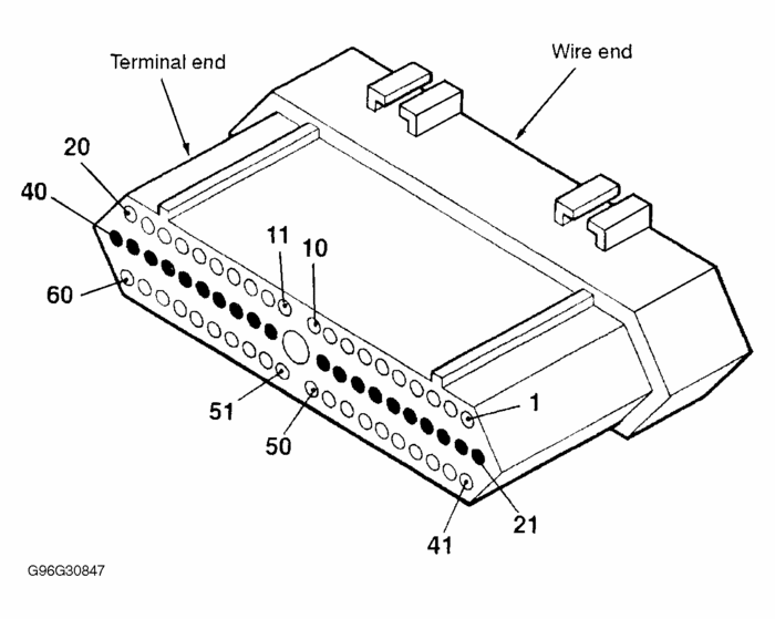
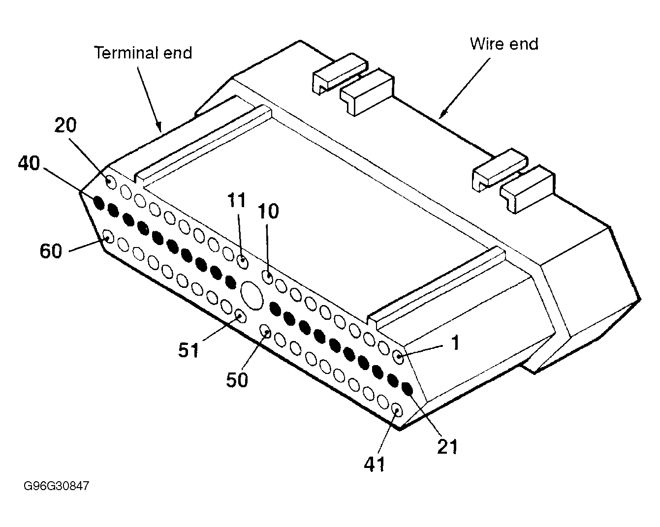
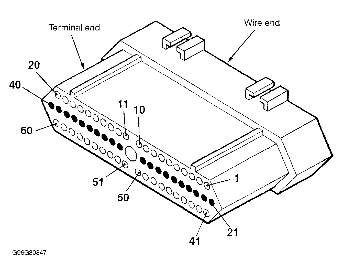
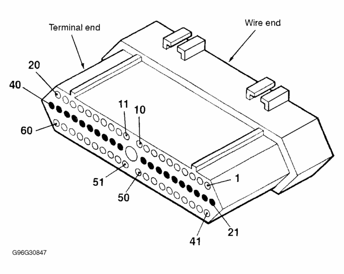
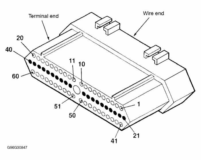
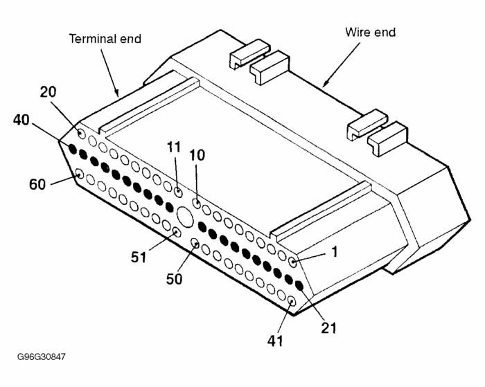
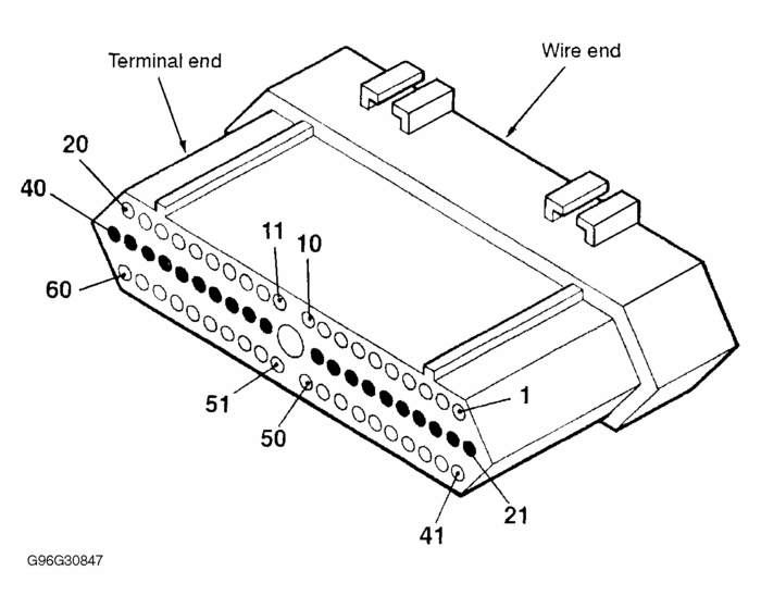
DIAGNOSIS - F4AC1 -1998 Mitsubishi Eclipse GS
Page 1 of 1
DTC 41/P0750: LOW-REVERSE SOLENOID

1.
Disconnect TCM connector. Using ohmmeter, measure resistance between TCM connector terminal No. 60 and ground. See Fig. 6 . If resistance is less than 5 ohms, go to step 4 . If
resistance is more than 5 ohms, disconnect solenoid and pressure switch assembly connector. Measure resistance between solenoid and pressure switch assembly connector terminal No. 4 and
ground. See Fig. 9 . If resistance is less than 5 ohms, go to next step. If resistance is more than 5 ohms, check and repair solenoid and pressure switch assembly connector. If connector is okay,
replace solenoid and pressure switch assembly.
3. Check wiring harness between TCM connector and solenoid and pressure switch assembly connector. If wiring harness is okay, recheck trouble codes. If trouble code resets, replace TCM.
Measure resistance between TCM connector terminals No. 56 and No. 60. If resistance is not 1.0- 3.0 ohms, go to next step. If resistance is 1.0-3.0 ohms, measure resistance between TCM
connector terminals No. 13 and No. 17. If resistance is more than 5 ohms, check wiring harness between TCM connector and ground. If resistance is less than 5 ohms, check TCM connector. If
connector is okay, replace TCM.
Disconnect solenoid and pressure switch assembly connector. Measure resistance between TCM connector terminal No. 60 and solenoid and pressure switch assembly connector terminal No. 4.
See Fig. 6 and Fig. 9 . If resistance is less than 5 ohms, go to next step. If resistance is more than 5 ohms, check and repair wiring harness between TCM connector and solenoid and pressure switch
assembly connector.
Remove transaxle relay from connector. Measure resistance between transaxle relay connector terminal No. 8 and solenoid and pressure switch assembly connector terminal No. 6. If resistance
is more than 5 ohms, check and repair wiring harness between transaxle relay connector and solenoid and pressure switch assembly connector. If resistance is less than 5 ohms, replace
solenoid and pressure switch assembly.
Dec 30, 2011 at 10:41 PM
Advertisement
Avatar
RIVERMIKERAT
  • CAR REPAIR CONTRIBUTOR
  • 6,110 POSTS
second image fail.
Dec 30, 2011 at 10:42 PM
Avatar
TILOCO
  • MEMBER
  • 2 POSTS
Thanks RMR for the ton of info! I assume the TCM is under the dash? I will start at the TCM. Do you know if the TCM is a dealer item, it does not come up at either Advance or Napa sites. Thanks again, Tim
PS, car was moving at about 40mph and suddenly downshifted into 2nd. Reverse and low work fine. It is a Florida car in very good shape so I don't suspect the harnesses. (although it does have 180,000 miles.
Dec 30, 2011 at 11:20 PM
Avatar
RIVERMIKERAT
  • CAR REPAIR CONTRIBUTOR
  • 6,110 POSTS
My pleasure. Happy to be able to help.
See image for TCM location.
Dec 30, 2011 at 11:30 PM