Ignition timing?

Tiny
S-SCHOP1
  • MEMBER
  • 1998 CHEVROLET TRUCK
  • V8
  • 2WD
  • AUTOMATIC
I replaced the head gaskets and now it starts and runs but runs a little rough and keeps setting the code p1345. Is there a trick or procedure to getting the distributor into position?
Wednesday, January 19th, 2011 AT 8:12 PM

12 Replies

Tiny
KHLOW2008
  • MECHANIC
  • 41,814 POSTS
BASE TIMING
The distributor ignition system has no provision for timing adjustment. The base timing is preset when the engine is manufactured and no adjustment is possible.

The distributor may need adjusting to prevent crossfire.

Refer to Camshaft Retard Offset Adjustment See: Ignition Timing > Adjustments > Camshaft Retard Offset Adjustment

Ignition timing can only be changed by reprogramming the PCM using Techline Information System 2000 (TIS 2000) PC, and the Tech 2 scan tool. Please contact your dealer for necessary updates and procedures.

Installing distributor.

CAUTION:If the malfunction indicator lamp is turned on after installing the distributor, and a DTC P1345 is found, the distributor has been installed incorrectly.

1. Position No. 1 cylinder to Top Dead Center (TDC) of the compression stroke.

2. Align white paint mark on the bottom stem of the distributor, and the pre-drilled indent hole in the bottom of the gear (3 in illustration). See Fig. 9.

3. With the gear in this position, the rotor segment should be positioned as shown (2 in illustration). See Fig. 9. The alignment will not be exact. If the driven gear is installed incorrectly, the dimple will be approximately 180 degrees opposite the rotor segment when it is installed in the distributor.

NOTE:
The OBD II ignition system distributor driven gear and rotor can be installed in multiple positions. In order to avoid mistakes, make sure to mark the distributor in the following positions:

†The distributor driven gear.
†The distributor shaft.
†The rotor holes for the same mounting position upon reassembly.

Installing the driven gear 180 degrees out of alignment, or locating the rotor in the wrong holes, will cause a no-start condition. Premature engine wear or damage may result.

4. Using a long screw driver, align the oil pump drive shaft to the drive tab of the distributor.

5. Guide the distributor into the engine. Ensure the spark plug towers are perpendicular to the centerline of the engine.

6. Once the distributor is properly seated, the rotor segment should be aligned with the pointer cast into the distributor base. The pointer must have an "8" cast onto it (a "6" indicates a V6 engine component). See Fig. 10. If the segment does not come within a few degrees of the pointer, the gear mesh between the distributor and the camshaft may be off a tooth or more. If this is the case, repeat the procedure again in order to achieve proper alignment.

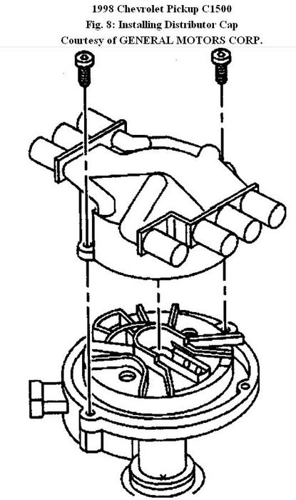
7. Install the distributor mounting clamp. Tighten the distributor clamp bolt to 18 ft. Lbs. (25 N.M). Install the distributor cap.

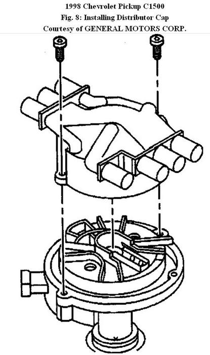
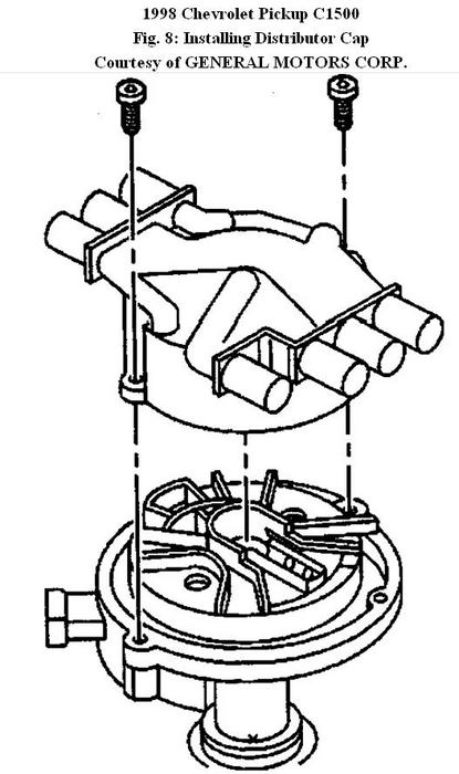
8. Install the New distributor cap screws. Tighten the screws to 21 INCH lbs. (2.4 N.M). See Fig. 8.

9. Install the electrical connector to the distributor. Install the spark plug wires to the distributor.
Was this
answer
helpful?
Yes
No
+8
Thursday, January 20th, 2011 AT 2:29 PM
Tiny
TORY
  • MEMBER
  • 1 POST
  • 1994 CHEVROLET TRUCK
Trying to set the base timing on a 94 Chev Cheyenne. What color is the wire that I disconnect and where is it located?
Was this
answer
helpful?
Yes
No
+1
Sunday, January 5th, 2020 AT 6:31 PM (Merged)
Tiny
LOSONE
  • MECHANIC
  • 1,616 POSTS
It is brown with a black connector located on the right side of the firewall. Sometimes they move it so look around for that kind of wire. They sometimes "hide" it in the center of the large wire loom on the firewall. Good Luck
Was this
answer
helpful?
Yes
No
Sunday, January 5th, 2020 AT 6:31 PM (Merged)
Tiny
JIM CAMERON
  • MEMBER
  • 2 POSTS
  • CHEVROLET TRUCK
Hey there,

I'm working on a 1994 Chevy 1500 with a 5.7 TBI here's the deal it's my friends truck he has put all kinds of money in to it new motor all kinds of new controls the problem is this when the timing is set at o top dead center the motor sounds good when you plug in the ign. Bypass wire it will hardly run I hooked up to my scanner no codes I tested all input controls and dist. And all test good checked all wires plugs you name it I double checked it I swapped pcm with one I had but used the original prom same problem so here's the question does the prom control timing advance could the prom be the culprit?
Was this
answer
helpful?
Yes
No
+1
Sunday, January 5th, 2020 AT 6:31 PM (Merged)
Tiny
RASMATAZ
  • MECHANIC
  • 75,992 POSTS
The computer controls the ignition timing. When the ignition bypass wire is disconnected the PCM is not controlling the timing this is where you set timing then afterwards the computer takes over.

When you guys are adjusting the timing did you jumper the diagnostic connector A to B.
Was this
answer
helpful?
Yes
No
Sunday, January 5th, 2020 AT 6:31 PM (Merged)
Tiny
JIM CAMERON
  • MEMBER
  • 2 POSTS
No should I i have never had to do this before
Was this
answer
helpful?
Yes
No
-1
Sunday, January 5th, 2020 AT 6:31 PM (Merged)
Tiny
ACEITALL
  • MEMBER
  • 1 POST
  • 1991 CHEVROLET TRUCK
And I have recently re built it and now I am trying to start it but can't get it timed can you walk me through all the steps to time a engine
Was this
answer
helpful?
Yes
No
-1
Sunday, January 5th, 2020 AT 6:31 PM (Merged)
Tiny
MIKEYBDMAN
  • MECHANIC
  • 623 POSTS
First. Ensure that the timing marks on the crankshaft sprocket and camshaft sprocket are as close together as possible and lined up with the shaft centers.

Remove the number 1 spark plug.
Place finger over the number 1 spark plug hole and turn engine slowly until compression is felt.
Align timing mark on pulley to "0" on engine timing indicator.
Turn rotor to point to the 1 spark plug tower on the distributor cap.
If the distributor shaft will not drop down flush with the engine, it may be necessary to rotate the oil pump drive shaft to align it with the slot on the bottom of the distributor drive gear. Insert a screwdriver into the distributor hole in the engine and turn the oil pump drive shaft slightly to allow alignment.

Install the distributor.
Install the distributor hold-down clamp and retaining nut.
Install the distributor cap.
Connect the wiring harness connector at the side of the distributor cap.
Connect the negative battery cable.

Then.
If you have a Throttle Body configuration. Set timing under the following conditions:

Normal operating temperature.
Air cleaner installed.
A/C "OFF".
Transmission in neutral.
Disconnect SET TIMING connector (tan/black wire) located in harness close to distributor. DO NOT disconnect 4 wire connector at distributor.
Connect timing light and adjust as necessary by loosening hold down bolt and rotating distributor.
I show the timing to be "0", but there should be a lable under your hood to the specific timing to set the engine to.

Tighten hold down and recheck the timing.
Stop the engine and connect SET TIMING connector.
Clear ECM trouble code by disconnecting ECM power source.

Attached below is a diagram of the firing order and cylinder identification
Was this
answer
helpful?
Yes
No
+3
Sunday, January 5th, 2020 AT 6:31 PM (Merged)
Tiny
HECKERT78
  • MEMBER
  • 1 POST
  • 1989 CHEVROLET TRUCK
Electrical problem
1989 Chevy Truck V8 Four Wheel Drive Manual

i keep reading online about unpugging a black and tan wire to set it to base time so I can time my truck but I cant find this wire to unplug. I just need to find this wire any help would be greatly appericated. Thanks
Was this
answer
helpful?
Yes
No
Sunday, January 5th, 2020 AT 6:31 PM (Merged)
Tiny
PEAR69
  • MECHANIC
  • 1,482 POSTS
The wire is located in one of 2 places -- on the firewall, a little above and to the left of the distributer. It will be hanging out of a bundle of wires/or under the black dust cover that covers the terminal block (if you have one there). OR, it may be under the carpet on the passengers side of the cab. Peel the carpet back to find it. It is a single brown wire.
Was this
answer
helpful?
Yes
No
Sunday, January 5th, 2020 AT 6:31 PM (Merged)
Tiny
ED9455
  • MEMBER
  • 2 POSTS
  • 1983 CHEVROLET TRUCK
  • V8
  • 2WD
  • AUTOMATIC
  • 300,000 MILES
My 83 chevy PU died, I advanced? The timing by turning the distributor about 1/4 of the way counter clockwise and it ran raggedly with little power.
I replaced the timing chain ( lined up the arrow on camshaft gear and dot on crankshaft gear ) I put it back together but it still runs ragged, I think im 180 degrees off and firing on # 8 instead of #1. Can I just change the plug wires around to match the new timing or do I have to take it apart again?
Was this
answer
helpful?
Yes
No
Sunday, January 5th, 2020 AT 6:32 PM (Merged)
Tiny
DR LOOT
  • MECHANIC
  • 2,311 POSTS
Negative, but the engine back up on top dead Center (TDC) remove the distributor take a long screwdriver realign the oil pickups shaft, reinstall distributor with the rotor pointing at number one cylinder, reinstall distributor cap makes sure the rotor is pointing at number one, with the distributor loose and the ignition key on remove sparkplug number one wire, install a sparkplug hold it to ground, twists the distributor back-and-forth until the spark plug fires, get as close as you can on the twists to where it's sparks and that should be good enough for start up.
Was this
answer
helpful?
Yes
No
Sunday, January 5th, 2020 AT 6:32 PM (Merged)

Please login or register to post a reply.