HOME
ASK A QUESTION
REPAIR GUIDES
BECOME A MEMBER
LOG IN
Login with Facebook
OR
Remember me
NOT A MEMBER?
FORGOT PASSWORD?
CONTACT US
PRIVACY POLICY
TERMS AND CONDITIONS
☰
Home
Chevrolet
Malibu
Ignition
Coil
Location
1998 Chevy Malibu, 2.4 liter
PAUL PERRY
MEMBER
1998 CHEVROLET MALIBU
4 CYL
FWD
AUTOMATIC
Where is the coil pack?
Thursday, November 18th, 2010 AT 3:16 PM
2 Replies
DOCFIXIT
MECHANIC
18,828 POSTS
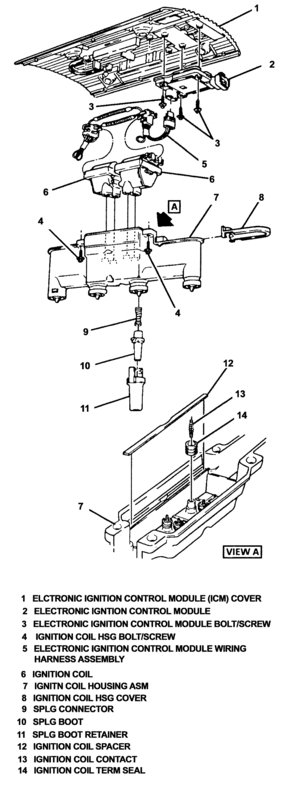
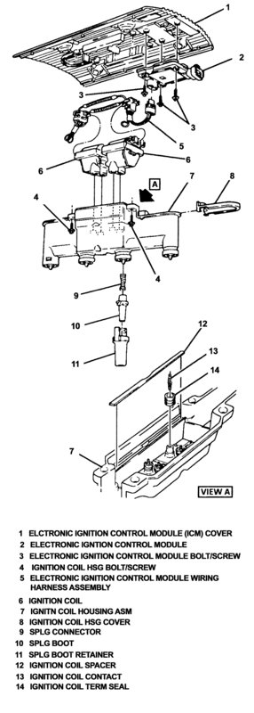
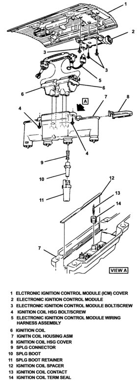
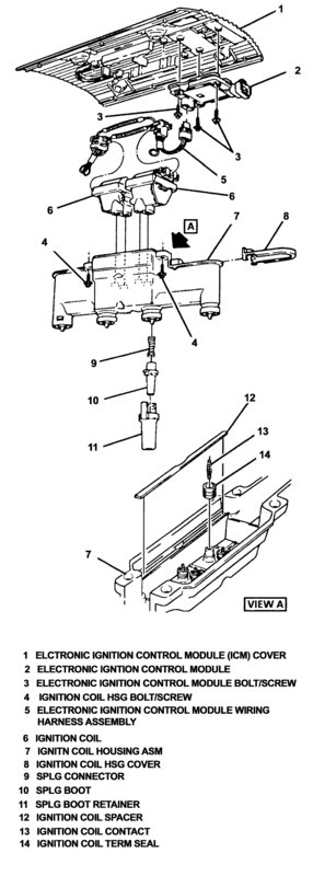
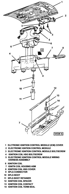
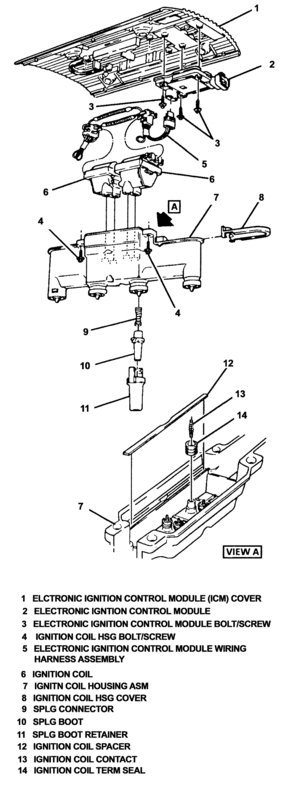
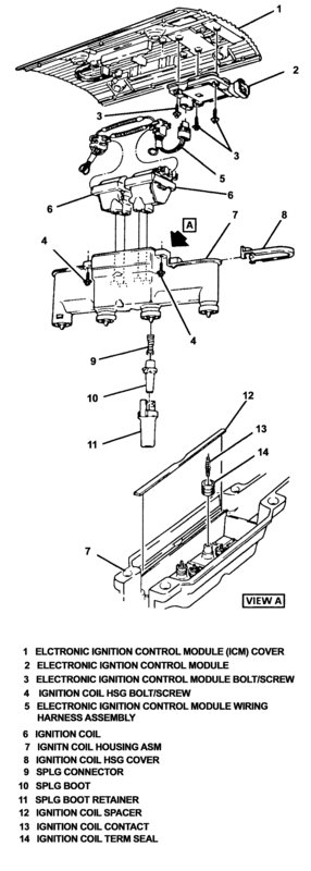
Remove cam cover top engine think 4 bolts. Pull up remove from car coli on underside remove 4 screws
Was this
answer
helpful?
Yes
No
+1
Thursday, November 18th, 2010 AT 3:27 PM
WRENCHTECH
MECHANIC
20,761 POSTS
See attached picture
Image (Click to make bigger)
Was this
answer
helpful?
Yes
No
+1
Thursday, November 18th, 2010 AT 3:30 PM
Please
login
or
register
to post a reply.
Related Ignition Coil Location Content
Coil Pack Replacement Follow Up
Hi And Thanks: The Car Stalls Once The Engine Reaches Normal Operating Temp. So I Have To Keep My Feet On The Brake And Gas Peddle When I...
Asked by
ez121
·
1 ANSWER
1997
CHEVROLET MALIBU
2001 Chevy Malibu
My Car Just Completely Shuts Off. I Can Be Driving And The Gauges Starts Jumping And It Shuts Off No Matter What Speed I'm Driving. I Have...
Asked by
Agales24
·
2 ANSWERS
2001
CHEVROLET MALIBU
Car Has No Spark
I Have A 2006 Chevy Malibu. It Cranks But Will Not Tun Over. I Know Its Getting Gas. How Do I Check For A Spark?
Asked by
robert c12-34
·
10 ANSWERS
3 IMAGES
2006
CHEVROLET MALIBU
2005 Chevrolet Malibu Coils Stuck In Spark Plug
The Coils Will Not Come Out Of The Spark Plug Holes. Is There A Fix Someone Knows?
Asked by
jjmounds02
·
4 ANSWERS
2005
CHEVROLET MALIBU
Motor/ Spark Plug
I Have A 78 Malibu With A 305 5.7l V8. After About An Hour Of Driving The Motor Would Start Running Rough Upon Inspection Of The Motor I...
Asked by
ReaperPaul
·
2 ANSWERS
1978
CHEVROLET MALIBU
VIEW MORE
Ask a Car Question. It's Free!
Tune up
Crankshaft Sensor Symptoms
Crankshaft Sensor Replacement