Ignition key

Tiny
DAKPHOALY
  • MEMBER
  • 1998 CHEVROLET LUMINA
Is there anywhere else besides the Chevy dealership that makes ignition keys with a chip on it? I have a 98 Chevy lumina.

Thank you for your help.
Wednesday, July 31st, 2013 AT 9:55 AM

56 Replies

Tiny
HMAC300
  • MECHANIC
  • 48,601 POSTS
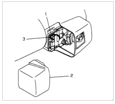
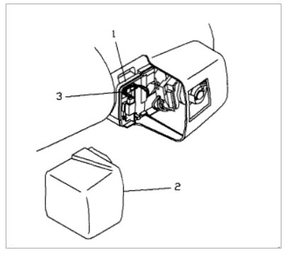
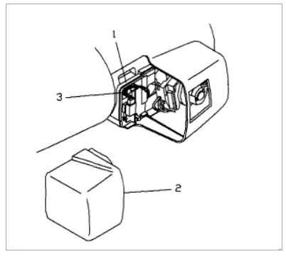
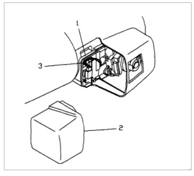
The dealership is the only place that can do keys. Here are diagrams below to show you how the change the ignition tumbler out.

Check out the diagrams (Below). Please let us know if you need anything else to get the problem fixed.

Cheers
Was this
answer
helpful?
Yes
No
-3
Thursday, August 1st, 2013 AT 6:17 AM
Tiny
BARBARAR1954
  • MEMBER
  • 2 POSTS
  • 1998 CHEVROLET LUMINA
  • 6 CYL
  • FWD
  • AUTOMATIC
  • 14,400 MILES
I have a 1998 chevy lumina and I can't get the car to turn over but I have lights and so I know its not the battery and put new starter the security light blinks when key is on and will not go off keeps blinking is it the chip on my key or what
Was this
answer
helpful?
Yes
No
+1
Monday, October 1st, 2018 AT 11:44 AM (Merged)
Tiny
PEAR69
  • MECHANIC
  • 1,482 POSTS
Your car has a passlock problem. Passlock is a factory security system, and the security light is the indicator of a problem.
Try this to get the car started--turn the key on but do not try to start the engine. After about 10 minutes the security light will stop blinking -- this indicates that the passlock system is on by-pass. Turn the key off for 6 seconds. Then try to start the engine. It should start.
The passlock problem is most likely a bad resistor in the ignition switch but you should take the car to the dealer so they can test the passlock system.
Was this
answer
helpful?
Yes
No
+1
Monday, October 1st, 2018 AT 11:44 AM (Merged)
Tiny
BARBARAR1954
  • MEMBER
  • 2 POSTS
I tries that but the security light would not stop blinking I left it on for almost an hour
Was this
answer
helpful?
Yes
No
Monday, October 1st, 2018 AT 11:44 AM (Merged)
Tiny
PEAR69
  • MECHANIC
  • 1,482 POSTS
 If you cannot bypass the passlock then there is a malfunction in the system. This usually requires a trip to the dealer or a mechanic that has a tech 2 scan tool (or equivalent). Try changing the battery in your key, but that is a shot in the dark.  Keep me posted.
Was this
answer
helpful?
Yes
No
Monday, October 1st, 2018 AT 11:44 AM (Merged)
Tiny
TIANBOON
  • MEMBER
  • 2 POSTS
  • 1994 CHEVROLET LUMINA
  • 6 CYL
  • FWD
  • AUTOMATIC
  • 300,000 MILES
Unable to turn the ignition either way and the position of the broken piece is not line up with the lock position.

Remove the steering wheel, removed up to the SIR coil after that under this there is a slotted disc with a spring locking bolt, I believe it is the steering lock mechanism, my question is how to remove this locking plate assembly? I am attempting to remove the sylinder and replace it with a new one.

Any suggestion will be great.

Tian.
Was this
answer
helpful?
Yes
No
Monday, October 1st, 2018 AT 11:44 AM (Merged)
Tiny
JDL
  • MECHANIC
  • 16,098 POSTS
The shaft lock is spring loaded, I can usually press down hard enough with my hand to access the retaining ring, Then use flat bladed screwdriver or something to work the retaining ring up out of the groove and off the end of the shaft. Because the retaining ring is split, you can work one side at at time. If you can't push shaft lock down far enough, they make a tool for that.


https://www.2carpros.com/forum/automotive_pictures/170934_lumina_steering_column_assembly_1.jpg

Was this
answer
helpful?
Yes
No
Monday, October 1st, 2018 AT 11:44 AM (Merged)
Tiny
TIANBOON
  • MEMBER
  • 2 POSTS
Thanks for the diagram, it seems my configuration is slightly different, on the diagram number 4 is a wave washer and number 6 is a retaining ring and mine is the other way around, the retaining ring is on number 4 and the wave washer is on number 6 and the "shaft lock" is solid it doesn't move, perhaps I ought to use a small puller?
Was this
answer
helpful?
Yes
No
Monday, October 1st, 2018 AT 11:44 AM (Merged)
Tiny
JDL
  • MECHANIC
  • 16,098 POSTS
I don't know, guess I'd have to look at it, the diagram is what my database showed? I'll look again.
Was this
answer
helpful?
Yes
No
Monday, October 1st, 2018 AT 11:44 AM (Merged)
Tiny
DARLAL
  • MEMBER
  • 3 POSTS
  • 1997 CHEVROLET LUMINA
  • 6 CYL
  • 4WD
  • AUTOMATIC
  • 205,000 MILES
Sometimes my car doesnt turn on or try to start nothing lights up when I turn the key is the chip bad in the key or some kind of sensor
Was this
answer
helpful?
Yes
No
Monday, October 1st, 2018 AT 11:44 AM (Merged)
Tiny
BLUELIGHTNIN6
  • MECHANIC
  • 16,542 POSTS
Have you tried spare key (if available)? If starts with spare key, destroy key that does not work and have another made. If does not start with spare key, replace ignition switch.

Thanks for using 2CarPros. Com!
Was this
answer
helpful?
Yes
No
+1
Monday, October 1st, 2018 AT 11:44 AM (Merged)
Tiny
DARLAL
  • MEMBER
  • 3 POSTS
I bought the car at a used car lot and it only had one key do you know where to get another one and what they cost
Was this
answer
helpful?
Yes
No
Monday, October 1st, 2018 AT 11:44 AM (Merged)
Tiny
BLUELIGHTNIN6
  • MECHANIC
  • 16,542 POSTS
Does your key have a black thick end on it? If so, you will have to go to local locksmith or local Chevrolet dealer to have the key cut and programmed, becuase it has a chip inside if it has black end. If it does not have chip then a locksmith can cut the key. A regular key usually costs around $5. A programmed key is much higher, usually around $150.
Was this
answer
helpful?
Yes
No
Monday, October 1st, 2018 AT 11:45 AM (Merged)
Tiny
DARLAL
  • MEMBER
  • 3 POSTS
Thanks and it has the black end
Was this
answer
helpful?
Yes
No
Monday, October 1st, 2018 AT 11:45 AM (Merged)
Tiny
BLUELIGHTNIN6
  • MECHANIC
  • 16,542 POSTS
No problem. You can also read our CAR REPAIR TROUBLESHOOTING page about this issue. You can find the link below..

https://www.2carpros.com/first_things/car_will_not_crank.htm

Perform all of those tests before purchasing anything. This will help save money by eliminating potential culprits so you don't end up buying parts that are not needing to be replaced.

Thanks for using 2CarPros.com!
Was this
answer
helpful?
Yes
No
Monday, October 1st, 2018 AT 11:45 AM (Merged)
Tiny
ATEAM TAXI
  • MEMBER
  • 3 POSTS
  • 1996 CHEVROLET LUMINA
  • 113,000 MILES
I get all the whistle and bell and motor turns and I got spark, I got ground to all the relays and fuses but no positive curent I replace fuel pump filter and relay to fuel pump but it just wont fire. I have no positive with the key on.
Was this
answer
helpful?
Yes
No
Monday, October 1st, 2018 AT 11:45 AM (Merged)
Tiny
ASEMASTER6371
  • MECHANIC
  • 52,796 POSTS
I would check the fuel pressure. It sounds like you have a failed fuel pump.

Roy
Was this
answer
helpful?
Yes
No
Monday, October 1st, 2018 AT 11:45 AM (Merged)
Tiny
ATEAM TAXI
  • MEMBER
  • 3 POSTS
Hey roy thanks I did replace it and check the regulator but I have no positive current running to activate anything such as fuse or relays just ground.
Was this
answer
helpful?
Yes
No
Monday, October 1st, 2018 AT 11:45 AM (Merged)
Tiny
ASEMASTER6371
  • MECHANIC
  • 52,796 POSTS
You mean the gray wire at the fuel pump? If it does not have power, and it should for only 2 seconds with key on, check the fuse for the load side of the relay.

Roy
Was this
answer
helpful?
Yes
No
Monday, October 1st, 2018 AT 11:45 AM (Merged)
Tiny
ATEAM TAXI
  • MEMBER
  • 3 POSTS
I mean I have no power to any of the fuses or relay like no positive current. I have tested ever fuse relay but no positive current with the ignition key in on position.
Was this
answer
helpful?
Yes
No
Monday, October 1st, 2018 AT 11:45 AM (Merged)

Please login or register to post a reply.