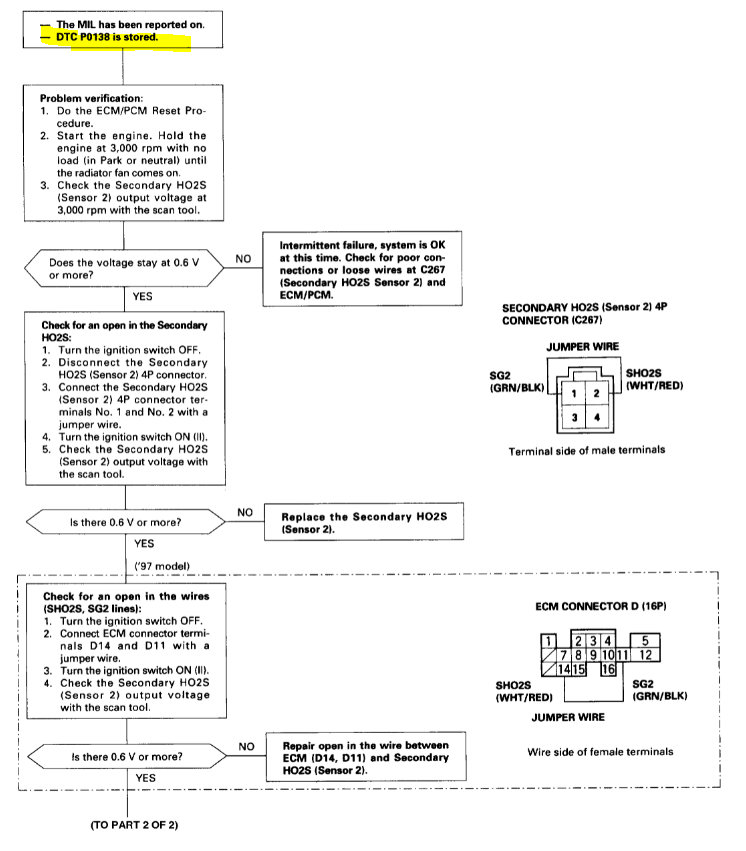
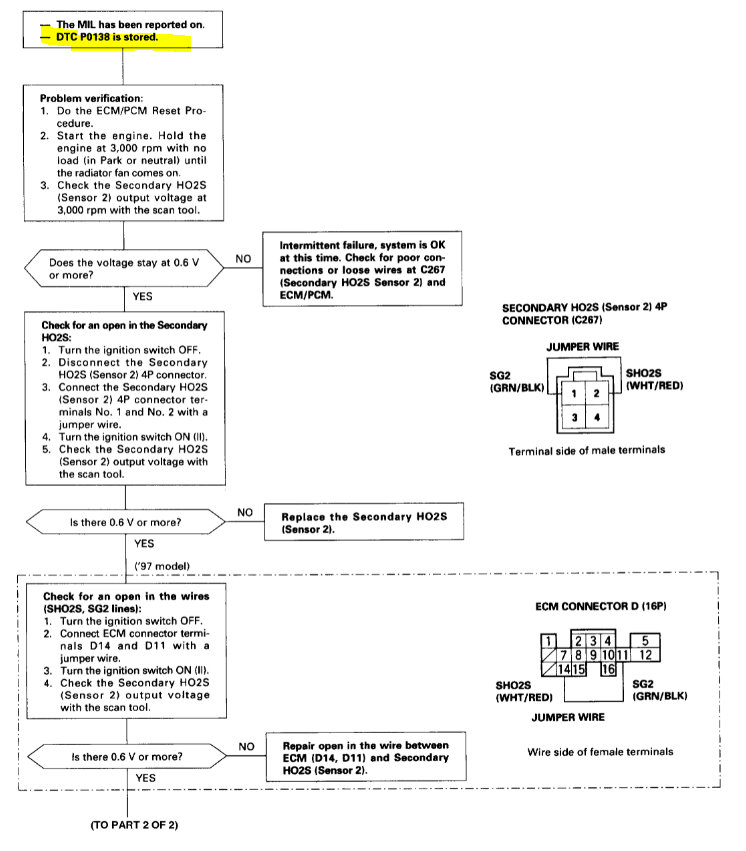
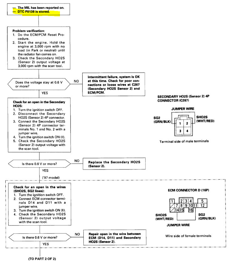
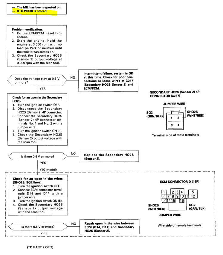
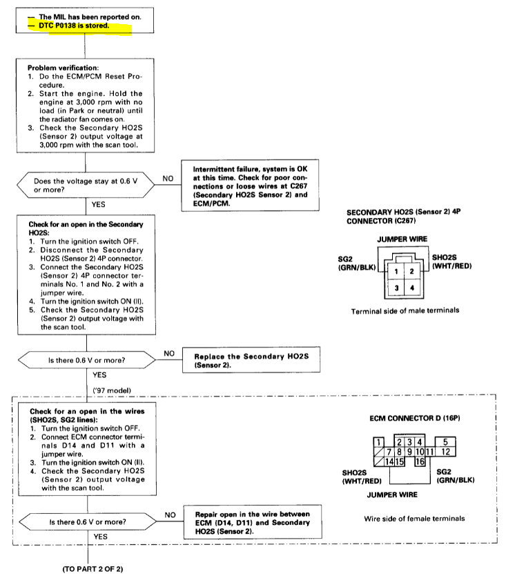
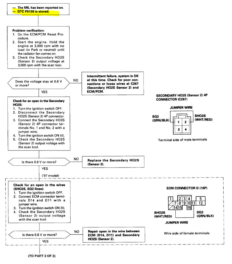
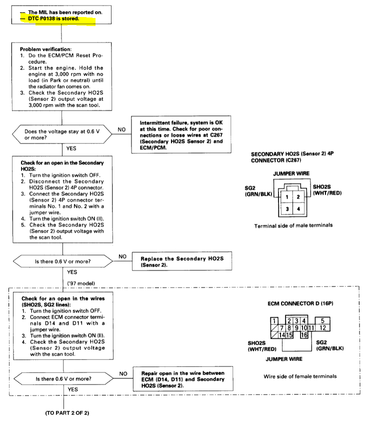
My car is throwing a P0138 O2 Sensor High Voltage (Bank 1 Sensor 2) CEL error code.
-Is "Sensor 2" the down-stream (post catalytic converter) oxygen sensor?
-Where is "Sensor 2" located?
-Would replacing the down-stream oxygen sensor fix this problem and get rid of the CEL?
I need to pass a emissions test and smog check ASAP. Any advice is greatly appreciated!
Thanks in advance,
Aaron
Saturday, October 22nd, 2011 AT 7:33 PM




