How do I remove the passenger side door panel 1996 Lexus es300

Tiny
GUNSHUFFLER0378
  • MEMBER
  • 1996 LEXUS ES
  • 177 MILES
Window will not move up or down
Monday, December 12th, 2011 AT 8:30 PM

1 Reply

Tiny
RASMATAZ
  • MECHANIC
  • 75,992 POSTS
DOOR INSIDE HANDLE (FRONT)
Removal
Remove the 3 screws. See Fig. 41.
Disconnect the 2 links from the handle.

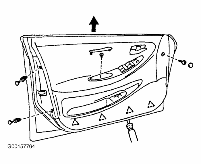
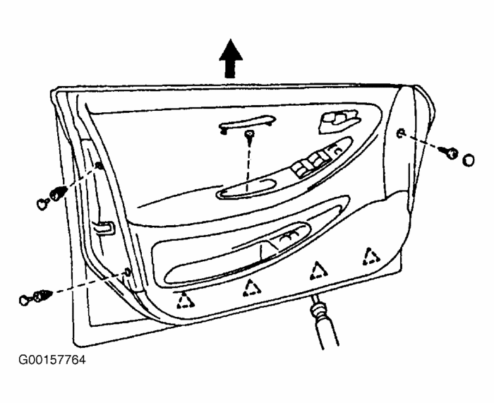
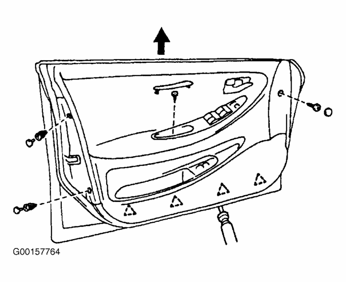
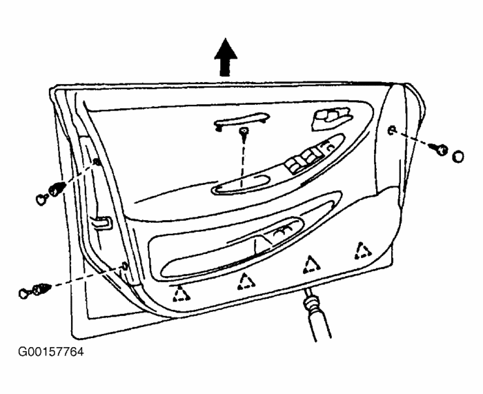
DOOR TRIM (FRONT)
Removal
Remove the cap and screw.
Remove the 2 cap and clips.
Remove the cap and screw.
Insert a screwdriver between the panel and door trim and remove the 4 clips.
NOTE:Tape the screwdriver tip before use.

Pull the trim upwards to remove it. See Fig. 43.

WINDOW REGULATOR
Removal
Remove the 8 nuts and regulator. See Fig. 50 and Fig. 55.
NOTE:Apply MP grease to the sliding surface and gears of the window regulator. See Fig. 51 and Fig. 56. Do not apply MP grease to the spring of the window regulator.

Disconnect the connector.
NOTE:The screws and cover plate can be used again.

To replace the regulator, (screw type) remove the 2 screws and remove the cover. See Fig. 52.
CAUTION:Do not damage the motor housing.

NOTE:Tape screwdriver tip before use.

NOTE:The cover plate is not reusable.

(Crimped type) Using a screwdriver, pry up the cover plate tab and remove the cover plate. See Fig. 53.
CAUTION:Do not use a screwdriver etc. To help remove them.

Remove the drum and wire guide from motor. See Fig. 54.
Was this
answer
helpful?
Yes
No
+3
Tuesday, December 13th, 2011 AT 2:31 AM

Please login or register to post a reply.