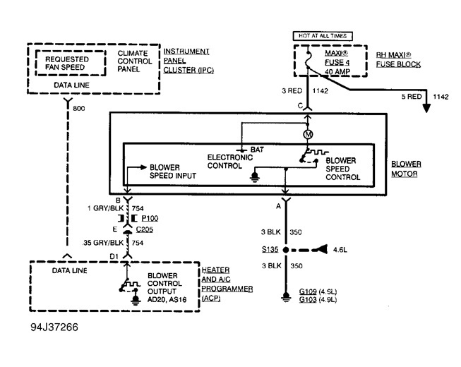
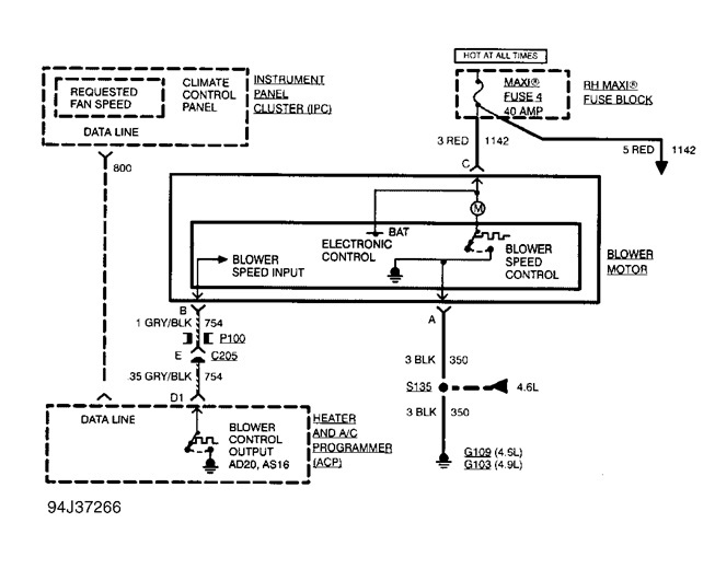
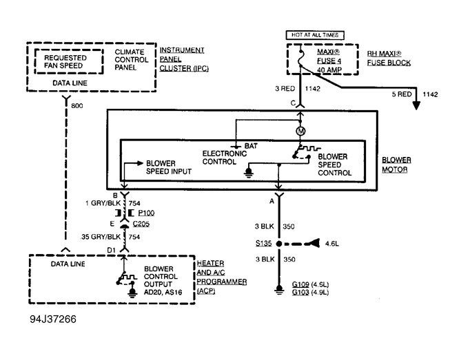
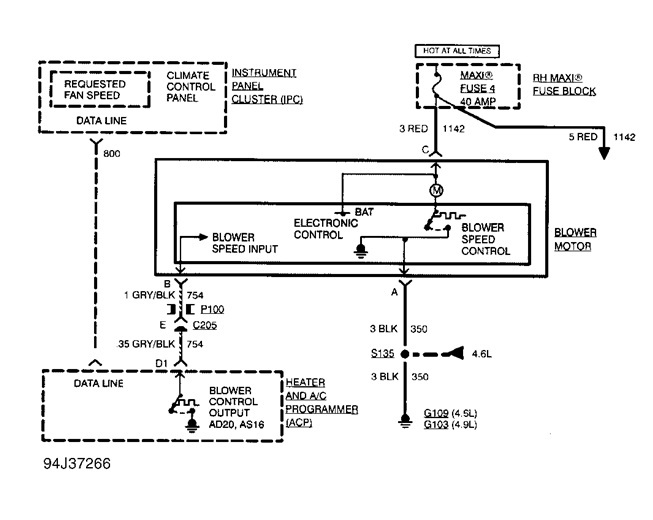
My a/c and heater will not come on the control panel lights up and it looks like its on but nothing happens could u tell me what may be the problem and is it exspen
sive
sive
Feb 13, 2013 at 12:54 AM
