Oil pump replacement

Tiny
DNCOOPER
  • MEMBER
  • 1994 OLDSMOBILE CUTLASS
  • 6 CYL
  • FWD
  • AUTOMATIC
  • 1,170,000 MILES
Replace 94 olds 3100 oil pump
Saturday, March 5th, 2011 AT 7:52 PM

1 Reply

Tiny
WRENCHTECH
  • MECHANIC
  • 20,761 POSTS
You will need to jack the car up to do the job.

https://www.2carpros.com/articles/jack-up-and-lift-your-car-safely

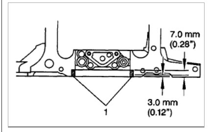
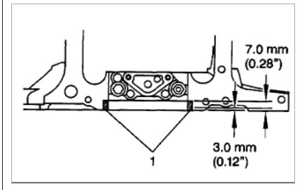
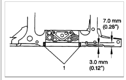
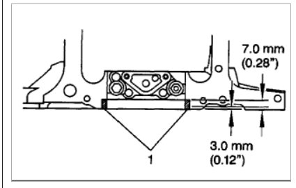
The oil pan has to be removed. here are the instructions.

1. Remove battery ground cable, then serpentine drive belt and tensioner.
2. Support vehicle using support fixtures tool Nos. J-28467-A and J-36462, or equivalent.
3. Raise and support vehicle, then drain engine oil from crankcase.
4. Remove right side wheel assembly, then right side splash shield.
5. Remove steering gear pinch bolt. Failure to disconnect intermediate shaft from rack and pinion stub shaft can result in damage to steering gear and/or intermediate shaft.
6. Remove transaxle mount retaining nut, then engine to frame mount nuts.
7. Remove front engine mount bracket from block, then outboard flywheel/starter plastic shield.
8. Remove inboard flywheel metal shield, then start.
9. Place jack stand under frame front center crossmember, then loosen rear frame bolts. Do not remove rear frame bolts.
10. Remove front frame bolts, then lower front of frame.
11. Disconnect DIS sensor wire, then remove oil pan retaining bolts.
12. Remove oil pan retaining nuts, then oil pan.
13. Reverse procedure to install. Tighten to specifications.

Remove oil pump mounting bolt, then the oil pump and drive rod.
Reverse procedure to install. Tighten bolts to specifications

Check out the diagrams (Below)

Please let us know if you need anything else to get the problem fixed.

Cheers
Was this
answer
helpful?
Yes
No
Saturday, March 5th, 2011 AT 9:51 PM

Please login or register to post a reply.