Monday, July 16th, 2012 AT 5:57 PM
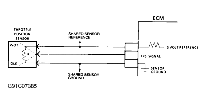
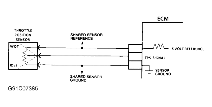
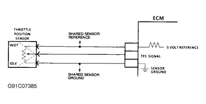
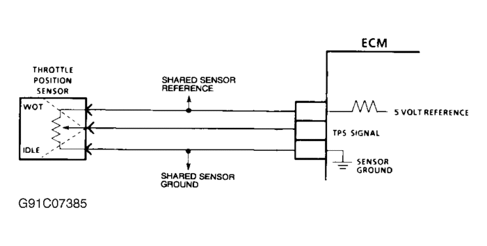
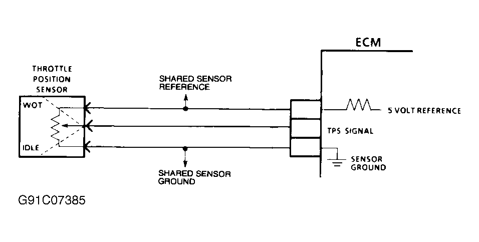
What could be causing an analyzer to read a dropping voltage from the throttle position sensor as the RPM increases? I have replaced the TPS three times and the PCM yet the analyzer still continues to say the TPS is bad and shows the voltage dropping as I increase the RPM. It doesn't shift until above 2500 RPM and then shifts very hard. It also is running 200 RPM faster than normal at highway speeds even though it is in OD.



