Speedo not working

Tiny
WILLIAM PICKERING
  • MEMBER
  • 1994 GMC SIERRA
  • V8
  • 2WD
  • MANUAL
  • 100,606 MILES
94 GMC 2500 350 5 SPEED, SPEEDO WONT WORK. REPLACED TRANSMISSION SENSOR. STILL WANT WORK. WERE IS THE OTHER SENSOR LOCATED AT. ALSO MY HEATER SWITCHES NOT WORKING FUSE IS GOOD. BUT NO LIGHTS AND NO FAN. When I installed the trans sensor I went to start the truck it rose just a little and went back down. Hasnt moved since.
Thursday, January 20th, 2011 AT 12:44 AM

8 Replies

Tiny
MERLIN2021
  • MECHANIC
  • 17,250 POSTS
So you changed the VSS on the transmission tailshaft? This is the correct method:Speedometer & Odometer Are Inaccurate

Replace VSS buffer.
Speedometer & Odometer Do Not Operate Properly

1. Unplug VSS buffer, located under passenger side end of instrument panel. Turn ignition on.
Check for battery voltage between harness connector Brown wire and ground. If battery
voltage exists, go to next step. If battery voltage does not exist, repair short or open in
Pink/Black wire.
2. Check for battery voltage between Brown wire and Black/White wire at harness connector. If
battery voltage exists, go to next step. If battery voltage does not exist, repair open in
Black/White wire.
3. Raise and support vehicle with drive wheels off ground. Start engine. Shift transmission to
Drive. Check for AC voltage between Purple/White and Light Green/Black wires of harness
connector.
4. Voltage should change as wheel speed increases or decreases. If AC voltage does not exist,
check for short or open in Purple/White and Light Green/Black wires. If wiring is okay, replace
vehicle speed sensor.
5. Turn ignition off. Reconnect VSS buffer. Start engine. Put transmission into gear. Backprobe
Blue/Black and Black/White wires at VSS buffer connector. If AC voltage varies with RPM
change, replace VSS buffer.
6. Backprobe Red/White and Black/White wires at VSS buffer connector. If AC voltage varies
with RPM change, replace VSS buffer. If all foregoing checks are okay, replace instrument
cluster.
Fig. 1: Identifying Instrument Cluster Connector Terminals
The pictures are for the plug on back of the instrument panel, if the above tests dont fix it.
Was this
answer
helpful?
Yes
No
+4
Thursday, March 10th, 2011 AT 7:28 PM
Tiny
MERLIN2021
  • MECHANIC
  • 17,250 POSTS
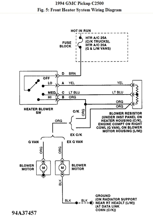
1. Disconnect Orange wire at blower motor. Connect test light between Orange wire at blower
motor connector and ground. If test light glows, go to next step. If test light does not glow,
check for open Orange wire between blower motor connector and blower resistor connector or
between blower resistor connector and blower switch connector. If Orange wire is okay, go to
step 3).
2. Connect test light between Orange wire and Black wire at blower motor connector. If test light
glows, replace blower motor. If test light does not glow, repair open Black wire between
blower motor connector and instrument panel ground connector.
3. Connect test light between Brown wire at blower switch and ground. If test light glows, go to
step 4). If test light does not glow, repair open Brown wire between blower switch connector
and fuse block. See WIRING DIAGRAMS.
4. Set blower switch to low, medium, or high speed position. Connect test light between ground
and blower switch wire associated with position of switch. Low speed position is Yellow wire,
medium speed position is Light Blue wire, and high speed position is Orange wire. If test light
does not glow, replace blower switch. If test light glows, repair open wire(s) between blower
switch and blower resistor.
Was this
answer
helpful?
Yes
No
+2
Thursday, March 10th, 2011 AT 7:29 PM
Tiny
MERLIN2021
  • MECHANIC
  • 17,250 POSTS
"when I installed the trans sensor I went to start the truck it rose just a little and went back down. Hasnt moved since."
What rose a little bit?
Was this
answer
helpful?
Yes
No
+1
Thursday, March 10th, 2011 AT 7:30 PM
Tiny
MERLIN2021
  • MECHANIC
  • 17,250 POSTS
Check the fuse and ground by the right front headlight.
Was this
answer
helpful?
Yes
No
-1
Thursday, March 10th, 2011 AT 7:33 PM
Tiny
DRIVER50
  • MEMBER
  • 3 POSTS
  • 2005 GMC SIERRA
  • 80,000 MILES
The speedometer has stopped working. It took a couple days to go bad. It would jump eradically during startup, then go normal. Then one day it pegged out, and hasn't worked since. Also, is this something I can chnage in my driveway and any special tools needed?

Thanks
Was this
answer
helpful?
Yes
No
-1
Wednesday, August 7th, 2019 AT 12:47 PM (Merged)
Tiny
JDL
  • MECHANIC
  • 16,098 POSTS
A vehicle speed sensor can effect shift points. Are you saying the vehicle tries to move when you start it? Is this automatic or manual?
Was this
answer
helpful?
Yes
No
Wednesday, August 7th, 2019 AT 12:47 PM (Merged)
Tiny
DRIVER50
  • MEMBER
  • 3 POSTS
This an automatic transmission. The vehicle does not try to move during startup. Is the dashboard speedometer simply a display of road speed, or does it interact with the transmission and affect shifting? I have a quote from one shop for $820 to replace the dashboard speedo, and informed that it has to be programmed.
Was this
answer
helpful?
Yes
No
Wednesday, August 7th, 2019 AT 12:47 PM (Merged)
Tiny
JDL
  • MECHANIC
  • 16,098 POSTS
If the shop has already diagnosed it. I'm not sure what to add?

The vss sends a signal to the pcm, the pcm sends a data signal to the ipc( instrument panel cluster )for speedometer. My first thought is to check the vss and wiring circuit, but, I can't do that from here.
Was this
answer
helpful?
Yes
No
Wednesday, August 7th, 2019 AT 12:47 PM (Merged)

Please login or register to post a reply.