Friday, February 11th, 2011 AT 6:03 PM
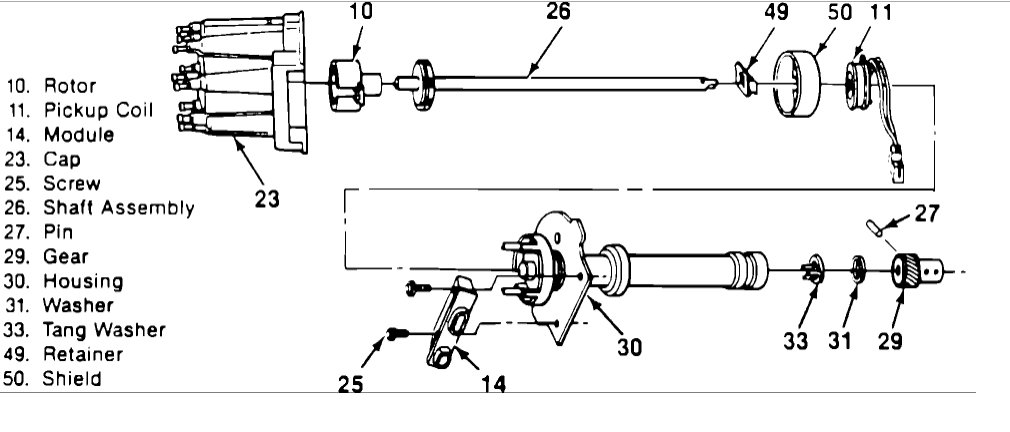
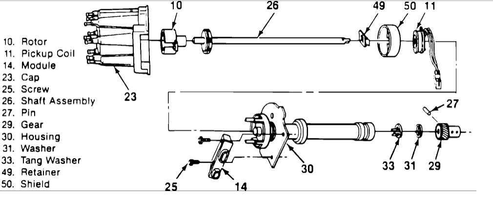
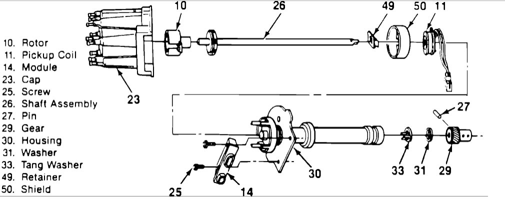
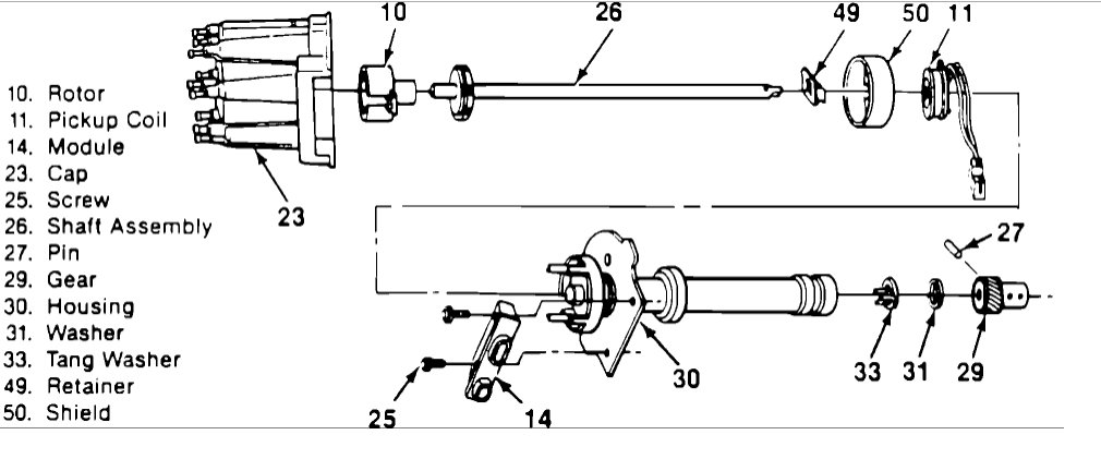
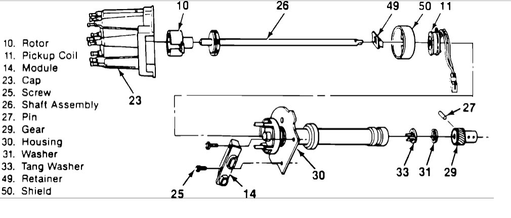
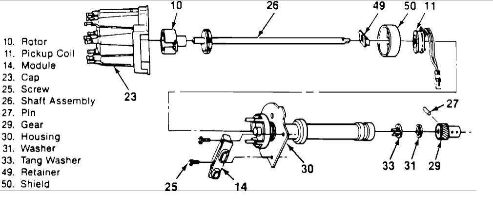
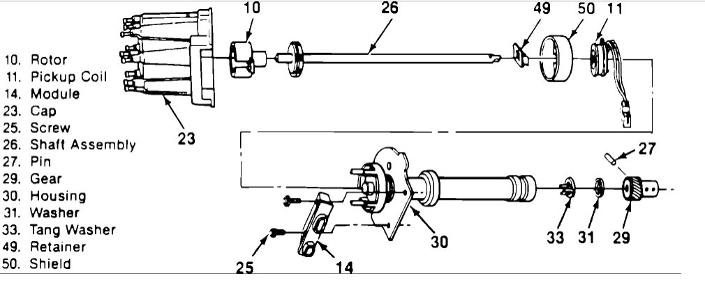
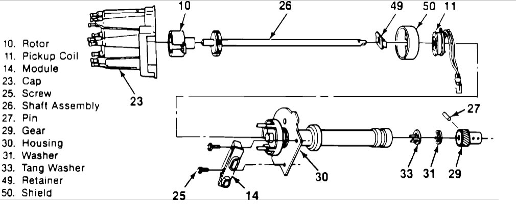
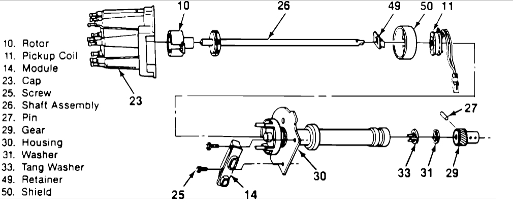
Everyone I have talked to says there is a Electronic Spark Control Module on my 1993 GMC Suburban. Some people say its by the throttle body, others say its on top of the heated core behind the glove box. I cannot find it anywhere. I have the 350 w/ coil, distributor, ignition control module inside the distributor. Any advice?



