1992 Lexus ES 300 right rear strut/shock absorber

Tiny
MICHAELNIK1973
  • MEMBER
  • 1992 LEXUS ES 300
  • 2.4L
  • 6 CYL
  • FWD
  • AUTOMATIC
  • 250,000 MILES
If I drive over a bump that would normally not even noticeable, there is a loud, hollow thud followed by rattling and sometime the wheel bounces like someone dribbling a basketball.
This problem is especially bad when it is cold or below freezing.
I think the strut is broken, how would I go about repairing it myself and what parts/tools would I need?
Saturday, February 8th, 2014 AT 9:03 AM

1 Reply

Tiny
HMAC300
  • MECHANIC
  • 48,601 POSTS
Remove rear side seat back and package tray trim. Raise and support vehicle. Disconnect load sensing proportional valve spring from lower arm. Disconnect stabilizer link from strut. Loosen 2 nuts on lower side of strut. Support rear axle carrier using jack. Remove 3 upper support nuts. Lower carrier. Remove 2 lower bolts. Remove strut from vehicle.
Mount strut assembly in vise. Compress coil spring using Spring Compressor (09727-30020). Remove strut assembly center nut. Remove suspension support, coil spring, upper insulator, bumper and lower insulator. Replace strut lower strut assembly as a complete unit only.
Installation (ES300)
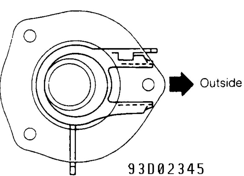
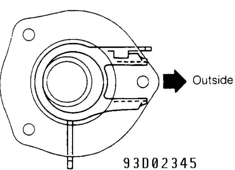
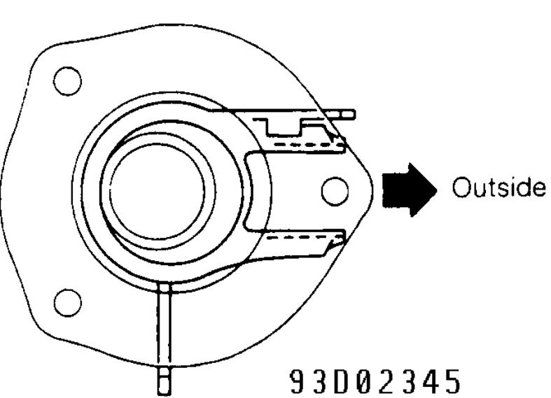
Align end of spring within lower spring seat. Install bumper and upper insulator. Install and align suspension support with mounting bracket. See Fig. 4. To complete installation, reverse removal procedure. Install rear wheels. Tighten nuts and bolts to specification. See TORQUE SPECIFICATIONS (ES300) table at end of article. Check wheel alignment. See SPECIFICATIONS & PROCEDURES article in the WHEEL ALIGNMENT Section
Was this
answer
helpful?
Yes
No
Saturday, February 8th, 2014 AT 10:27 AM

Please login or register to post a reply.