Engine stalling

Tiny
MCPHERSON1981
  • MEMBER
  • 1991 CHEVROLET ASTRO
  • 6 CYL
  • 2WD
  • AUTOMATIC
  • 205 MILES
A 91 chevy c1500 4.3 v6 that stalls out in gear and sounds like its idling low. Any possibilities on what could be wrong?
Monday, June 6th, 2011 AT 5:07 PM

7 Replies

Tiny
JDL
  • MECHANIC
  • 16,098 POSTS
How long since a tune-up? Any applicable mil codes? You can check those yourself. If it is only an idle issue, clean the throttle-body and idle air control.
Was this
answer
helpful?
Yes
No
Monday, June 6th, 2011 AT 5:49 PM
Tiny
MCPHERSON1981
  • MEMBER
  • 4 POSTS
Its not a astro van.I dont know how that got on there. Its a 4.3 v6 c 1500 pick up
Was this
answer
helpful?
Yes
No
+1
Monday, June 6th, 2011 AT 5:54 PM
Tiny
JDL
  • MECHANIC
  • 16,098 POSTS
I see, the info is still valid. Let us know.
Was this
answer
helpful?
Yes
No
Monday, June 6th, 2011 AT 6:04 PM
Tiny
MCPHERSON1981
  • MEMBER
  • 4 POSTS
It was just tuned up from the previous owner and he said it never did this until it was tuned up. Im thinkin the firing order is wrong
Was this
answer
helpful?
Yes
No
Monday, June 6th, 2011 AT 6:19 PM
Tiny
JDL
  • MECHANIC
  • 16,098 POSTS
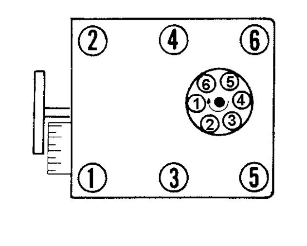
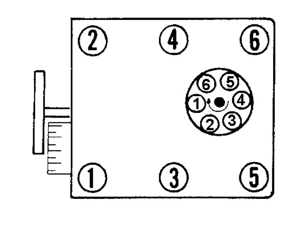
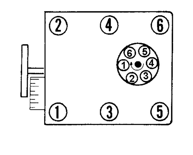
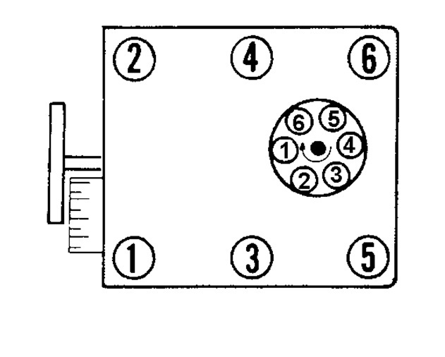
OK, below is the firing order.

165432
Was this
answer
helpful?
Yes
No
Monday, June 6th, 2011 AT 6:28 PM
Tiny
MCPHERSON1981
  • MEMBER
  • 4 POSTS
What a bout a bad valve or piston?
Was this
answer
helpful?
Yes
No
Monday, June 6th, 2011 AT 6:42 PM
Tiny
JDL
  • MECHANIC
  • 16,098 POSTS
If you think you have a dead cylinder, check for a dead cylinder. You kill the cylinders one at a time, quickly, If the cylinder you kill has very little or no effect on the idle rpms, that cylinder is dead or weak.

What about the firing order? You seemed to think that was the problem?
Was this
answer
helpful?
Yes
No
Monday, June 6th, 2011 AT 6:51 PM

Please login or register to post a reply.