Fuse

Tiny
JOHNH58
  • MEMBER
  • 1986 CADILLAC FLEETWOOD
How can you change the fuses on a 1986 fleetwood cadillac?
Friday, July 1st, 2011 AT 4:01 PM

3 Replies

Tiny
JOHNH58
  • MEMBER
  • 2 POSTS
I have a 1986 fleetwood cadillac and the fuse for the horn, power locks and inside lights has blown out. We can't get into the fuse box. It appears to be secured to the fire wall of the car. There is not much room to get your hand up there. It doesn't appear that you can pull the fuse box down. So if you can give me a diagram as to what fuse is for these accesories. I will try to go to that fuse blindly, because I can't actually see it.
Was this
answer
helpful?
Yes
No
Friday, July 1st, 2011 AT 4:18 PM
Tiny
DOCFIXIT
  • MECHANIC
  • 18,828 POSTS
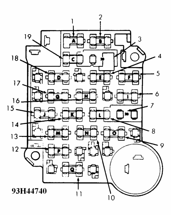
30 amp circuit breaker in position #7. Look for a lever on fuse box box should swing down
Was this
answer
helpful?
Yes
No
+4
Friday, July 1st, 2011 AT 5:41 PM
Tiny
CADIEMAN
  • MECHANIC
  • 3,544 POSTS
U will need a pen light and a test light to probe the fuses. The body fuse is blown. Use the test light to pry out blown fuses. Check the cig. Lighter for coins or something blowing the fuse like pluging in cell phones. Ltr
Was this
answer
helpful?
Yes
No
+2
Friday, July 1st, 2011 AT 5:51 PM

Please login or register to post a reply.