Engine

Tiny
LEROY
  • MEMBER
  • 1981 CHEVROLET IMPALA
  • 6 CYL
  • 2WD
  • AUTOMATIC
  • 122,438 MILES
Engine light com's on whta couldt it be
Wednesday, April 13th, 2011 AT 11:46 AM

10 Replies

Tiny
DWB812
  • MECHANIC
  • 108 POSTS
A great many things. Have the codes read and find out what the specific problem is. There are a number of code readers available through parts stores if you want one of your own. They are expensive so if you don't do this alot hire it done by a local shop or the dealer. There is no other way to find out where to start.
Was this
answer
helpful?
Yes
No
Wednesday, April 13th, 2011 AT 11:08 PM
Tiny
LEROY
  • MEMBER
  • 5 POSTS
The engine light is on I think a year and a half now, engine runs fine turn the key and it starts.
No blue smoke out of the exaust accelerate's fine.
I read that this type of engine has a lot of vacuum hoses, my first thougt is that one of these hoses has disconnected from his original place.
Couldt some one tell me where these hoses are placed.

Is it possible to read out the engine like the models of to day (by computer).
Was this
answer
helpful?
Yes
No
Thursday, April 14th, 2011 AT 7:31 PM
Tiny
JDL
  • MECHANIC
  • 16,098 POSTS
I saw LD5 shows a computer. Do you have a data link connector along lower edge of dash?
Was this
answer
helpful?
Yes
No
Monday, June 6th, 2011 AT 5:56 PM
Tiny
JDL
  • MECHANIC
  • 16,098 POSTS
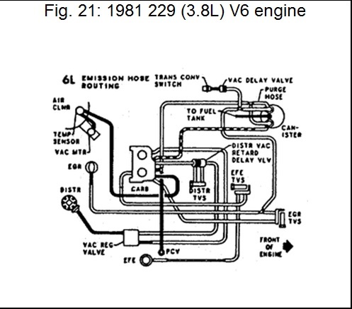
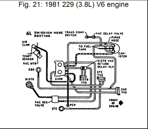
Vacuum diagram below.
Was this
answer
helpful?
Yes
No
Monday, June 6th, 2011 AT 6:00 PM
Tiny
LEROY
  • MEMBER
  • 5 POSTS
Hello JDL thanks for your replay within a week or two after my holiday i'am going to pick up the car.
In the mean time I orderd a Haynes manuel for the impala but it did not arrived yet.
But I let you now what the problem is (was).
Was this
answer
helpful?
Yes
No
Tuesday, June 7th, 2011 AT 6:28 PM
Tiny
JDL
  • MECHANIC
  • 16,098 POSTS
I hope you get everything going your way. Have a good day.
Was this
answer
helpful?
Yes
No
Tuesday, June 7th, 2011 AT 6:38 PM
Tiny
LEROY
  • MEMBER
  • 5 POSTS
Thank you very much JDL have a good day your self.
Was this
answer
helpful?
Yes
No
Tuesday, June 7th, 2011 AT 6:57 PM
Tiny
JDL
  • MECHANIC
  • 16,098 POSTS
I'll try.
Was this
answer
helpful?
Yes
No
Tuesday, June 7th, 2011 AT 7:01 PM
Tiny
LEROY
  • MEMBER
  • 5 POSTS
Jdl you now some adresses in the states where I van buy nice rims not to much max 16 inch.
I'am surching for a set but I cannot find what I want.
(websites where I can order tyres and rims)
dollar is on the low side thats why.
My day is almost over so bring me the sun back for tommorow ok.
Was this
answer
helpful?
Yes
No
Tuesday, June 7th, 2011 AT 7:36 PM
Tiny
JDL
  • MECHANIC
  • 16,098 POSTS
I don't know much about rims. All I can do is search the web, like you.
Was this
answer
helpful?
Yes
No
Tuesday, June 7th, 2011 AT 8:00 PM

Please login or register to post a reply.