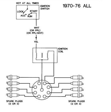
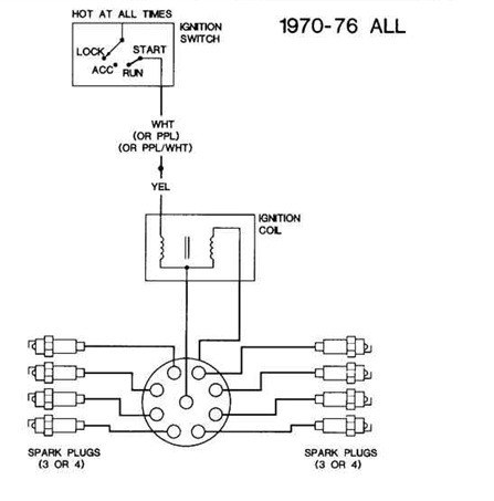
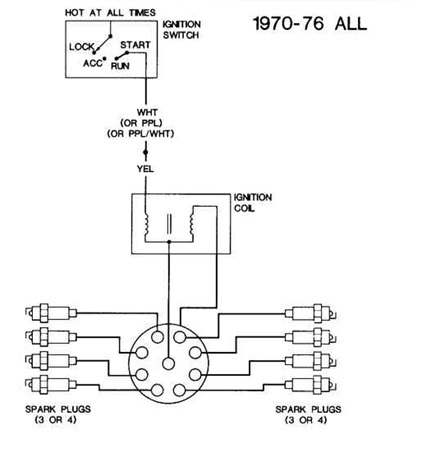
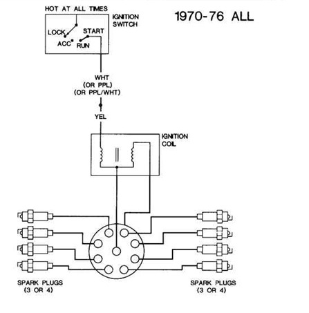
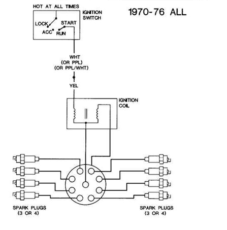
Truck just stopped running ignition coil is only.

Tiny
DARREL WILSON
  • MEMBER
  • 1971 CHEVROLET TRUCK
  • 150,000 MILES
Truck just stopped running ignition coil is only getting 5v from the battery.
Monday, December 10th, 2012 AT 6:14 PM

1 Reply

Tiny
JDL
  • MECHANIC
  • 16,098 POSTS
Does the battery have a full charge? All connections clean and tight? The primary voltage to coil, should come from ignition switch, key on. You may need to check voltage to and from ignition switch. Also, you may have to check wiring circuit to coil.
Was this
answer
helpful?
Yes
No
Monday, December 10th, 2012 AT 6:26 PM

Please login or register to post a reply.