HOME
ASK A QUESTION
REPAIR GUIDES
BECOME A MEMBER
LOG IN
Login with Facebook
OR
Remember me
NOT A MEMBER?
FORGOT PASSWORD?
CONTACT US
PRIVACY POLICY
TERMS AND CONDITIONS
☰
Home
Chevrolet
Truck
Electrical
Alternator
Wiring
How to wire a 1962 Chevy Custom truck V8 fo a one wire alternator with built in regulator
BILLY C
MEMBER
1962 CHEVROLET TRUCK
250,000 MILES
Truck has factory wiring. Voltagr regulator plug have F 2 3 4 terminalstruck has light in dash for charging indicator
Thursday, April 19th, 2012 AT 4:09 PM
3 Replies
RASMATAZ
MECHANIC
75,992 POSTS
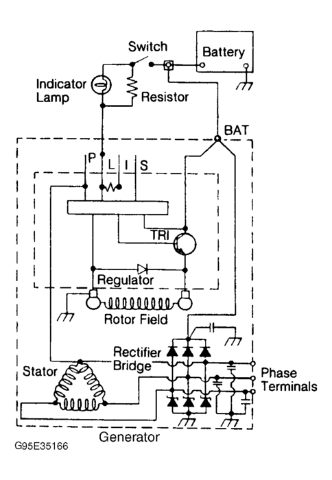
Here's how you wire it to a an integral regulator
Image (Click to make bigger)
Was this
answer
helpful?
Yes
No
Thursday, April 19th, 2012 AT 5:37 PM
BILLY C
MEMBER
21 POSTS
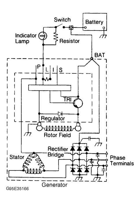
Mr. Rasmataz the alternator I am attempting to inatall came off a 1998 chevy truck with a large one wire plug intergal regulator
Was this
answer
helpful?
Yes
No
Thursday, April 19th, 2012 AT 8:57 PM
RASMATAZ
MECHANIC
75,992 POSTS
See below
Image (Click to make bigger)
Was this
answer
helpful?
Yes
No
Saturday, April 21st, 2012 AT 9:59 PM
Please
login
or
register
to post a reply.
Related Alternator Wiring Content
Re Wiring Alternator
86 Chevy 3500 7.4l Was On Fire We Installed New Wiring Harness And Now When Engine Running The Alternator Is Back Charging The Ignition So...
Asked by
race381
·
1 ANSWER
CHEVROLET TRUCK
VIDEO
Alternator Replacement
Instructional repair video
GUIDE
Alternator Replacement
Got a red battery warning light on? This most likely means the alternator has gone out and needs a replacement. To confirm the failure use a voltmeter to test the alternator...
1989 Chevy Truck Low Volts
Electrical Problem 1989 Chevy Truck V8 Four Wheel Drive Automatic I Recently Posted A Question About My Charging System Problem And...
Asked by
dapacj
·
7 ANSWERS
1989
CHEVROLET TRUCK
1989 Chevy Truck
Electrical Problem 1989 Chevy Truck V8 Four Wheel Drive Automatic Low Volts On Volt Gauge. Alt Has Been Checked And Is Putting Out...
Asked by
dapacj
·
2 ANSWERS
1989
CHEVROLET TRUCK
1989 Chevy Truck Charging System
Electrical Problem 1989 Chevy Truck V8 Four Wheel Drive Automatic Battery Is Good, Connections Are Good. Alt Is Only Putting Out 12...
Asked by
dapacj
·
2 ANSWERS
1989
CHEVROLET TRUCK
Alternator
I Bought A New Alternator For My 1989 Chevrolet 4x4 1500 Pickup. My Battery Light Comes On And Sometimes It Flashes. When I Drive It Looses...
Asked by
mckinney2003
·
1 ANSWER
1989
CHEVROLET TRUCK
VIEW MORE
Ask a Car Question. It's Free!
How to Test an Alternator
Alternator Replacement
Alternator Replacement