Stalls when driving?

Tiny
CLONZ22
  • MEMBER
  • 2004 CHEVROLET EXPRESS
  • 129,000 MILES
When driving after van has warmed up out of nowhere lose power, my voltage gauge drops way down but this may be due to engine stalling out. Replaced the alternator, belt, checked all connections, none of fuses blown. Happened yesterday at stop sign, if I push gas pedal down and hold brake it won't shut off and once I going it is okay for awhile. This is a 4.8l 294 did engine in a Express 2500 cargo van being used in telecom. I don't use A/C trying to not overwork but I'm running out of stuff to replace. Please help.
Wednesday, June 26th, 2013 AT 8:16 AM

1 Reply

Tiny
JACOBANDNICKOLAS
  • MECHANIC
  • 110,194 POSTS
Hi,

If this is happening when it is warmed up only, I question if it is related to a crankshaft position sensor failing. When these start going bad, heat can have an adverse effect.

However, before replacing a sensor, if the check engine light is staying on when the engine is running, you should have the computer scanned for diagnostic trouble codes. Here is a video showing how that is done:

https://youtu.be/b2IJGfImVvw

If you don't own a scan tool, often times a parts store will do it free of charge.

Next, take a look through this link. It explains the common symptoms related to a faulty sensor. See if it seems to mirror what you experience. Also, note that a faulty crank sensor doesn't always cause the check engine light to stay on.

https://www.2carpros.com/articles/symptoms-of-a-bad-crankshaft-sensor

If you determine the sensor is the likely issue, here is a link that shows in general how to replace one:

https://www.2carpros.com/articles/crankshaft-angle-sensor-replacement

Here are the directions specific to your vehicle for replacement. The attached pics correlate with the directions (5.3L V8).

_________________________________

2004 Chevy Truck Express 1500 RWD V8-5.3L VIN T
Crankshaft Position (CKP) Sensor Replacement
Vehicle Powertrain Management Sensors and Switches - Powertrain Management Sensors and Switches - Computers and Control Systems Crankshaft Position Sensor Service and Repair Procedures Crankshaft Position (CKP) Sensor Replacement
CRANKSHAFT POSITION (CKP) SENSOR REPLACEMENT
CRANKSHAFT POSITION (CKP) SENSOR REPLACEMENT

REMOVAL PROCEDURE

CAUTION: Before servicing any electrical component, the ignition key must be in the OFF or LOCK position and all electrical loads must be OFF, unless instructed otherwise in these procedures. If a tool or equipment could easily come in contact with a live exposed electrical terminal, also disconnect the negative battery cable. Failure to follow these precautions may cause personal injury and/or damage to the vehicle or its components.

IMPORTANT: Perform the CKP System Variation Learn Procedure when the CKP sensor is removed or replaced.

pic 1

1. Refer to Battery Disconnect Caution in Service Precautions.
Disconnect the negative battery cable.
2. Raise the vehicle. Refer to Vehicle Lifting.
3. Remove the starter.

pic 2

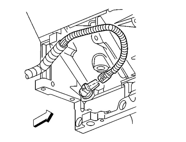
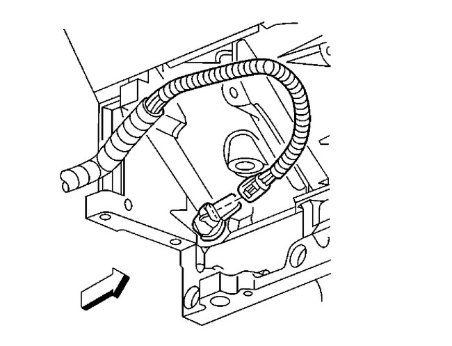
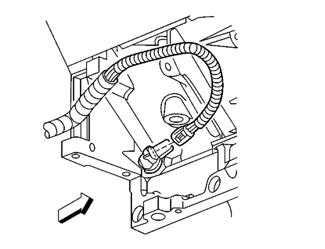
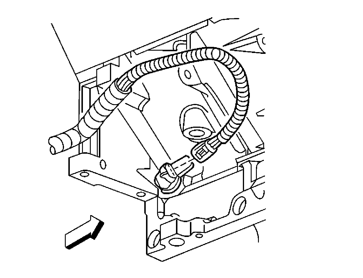
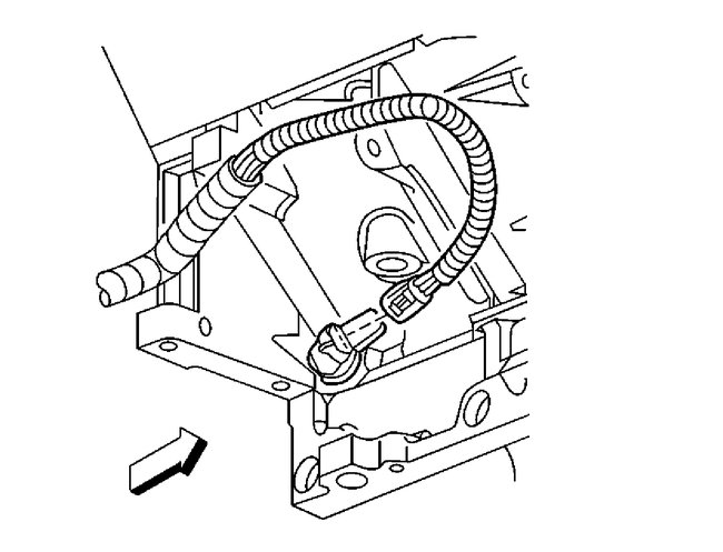
4. Disconnect the crankshaft position (CKP) sensor electrical connector.

pic 3

5. Clean the area around the CKP sensor before removal in order to avoid debris from entering the engine.
6. Remove the CKP sensor retaining fastener.
7. Remove the CKP sensor.

INSTALLATION PROCEDURE
1. Install the CKP sensor.

NOTE: Refer to Fastener Notice in Service Precautions.

pic 4

2. Install the CKP sensor retaining fastener.

Tighten
Tighten the fastener to 25 N.m (18 lb ft).

pic 5

3. Connect the CKP sensor electrical connector.

pic 6

4. Install the starter.
5. Lower the vehicle.
6. Connect the negative battery cable.
7. Perform the CKP system variation learn procedure. See: Vehicle > Programming and Relearning

_________________________

Let me know if this helps. One other thought, if you can get your hands on a live data scan tool, confirm the engine coolant temp sensor is reading an accurate temp. I have seen them fail which can cause the air/fuel mixture to be off.

Take care,
Joe
Was this
answer
helpful?
Yes
No
Thursday, December 24th, 2020 AT 10:41 PM

Please login or register to post a reply.