Code P0302, number two cylinder location needed

Tiny
ROB K
  • MEMBER
  • 2007 CHEVROLET SILVERADO
  • 5.3L
  • V8
  • 2WD
  • AUTOMATIC
  • 140,000 MILES
Hello,

I would like to ask you guys here at 2CarPros where the #2 cylinder is located on the truck listed above nbs (gmt 900)? I cannot seem to find an exact diagram regarding cylinder placement within the motor.

Additional, my computer is throwing a p0302 code. After locating the #2 cylinder I would imagine I would need to replace that ignition coil and check the new spark plugs and ignition wire that are currently being utilized.
Sunday, August 23rd, 2020 AT 8:25 PM

1 Reply

Tiny
JACOBANDNICKOLAS
  • MECHANIC
  • 110,192 POSTS
Hi,

I attached a pic below of the cylinder orientation (pic 1). As far as the misfire, it could be a few things. Yes, it could be a coil or spark plug. The easiest way to determine if it is a coil is to switch the number 2 and 4 cylinders coils and see if the misfire changes cylinders. Basically, does it change from a P0302 to a P0304. If that happens, then replace the coil.

Here are directions for coil/coils replacement. The remaining pics correlate with these directions. You will not be replacing all of them like the directions show. However, the directions are relevant for one or all.

___________________________________________

2007 Chevy Truck Silverado 1500 2WD V8-5.3L
Ignition Coil(s) Replacement
Vehicle Power-train Management Ignition System Ignition Coil Service and Repair Removal and Replacement Ignition Coil(s) Replacement
IGNITION COIL(S) REPLACEMENT
Ignition Coil Replacement

Removal Procedure

pic 2

1. Remove the intake manifold sight shield.
2. Disconnect the ignition coil wiring harness electrical connector (1) from the ignition coil.

Pic 3

3. Remove the spark plug wire from the ignition coil.

* Twist the spark plug wire boot a 1/2 turn.
* Pull only on the boot in order to remove the wire from the ignition coil.

4. Remove the ignition coil bolts.
5. Remove the ignition coil from the bracket. (Left side shown, right side similar).
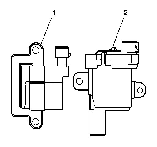
6. There are 2 different manufacturers for the ignition coils and coil brackets. They are as follows:

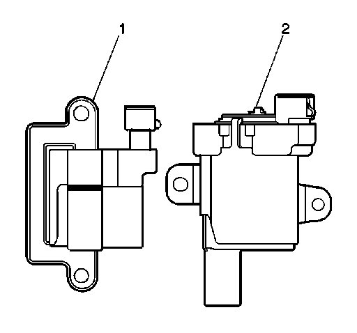
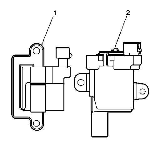
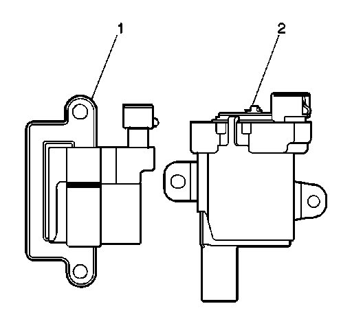
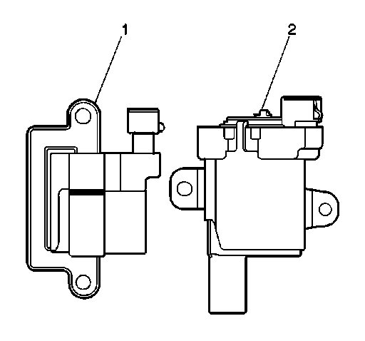
pic 4

7. The Melco(R) (1) ignition coil is a square design.
8. The Delphi(R) (2) ignition coil is a round design.

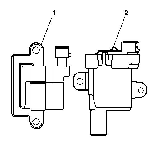
Pic 5

9. The Melco(R) ignition coil bracket (1) is a square design.
10. The Delphi(R) ignition coil bracket (2) is a round design.

Installation Procedure

pic 6

1. Position the ignition coil to the ignition coil bracket. (Left side shown, right side similar).

Notice: Refer to Fastener Notice.

2. Install the ignition coil bolts.

Tighten the bolts to 10 N.M (89 lb in).

3. Install the spark plug wire to the ignition coil.
4. Inspect the spark plug wire for proper installation:

* Push sideways on each boot in order the inspect the seating.
* Reinstall any loose boot.

Pic 7

5. Connect the ignition coil wiring harness electrical connector (1) to the ignition coil.
6. Install the intake manifold sight shield.

______________________

Let me know if this helps or if you have other questions.

Take care,
Joe
Was this
answer
helpful?
Yes
No
+1
Sunday, August 23rd, 2020 AT 9:14 PM

Please login or register to post a reply.