HOME
ASK A QUESTION
REPAIR GUIDES
BECOME A MEMBER
LOG IN
Login with Facebook
OR
Remember me
NOT A MEMBER?
FORGOT PASSWORD?
CONTACT US
PRIVACY POLICY
TERMS AND CONDITIONS
☰
Home
Mazda
323
Engine
Cylinder Head
Torque
Torque setting for cylinder head specs
KNOWLEDGE GWAMURE
MEMBER
1987 MAZDA 323
1.5L
4 CYL
2WD
MANUAL
2,241,120 MILES
I need to know torque sitting of cylinder head specs and big end specs.
Saturday, August 29th, 2020 AT 11:23 PM
15 Replies
ASEMASTER6371
MECHANIC
52,796 POSTS
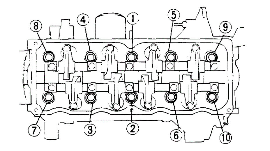
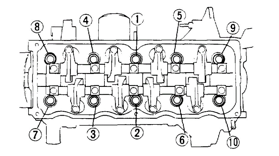
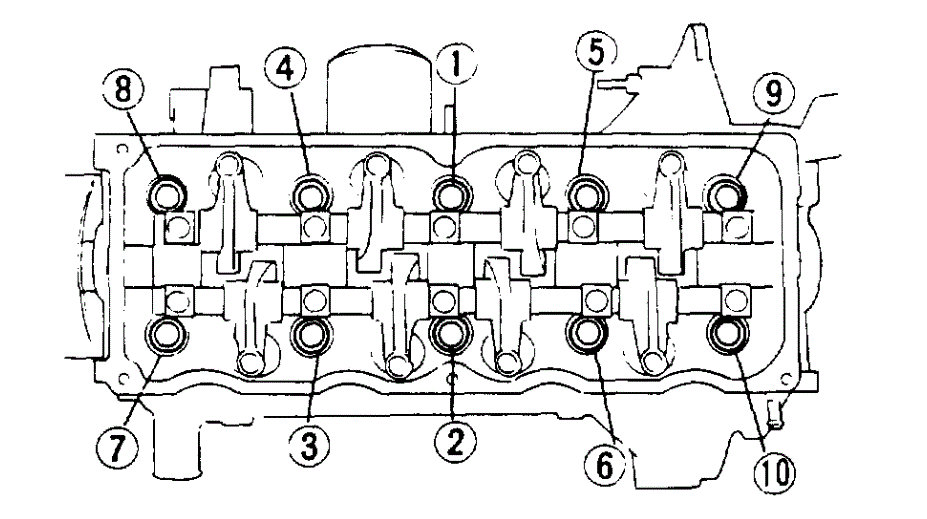
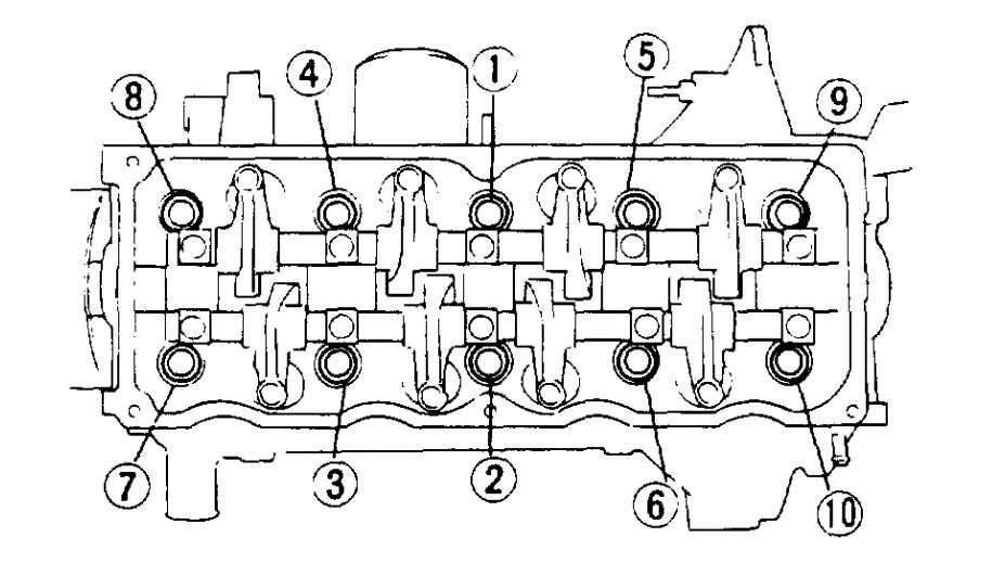
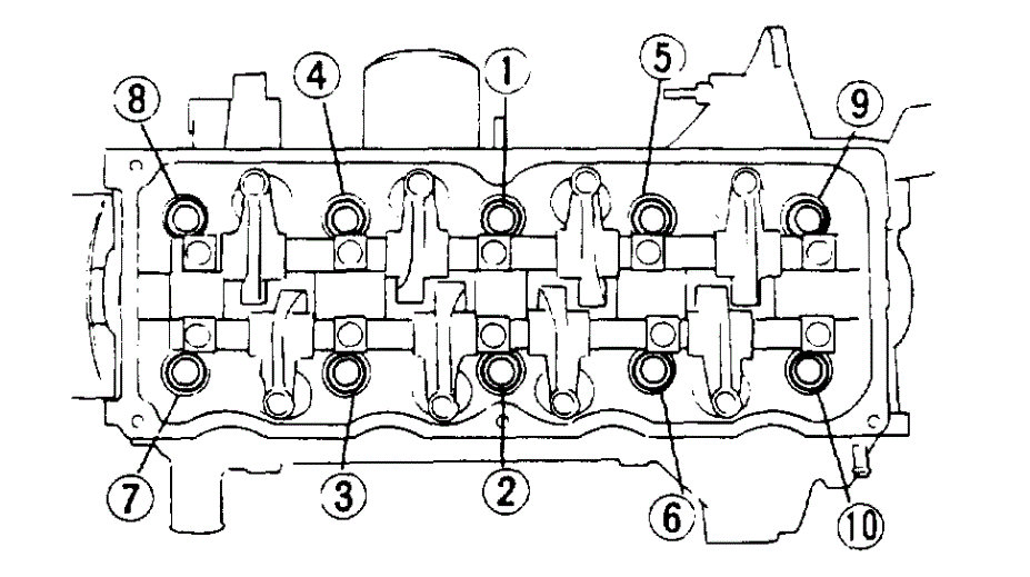
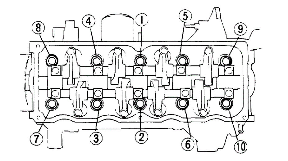
Good morning,
I attached the toque and sequence for you for tightening the head bolts.
Roy
Images (Click to make bigger)
Was this
answer
helpful?
Yes
No
+16
Sunday, August 30th, 2020 AT 3:53 AM
KNOWLEDGE GWAMURE
MEMBER
11 POSTS
Thank you for your answer. Now I need to know the timing marks on crankshaft and camshaft. Does timing chain have marks? E 3 engine.
Was this
answer
helpful?
Yes
No
+1
Sunday, August 30th, 2020 AT 4:41 PM
ASEMASTER6371
MECHANIC
52,796 POSTS
Okay.
Images (Click to make bigger)
Was this
answer
helpful?
Yes
No
Monday, August 31st, 2020 AT 3:29 AM
KNOWLEDGE GWAMURE
MEMBER
11 POSTS
Images you send is for belt driven mine is a chain driven with 1 mark on the camshaft pulley. On crankshaft cover written for TDC and 10 degrees.
Was this
answer
helpful?
Yes
No
Monday, August 31st, 2020 AT 6:30 AM
ASEMASTER6371
MECHANIC
52,796 POSTS
Can I have the complete VIN number for the car?
Roy
Was this
answer
helpful?
Yes
No
Monday, August 31st, 2020 AT 6:34 AM
KNOWLEDGE GWAMURE
MEMBER
11 POSTS
I replace the window screen I think they cover that number, but let me send the data card.
Image (Click to make bigger)
Was this
answer
helpful?
Yes
No
Monday, August 31st, 2020 AT 11:37 PM
ASEMASTER6371
MECHANIC
52,796 POSTS
I am sorry, that is not the VIN number.
Look on the drivers door for the number.
Roy
Was this
answer
helpful?
Yes
No
Tuesday, September 1st, 2020 AT 4:11 AM
KNOWLEDGE GWAMURE
MEMBER
11 POSTS
No number on drivers door.
Was this
answer
helpful?
Yes
No
Tuesday, September 1st, 2020 AT 6:43 AM
ASEMASTER6371
MECHANIC
52,796 POSTS
Was this manufactured in the USA?
Roy
Was this
answer
helpful?
Yes
No
Tuesday, September 1st, 2020 AT 7:40 AM
KNOWLEDGE GWAMURE
MEMBER
11 POSTS
I don't know. What I know is that it assembled in Zimbabwe.
Was this
answer
helpful?
Yes
No
Tuesday, September 1st, 2020 AT 3:45 PM
ASEMASTER6371
MECHANIC
52,796 POSTS
Thank you.
Let me check.
Roy
Was this
answer
helpful?
Yes
No
Tuesday, September 1st, 2020 AT 4:00 PM
ASEMASTER6371
MECHANIC
52,796 POSTS
Okay, I just checked with the Mazda web site and the marks are the same as what I sent you.
The difference was your used a chain and the one I sent you used a belt.
Roy
Was this
answer
helpful?
Yes
No
Tuesday, September 1st, 2020 AT 4:35 PM
KNOWLEDGE GWAMURE
MEMBER
11 POSTS
Okay, thanks. I will give feedback when i'm done with it.
Was this
answer
helpful?
Yes
No
Tuesday, September 1st, 2020 AT 4:42 PM
ASEMASTER6371
MECHANIC
52,796 POSTS
You are welcome.
Always glad to help.
Roy
Was this
answer
helpful?
Yes
No
Tuesday, September 1st, 2020 AT 4:44 PM
Please
login
or
register
to post a reply.
Related Cylinder Head Torque Content
Cylinder Head Bolt Torque Settings?
What Is The Correct Torque Setting For The Head Bolts. Please I Need Help I Love This Site!
Asked by
Blakstik01
·
1 ANSWER
1 IMAGE
1987
MAZDA 323
2004 Mazda 3 Air Filter Question
2004 Mazda 3 Mileage 42,000. Besides Needing A Tune Up, What Do You Think About Air Filters For Helping My Gas Mileage. I Have Heard A Lot...
Asked by
2CP-Archives
·
1 ANSWER
2004
MAZDA 323
1993 Mazda 323 Timing Belt Specification
Engine Mechanical Problem 1993 Mazda 323 4 Cyl Front Wheel Drive Manual How Many Teeth Has An Mazda B5 Timing Belt Have?
Asked by
pits69
·
1 ANSWER
1993
MAZDA 323
2000 Mazda 323
2000 Mazda 323 Air Flow Sensors Only Going Bad Wat Is Causing This So Regular?
Asked by
melissaevan101
·
1 ANSWER
2000
MAZDA 323
Hie I Have A 1985 Mazda 323 With An E3 Engine 1.3litre...
Hie I Have A 1985 Mazda 323 With An E3 Engine 1.3litre, The Timming Chain Was Worn And I Orderd A Full Timing Chain Kit, After I Done All...
Asked by
Johan Lupps
·
5 ANSWERS
1985
MAZDA 323
VIEW MORE
Ask a Car Question. It's Free!