Temperature light flashes red for about five to ten minutes

Tiny
ROBERT BEGGS
  • MEMBER
  • 2001 VOLKSWAGEN BEETLE
  • 4 CYL
  • 2WD
  • MANUAL
  • 99,865 MILES
When first starting the car the temperature light will flash red for about 5-10 minutes than go and stay out. This happens on a cold startup when the engine is not hot and has not been started for hours/days. Does this mean anything?
Thursday, July 30th, 2020 AT 9:58 AM

1 Reply

Tiny
JACOBANDNICKOLAS
  • MECHANIC
  • 110,192 POSTS
Chances are the sensor is bad. What needs done is to check what temp the sensor indicates when this first happens and the light is on. If something is bad in the sensor, it may be sending the wrong info.

Here are the directions for testing using a generic scan tool. Let me know if this is something you feel comfortable doing.

_______________________________________

2001 Volkswagen New Beetle GL (1C1) L4-2.0L (AVH)
With Generic Scan Tool
Vehicle Powertrain Management Sensors and Switches - Powertrain Management Sensors and Switches - Computers and Control Systems Coolant Temperature Sensor/Switch (For Computer) Testing and Inspection Component Tests and General Diagnostics Engine Coolant Temperature (ECT) Sensor, Checking With Generic Scan Tool
WITH GENERIC SCAN TOOL
Engine Coolant Temperature (ECT) Sensor, Checking

NOTE: Use only gold-plated terminals when servicing terminals in harness connector of sensor.

Recommended special tools and equipment
- VAG 1526 multimeter or VAG 1715 multimeter
- VAG 1594 connector test kit
- Wiring diagram

Test requirements

pic 1

- The respective fuses of Motronic Engine Control Module (ECM) -J220- must be OK.
- Parking brake must be engaged or else daylight driving lights will be switched on.
- For vehicles with automatic transmission, selector lever must be in position -P- or -N-.
- Engine must be cold.

Function test, Vehicles with engine code AVH, AZG, BDC

- Connect diagnostic tester. See: Computers and Control Systems > Reading and Clearing Diagnostic Trouble Codes > Diagnostic Tester, Connecting
- Switch ignition on.
- Under address word 33, select "Diagnostic mode 1: Checking measured values."
- Select the measuring value "PID 05: Coolant temperature".
- Check specified value of coolant temperature:

pic 2

If specified value is not obtained:
- Continue test according to the following table:

Indicated1) Cause
approx. - 40.0 degree C Open circuit or short circuit to B+
approx. 140.0 degrees C Short circuit to Ground (GND)
1) If a temperature is indicated which differs greatly from ambient temperature of sensor, check sensor wires for contact resistance.

If specified value is obtained:
- Start engine and let run at idle. The temperature must climb uniformly

NOTE:
- The temperature increases in increments of 1.0 degrees C.
- If the engine shows problems in certain temperature ranges and if the temperature does not climb uniformly, the temperature signal is intermittent and the sensor should be replaced.

Continuation of test if indication is approx. -40.0 degrees C:

pic 3

- Disconnect 4-pin connector from Engine Coolant Temperature (ECT) Sensor -G62- with Engine Coolant Temperature (ECT) Sensor -G2- (arrow).

Pic 4

- Bridge terminals 3 + 4 of connector using the respective adapter cables and observe the indication on display.

If indication jumps to approx. 140.0 degrees C:
- End diagnosis and switch ignition off.
- Replace Engine Coolant Temperature (ECT) Sensor -G62-:
- Vehicles with engine code AVH, AZG, item 17,
- Vehicles with engine code BDC, item 15.
- Erase DTC memory of Engine Control Module (ECM), Diagnostic mode 4: Reset/erase diagnostic data.
- Generate readiness code. See: Computers and Control Systems > Monitors, Trips, Drive Cycles and Readiness Codes

If indication remains at approx. -40.0 degrees C:
- End diagnosis and switch ignition off.
- Check wires according to wiring diagram.

Continuation of test if indication is approx. 140.0 degrees C:

pic 5

- Disconnect 4-pin connector from Engine Coolant Temperature (ECT) Sensor -G62- with Engine Coolant Temperature (ECT) Sensor -G2- (arrow).

If indication jumps to approx. -40.0 degrees C:
- End diagnosis and switch ignition off.
- Replace Engine Coolant Temperature (ECT) Sensor -G62-:
- Vehicles with engine code AVH, AZG, item 17,
- Vehicles with engine code BDC, item 15.
- Erase DTC memory of Engine Control Module (ECM), Diagnostic mode 4: Reset/erase diagnostic data.
- Generate readiness code. See: Computers and Control Systems > Monitors, Trips, Drive Cycles and Readiness Codes

If indication remains at approx. 140.0 degrees C:
- End diagnosis and switch ignition off.
- Check wires according to wiring diagram.

Checking wiring

- Connect test box to control module wiring harness, connect test box for wiring test. See: Computers and Control Systems > Reading and Clearing Diagnostic Trouble Codes > Test Box, Connecting For Wiring Test

pic 6

- Check wires between test box and 4-pin connector for open circuit according to wiring diagram.
- Terminal 3 + socket 93
- Terminal 4 + socket 108
- Wire resistance: max. 1.5 Ohms
- Also check wires for short circuit to each other, to vehicle Ground (GND) and to B+. Specified value: Infinite Ohms

If no malfunctions are found in wires:

pic 7

- Measure resistance at Engine Coolant Temperature (ECT) Sensor -G62-, terminals C (signal) and D (Ground -GND-).

Pic 8

- Range A displays resistance values for the temperature range of 0 to 50 degrees C, range B displays resistance values for the temperature range of 50 to 100 degrees C.

Read-out examples:
- 30 degrees C is in range A and corresponds to a resistance of 1.5 to 2.0 k Ohms
- 80 degrees C is in range B and corresponds to a resistance of 275 to 375 Ohms

If specified value is not obtained:
- Replace Engine Coolant Temperature (ECT) Sensor -G62-:
- Vehicles with engine code AVH, AZG, item 17,
- Vehicles with engine code BDC, item 15.
- Erase DTC memory of Engine Control Module (ECM), Diagnostic mode 4: Reset/erase diagnostic data.
- Generate readiness code. See: Computers and Control Systems > Monitors, Trips, Drive Cycles and Readiness Codes

If no malfunctions are detected in the wires and the resistance values are OK:
- Replace Motronic Engine Control Module (ECM) -J220-.

____________________________________________

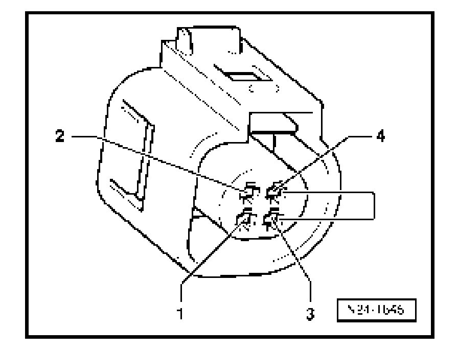
The last pic I attached shows the sensor's location. It will be on the driver's side of the engine. Make sure the connector isn't corroded, damaged, or just loose.

Let me know if this helps or if you have other questions.

Take care,
Joe
Was this
answer
helpful?
Yes
No
+1
Thursday, July 30th, 2020 AT 1:20 PM

Please login or register to post a reply.