Fuel injectors (TBI) not spraying after engine swap

Tiny
JAY TACKETT
  • MEMBER
  • 1991 CHEVROLET 1500
  • 5.0L
  • V8
  • 4WD
  • MANUAL
  • 300,000 MILES
Injectors not getting pulse signal from ECM. What tells the ECM to send the signal to the Injectors?
Monday, December 14th, 2020 AT 9:13 PM

7 Replies

Tiny
KASEKENNY
  • MECHANIC
  • 18,907 POSTS
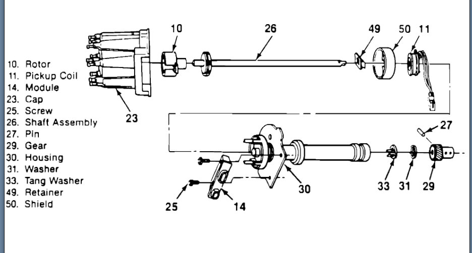
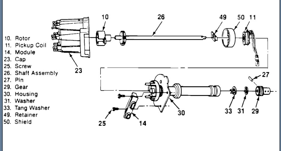
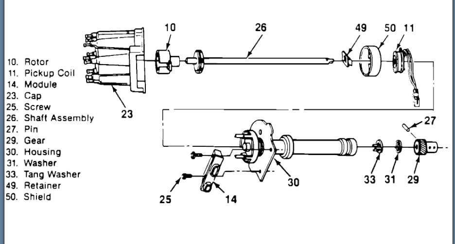
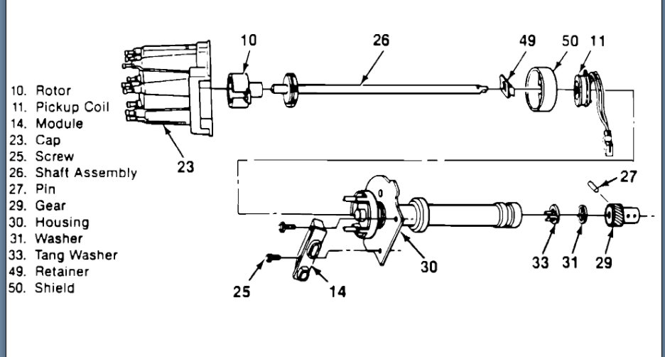
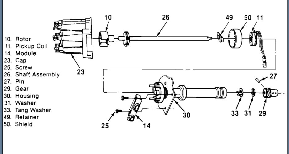
You are correct that the ECM controls the fuel pulse and when it is not pulsing the injectors, it is in what is called fuel cut off mode. I attached the specifics about this but basically it is not seeing the reference pulse from the distributor.

Take a look at this material and let's go through the testing that I attached for a crank no start.

Once we run through this, I am sure something will turn up that we need to address or even figure out what the issue is.
Was this
answer
helpful?
Yes
No
-1
Tuesday, December 15th, 2020 AT 4:09 PM
Tiny
JAY TACKETT
  • MEMBER
  • 5 POSTS
Thanks for the reply. I have traced the problem to the ignition pulse.
Was this
answer
helpful?
Yes
No
Tuesday, December 15th, 2020 AT 4:20 PM
Tiny
KASEKENNY
  • MECHANIC
  • 18,907 POSTS
Awesome. Thanks for the update. Please come back in the future. Thanks for using 2CarPros.
Was this
answer
helpful?
Yes
No
Wednesday, December 16th, 2020 AT 4:53 PM
Tiny
JAY TACKETT
  • MEMBER
  • 5 POSTS
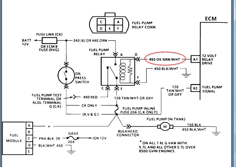
Okay, I have traced it a little further and figured out the fuel pump relay isn’t getting a signal through the green wire.
Was this
answer
helpful?
Yes
No
Wednesday, December 16th, 2020 AT 5:44 PM
Tiny
KASEKENNY
  • MECHANIC
  • 18,907 POSTS
I am attaching the wiring diagram. You mean the wire from the ECM that signals to close the relay from the ECM? If so, that is either an ECM issue if you have proper ignition signal or the ECM is not getting the ignition signal. I think this would be an ECM issue because I don't think the ECM de-energizes this relay if there is no ignition signal. The way I understand it is the ECM will not energize the injectors if there is no ignition pulse.

Did you find that the ECM is getting an ignition pulse? If so, it needs an ECM.
Was this
answer
helpful?
Yes
No
Thursday, December 17th, 2020 AT 5:09 PM
Tiny
JAY TACKETT
  • MEMBER
  • 5 POSTS
Figured out someone has cut the pink and black wire from Fuse Block to the ECM.
Was this
answer
helpful?
Yes
No
Thursday, December 17th, 2020 AT 5:14 PM
Tiny
KASEKENNY
  • MECHANIC
  • 18,907 POSTS
Well, that will do it. Thanks for the reply. That is great info for others that may have similar issues. Clearly I don't expect them to have the exact cause as you did but at least we have a resolution so they can follow it through. Thanks again and glad you got it resolved.
Was this
answer
helpful?
Yes
No
Thursday, December 17th, 2020 AT 5:45 PM

Please login or register to post a reply.

Related Engine Replace/Remove Content

How to Remove an Engine
VIDEO