Sunroof stuck in tilt position?

Tiny
RYAN MURRAY
  • MEMBER
  • 2012 FORD F-350
  • 6.7L
  • V8
  • TURBO
  • 4WD
  • AUTOMATIC
  • 103,000 MILES
I can hear the slide moving back and forth, but glass just bounces a bit and doesn’t go down. Thinking maybe linkage came undone.
Tuesday, March 7th, 2023 AT 3:54 AM

1 Reply

Tiny
KEN L
  • MASTER CERTIFIED MECHANIC
  • 55,522 POSTS
I would try to spray wd40 on the sunroof slides first, then here is the bounce back override procedure.

Bounce-Back Override

To override a bounce-back condition (to overcome the resistance of ice on the roof opening panel seal for example), within 2 seconds of a bounce-back event, pull and hold the Slide or Tilt control switch. The closing force begins to increase each time the roof opening panel is closed for the first 3 closing cycles (bounce-back is still enabled).

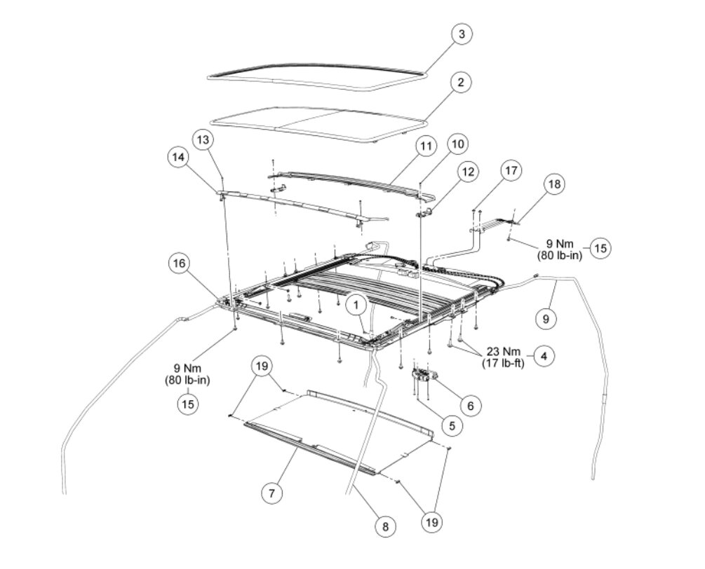
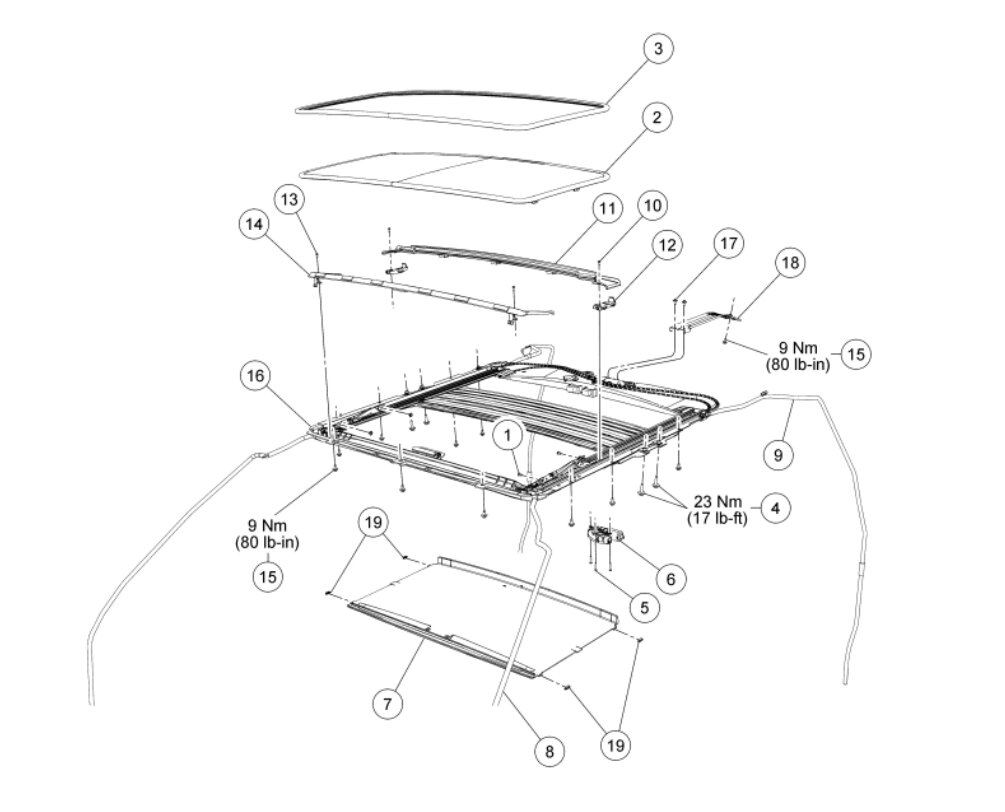
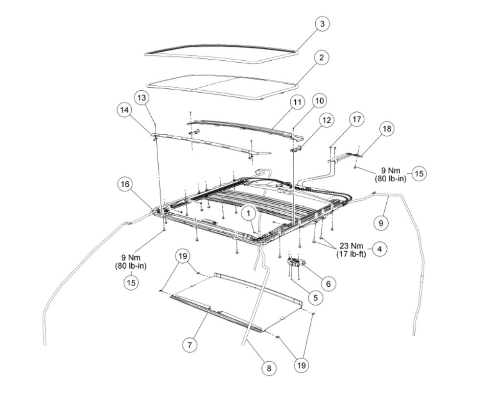
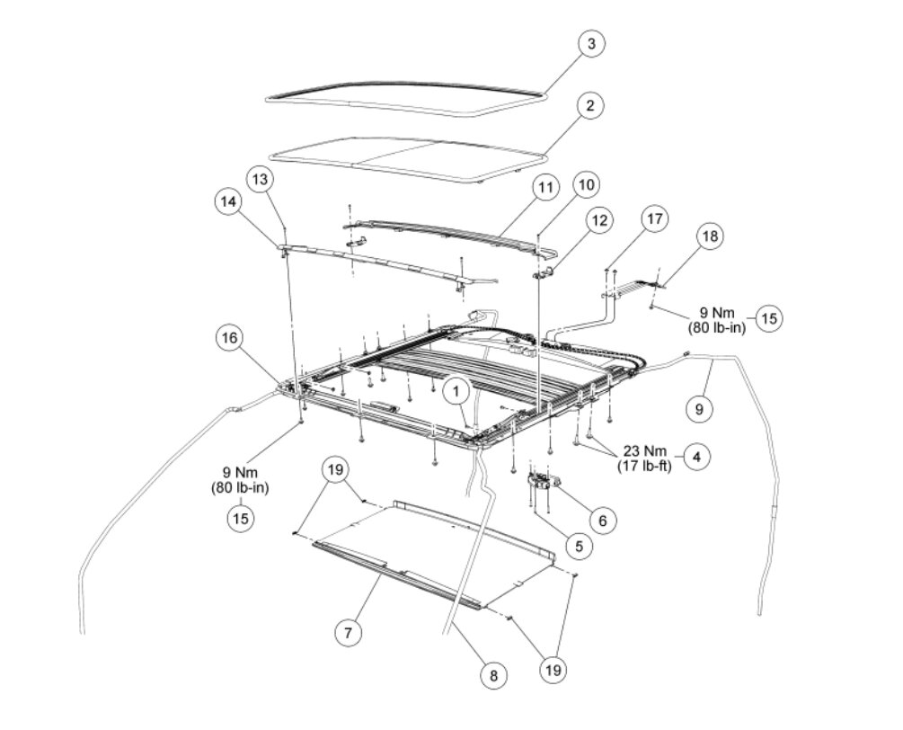
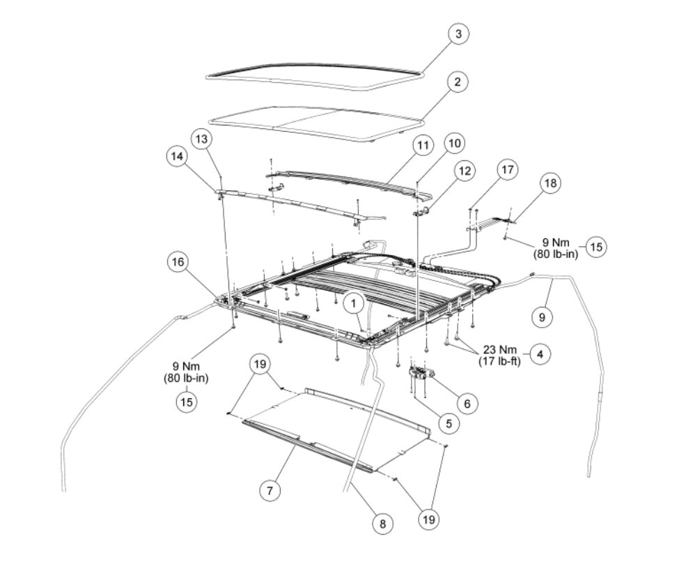
If that doesn't work, then we must disable the unit to see what broke. Here is how to disable the sunroof and how to remove the headliner to get at it. Check out the images (below). Let us know what happens and please upload pictures or videos of the problem.
Was this
answer
helpful?
Yes
No
Wednesday, March 8th, 2023 AT 10:32 AM

Please login or register to post a reply.