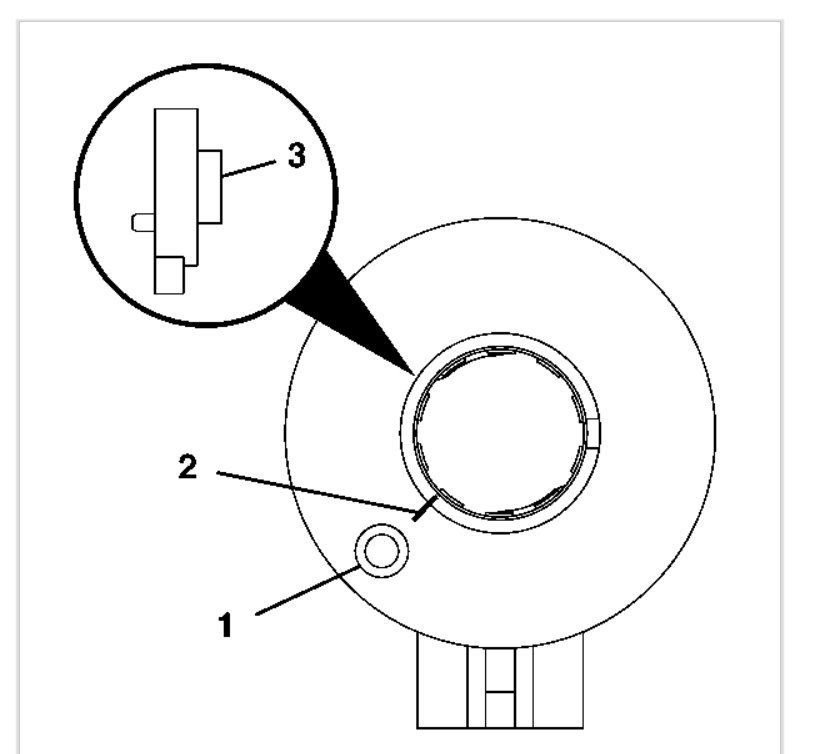
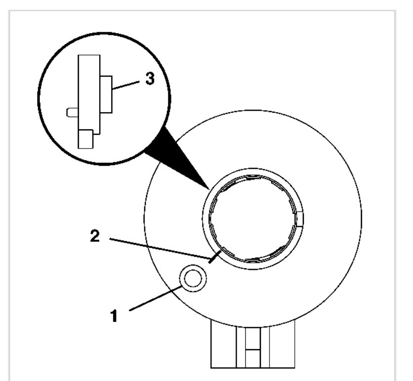
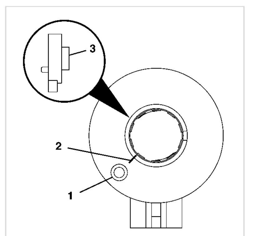
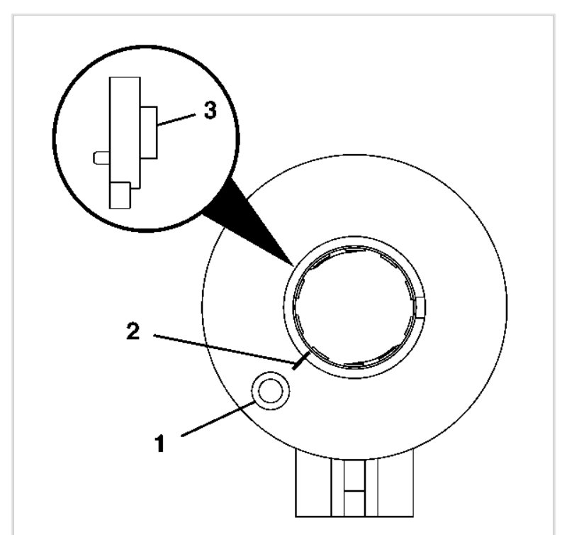
Sunday, March 31st, 2019 AT 2:04 PM
I just had my steering torque sensor replaced because the power steering light was flashing and my steering wheel would lock up. Now after the mechanic put the new sensor on the airbag service light and flashing and the steering wheel stays locked. The mechanic told me I did not need the sensor. He says that I need a new gear box but my car is doing something totally different when I start it. Before he worked on it I could restart it and my steering wheel would unlock if the power steering light was on. Now it just stays locked but my check engine light has gone off and the steering wheel is no longing shaking like it was before. It feels like a different problem all together. Could he have put the sensor on wrong when he replaced the sensor?





















