Spark plug wires diagram

Tiny
LUVINME GREEN
  • MEMBER
  • 2005 FORD FREESTAR
  • 2WD
  • AUTOMATIC
  • 232,000 MILES
I am trying to put my spark plug wires back on and do not know exactly which wire goes to which.
Monday, August 12th, 2019 AT 8:24 AM

1 Reply

Tiny
BMDOUBLE
  • MECHANIC
  • 1,139 POSTS
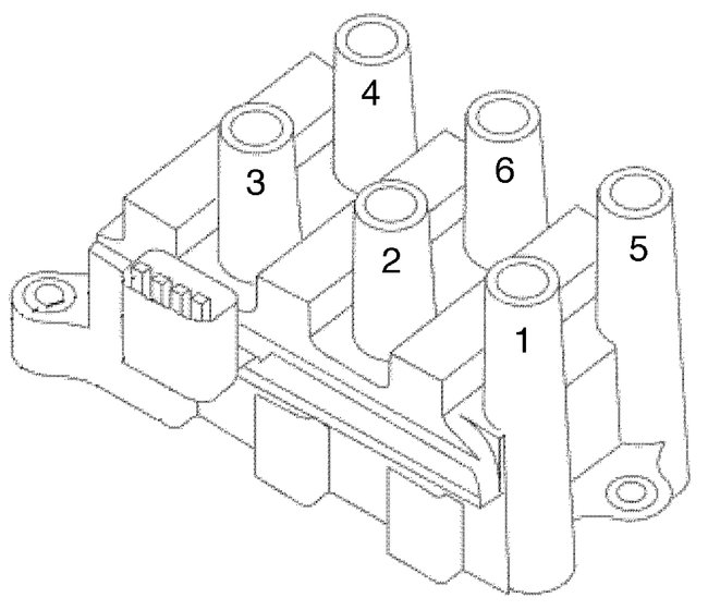
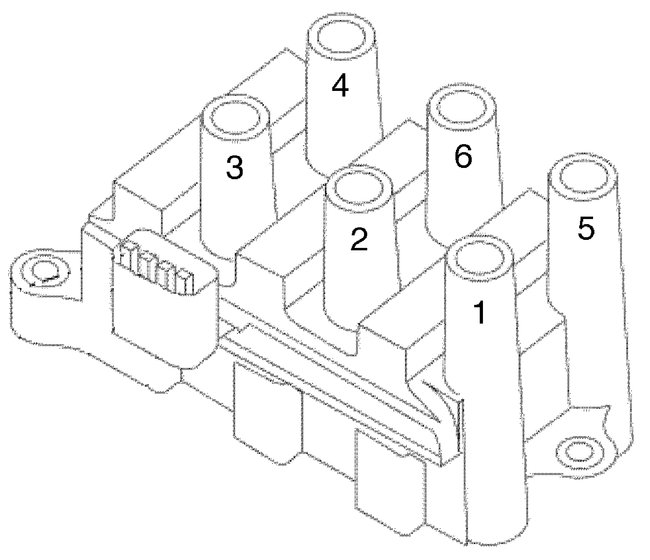
I included the firing order and a picture of the coil with cylinder numbers on it. Check out the diagrams (Below). Please let us know if you need anything else to get the problem fixed. Hope this helps!
Was this
answer
helpful?
Yes
No
+2
Monday, August 12th, 2019 AT 9:39 AM

Please login or register to post a reply.