Code 0430

Tiny
PAULKELLEHER1
  • MEMBER
  • 2012 HONDA ODYSSEY
  • 3.5L
  • V6
  • 2WD
  • AUTOMATIC
  • 130,000 MILES
My check engine light came on several months ago. I borrowed a friend's diagnostic tool and it gave me 0430 error code. As I recall I got two of them. Anyway, I cleared the codes to see what would happen on the chance it was a false code. This week the light came on again, so I guess I really do have an issue I need to fix. However, this time I just got the one 0430 error code and the note that it was bank 2.

I've been going on line searching for more information. The best and clearest information I found was in your May 4, 2019 response to an individual on this subject. Thanks!

However, I have a few questions before I start.

1. I was thinking there were four oxygen sensors, two for each bank plus two Air/Fuel Mixture Sensors. That incorrect, right?
2. Since the error code designated just one bank, should I replace the oxygen sensor alone or include the A/F sensor as well?
3. Regardless, assuming it works, will the Check Engine Light go off on it's own after a few miles of driving?
4. Then when the light goes off, do I still have go back and clear the code?

I think that's it for now. Thank you for your assistance.

Paul Kelleher
Monday, December 14th, 2020 AT 4:57 PM

3 Replies

Tiny
JACOBANDNICKOLAS
  • MECHANIC
  • 110,194 POSTS
First, you are correct. There are four of them. If you look at pic 1, it shows their locations. However, the code, P0430 deals with a catalytic converter not an o2 sensor.

Now, here is my concern: You mentioned there was another code before but you don't remember it. It is important to know what it was.

Read this:

- If some of the DTCs listed below are stored at the same time as DTC P0420 and/or P0430, troubleshoot those DTCs first, then recheck for DTC P0420 and/or P0430.
P0137, P0138, P0157, P0158, P2270, P2272: Secondary HO2S (Sensor 2)
P0141, P0161: Secondary HO2S (Sensor 2) heater
P0300: Random misfire
P0301-P030

___________________________

I don't want to recommend replacing the catalytic converter because it isn't a cheap part. The catalytic converter code could be related to one of the above codes.

Let me know if any of those codes ring a bell.
Was this
answer
helpful?
Yes
No
Monday, December 14th, 2020 AT 5:09 PM
Tiny
PAULKELLEHER1
  • MEMBER
  • 2 POSTS
Thanks for the speedy reply. I didn't realize until this morning that you had actually responded last night!

Regarding the number of sensors, I see the four in the picture. For some reason, I thought there were two more underneath and downstream.

The two DTCs I got a couple of months ago were probably 0420 and 0430. However now it is just the 0430. I have never seen the all the other DTCs dealing with the sensors, misfires etc. So could it be a waste of time replacing the four sensors?
Was this
answer
helpful?
Yes
No
Tuesday, December 15th, 2020 AT 11:12 AM
Tiny
JACOBANDNICKOLAS
  • MECHANIC
  • 110,194 POSTS
I have a feeling sensors would not help the issue. The only way to know if it is related to them is to see how they are responding. The codes you have, however, almost always indicated the need for a new converter.

If you replace it, here are the directions. The attached pics correlate with the directions.

__________________________

DTC P0430:
Location
Front Bank Catalyst System Efficiency Below Threshold (Bank 2)

_________________________

2012 Honda Truck Odyssey V6-3.5L
Warm Up TWC Removal/Installation
Vehicle Powertrain Management Emission Control Systems Catalytic Converter Service and Repair Removal and Replacement Warm Up TWC Removal/Installation
WARM UP TWC REMOVAL/INSTALLATION
Warm Up TWC Removal/Installation

FRONT WU-TWC (Bank 2)

1. Remove the engine cover.

2. Remove the front A/F sensor (Sensor 1) and front secondary HO2S (Sensor 2); 5-speed A/T model, 6-speed A/T model.

3. Remove exhaust pipe A See: Exhaust Pipe > Removal and Replacement > Exhaust Pipe And Muffler Replacement.

4. Remove the EGR pipe See: EGR Tube > Removal and Replacement > EGR Pipe Removal/Installation.

5. Remove the front bumper See: Front Bumper > Removal and Replacement > Front Bumper Removal/Installation.

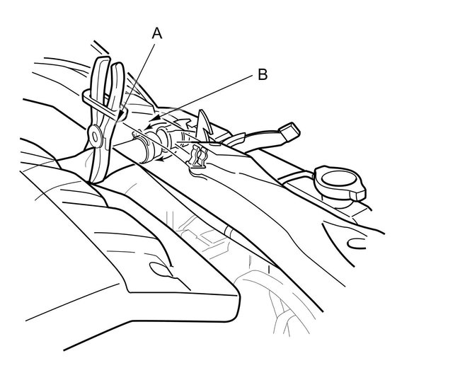
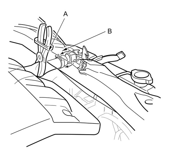
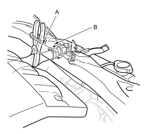
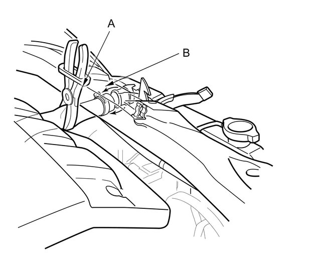
6. Remove the mounting bolt (A) for the P/S cooler line.

Pic

7. Remove the A/C condenser fan shroud assembly.

8. Loosen the radiator drain plug, and drain about 1 liter (1.05 quarts) of coolant from the radiator.

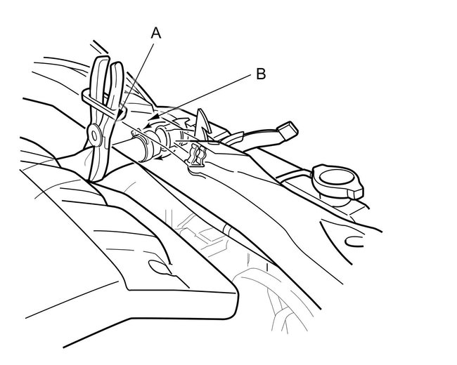
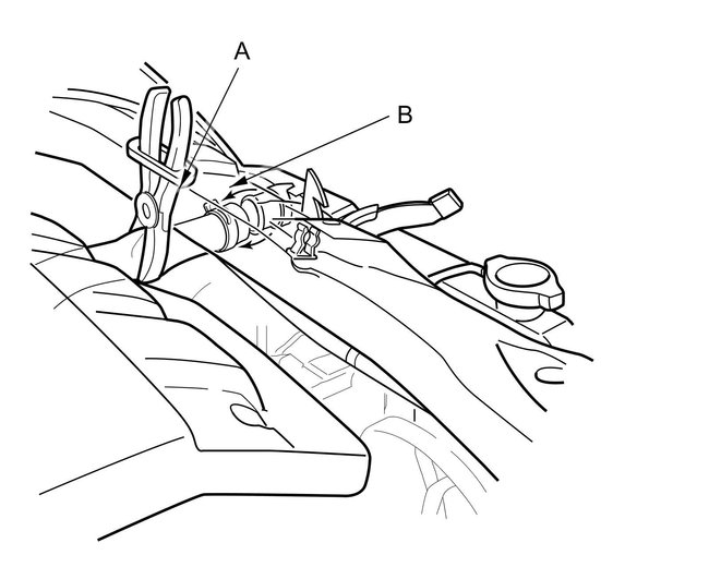
9. Pinch the top radiator hose (A) with hose pinching Pliers. Release the top clamp (B) and remove the top hose from the radiator.

NOTE: Careful not damage the hose.

Pic 2

10. Place an appropriate sized piece of cardboard over the A/C condenser fan area of the radiator to protect the radiator.

11. Remove the front WU-TWC bracket (A), the front WU-TWC mounting bolts and self-locking nuts (B), then remove the covers (C).

Pic 3

12. Gently pull the radiator away from the front bulkhead and carefully remove the front WU-TWC.

Pic 4

13. Install the front WU-TWC with a new gasket and new self-locking nuts. Tighten the nuts in a crisscross pattern in two or three steps.

14. Install the parts in the reverse order of removal, and note these items:

- Reconnect the top radiator hose and clean up any spilled engine coolant.
- Install the EGR pipe with new gaskets.
- Install exhaust pipe A with new gaskets and self-locking nuts. Tighten the nuts in the proper sequence.
- Refill the radiator with engine coolant as needed, and bleed the system.

REAR WU-TWC (Bank 1)

1. Remove the rear A/F sensor (Sensor 1) and rear secondary HO2S (Sensor 2).

2. Remove exhaust pipe A See: Exhaust Pipe > Removal and Replacement > Exhaust Pipe And Muffler Replacement.

3. Remove the driveshaft support base See: Axle Shaft Assembly > Removal and Replacement > Driveshaft Support Base Replacement.

4. Remove the rear WU-TWC bracket (A), carefully remove the rear WU-TWC (B), then remove the covers (C).

Pic 5

5. Carefully install the rear WU-TWC with a new gasket (D) and new self-locking nuts (E). Tighten the nuts in a crisscross pattern in two or three steps.

6. Install the remaining parts in the reverse order of removal.

_________________________________________-

Let me know if this helps or if you have other questions.

Joe
Was this
answer
helpful?
Yes
No
+1
Tuesday, December 15th, 2020 AT 5:36 PM

Please login or register to post a reply.