No power to radio

Tiny
SANDRAMCGOWAN401
  • MEMBER
  • 2001 MAZDA B3000
  • 3.0L
  • 2WD
  • MANUAL
  • 209 MILES
Not getting power to space where fuse goes for radio?
What do I need to do?
Wednesday, June 19th, 2019 AT 11:56 AM

1 Reply

Tiny
SCGRANTURISMO
  • MECHANIC
  • 4,897 POSTS
Hello,

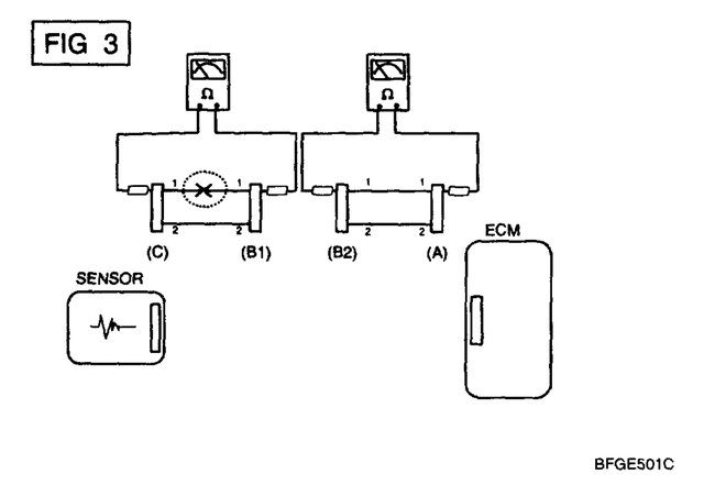
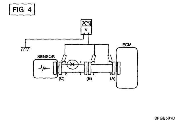
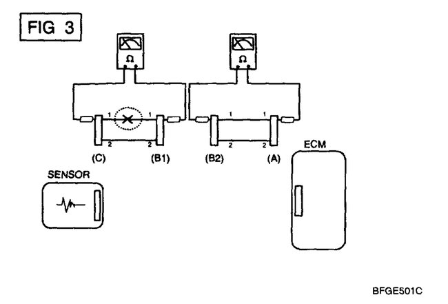
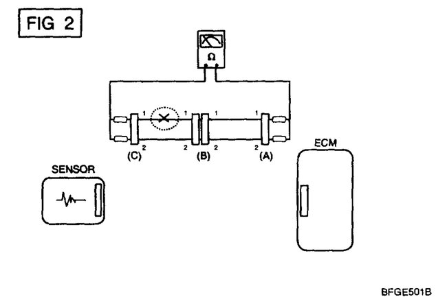
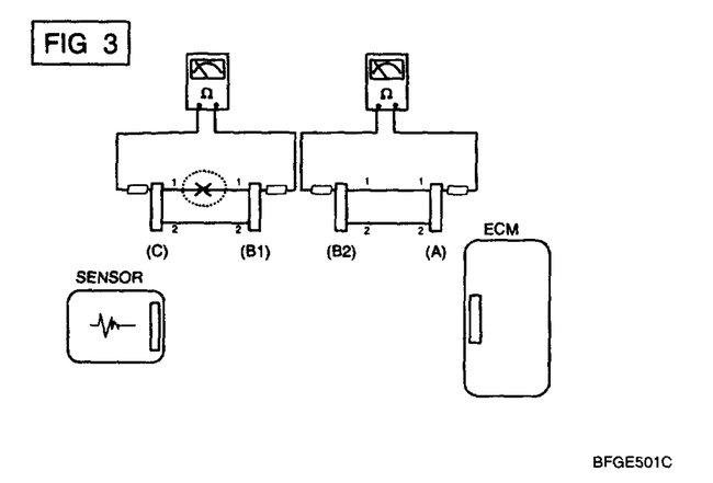
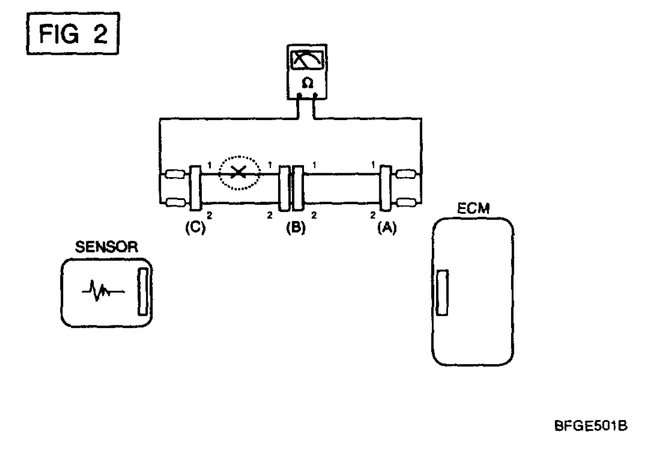
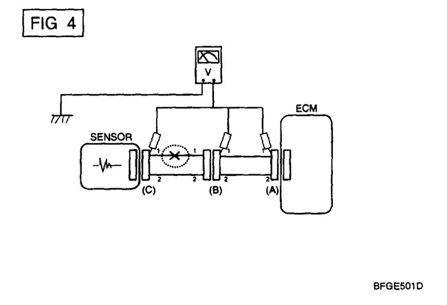
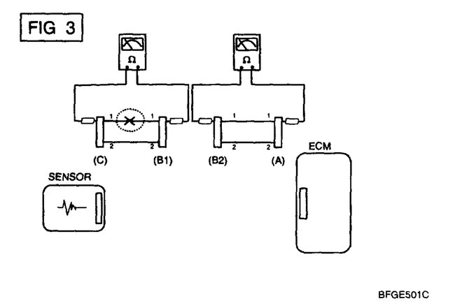
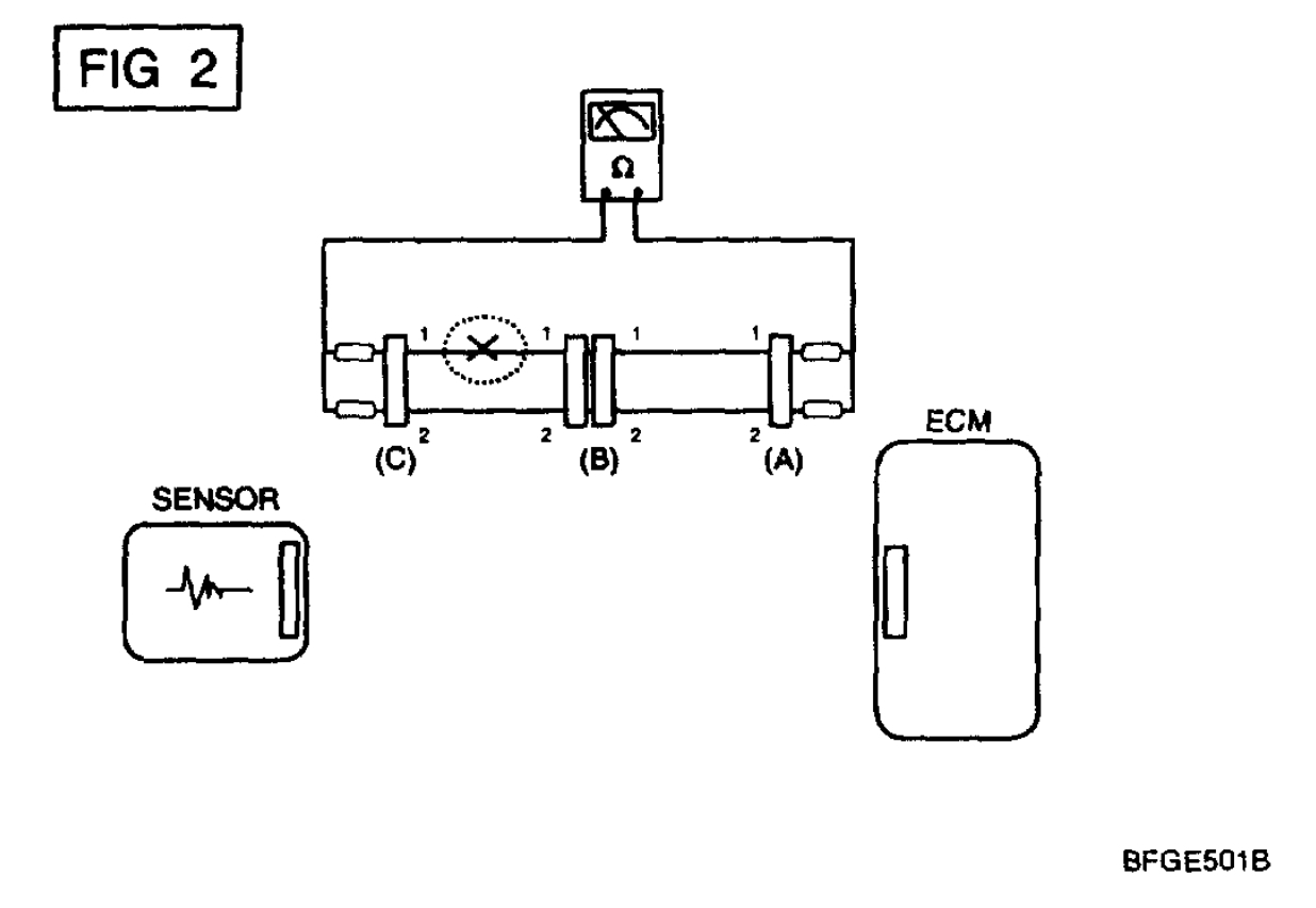
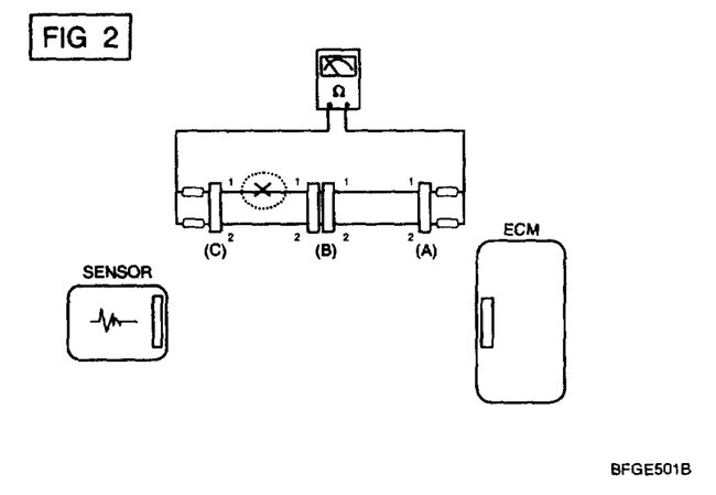
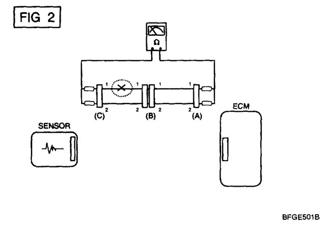
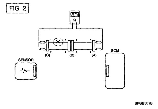
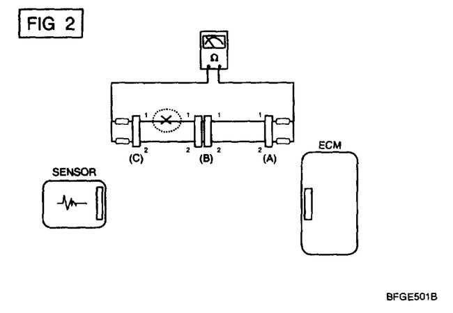
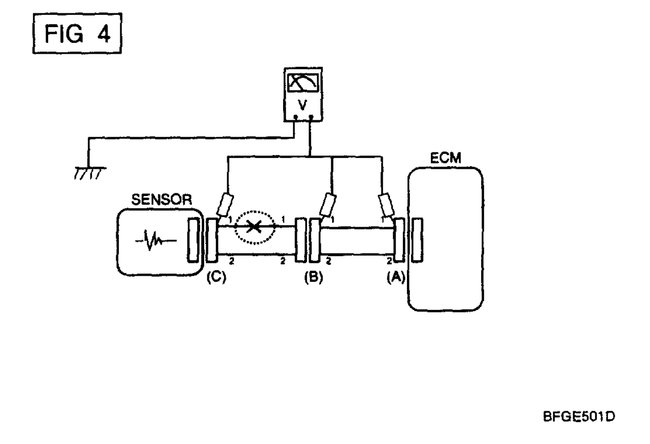
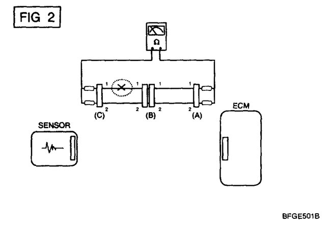
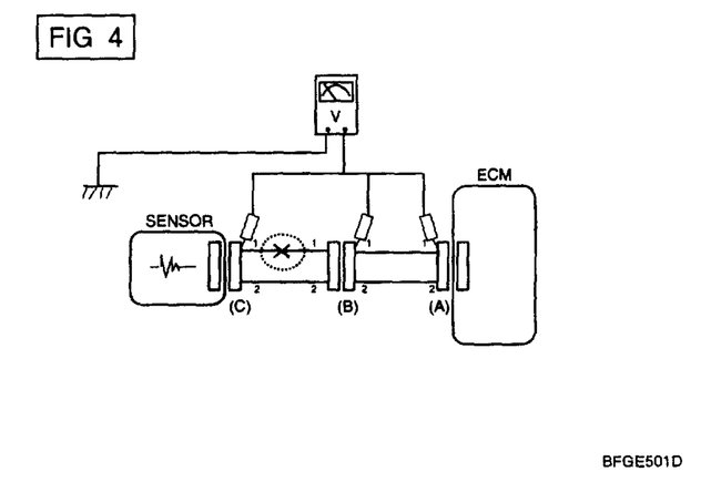
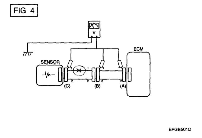
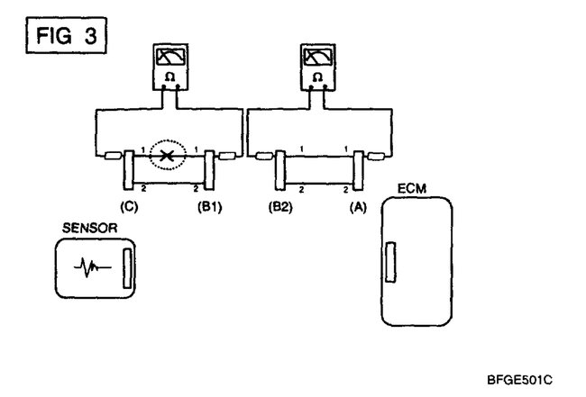
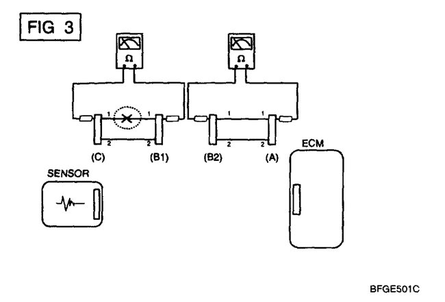
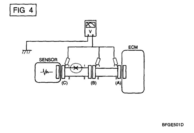
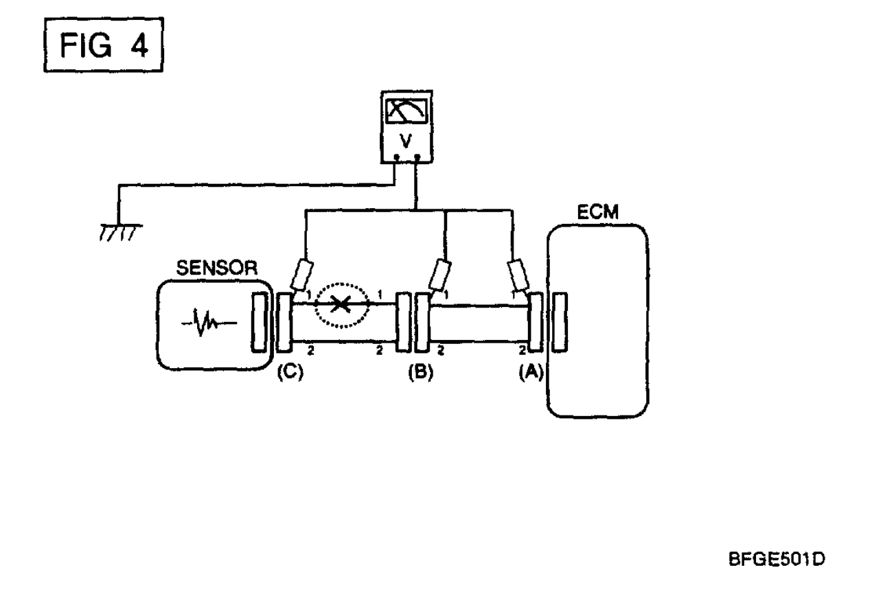
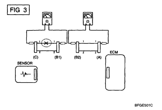
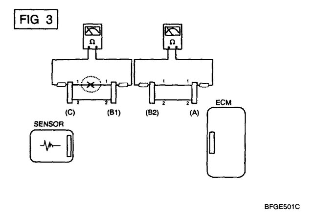
You are going to have trace the wire back to the battery and find out where the open is in it. I have included directions on how to find an open in a circuit in the diagrams down below. Please get back to us with what you are able to find out.

Thanks,
Alex
2CarPros
Was this
answer
helpful?
Yes
No
Thursday, June 20th, 2019 AT 2:17 AM

Please login or register to post a reply.