Power steering gear box

2001 GMC SONOMA
167,000 MILES • 4.3L • V6 • 2WD • AUTOMATIC
Avatar
CANNON1349
  • AUTOMOTIVE REPAIR CONTRIBUTOR
  • 861 POSTS
I'm doing a front end kit on this truck, customer complained of a loose steering wheel and wanted to replace the steering box. Can't you adjust these? Or, how do you replace it?
Mar 13, 2020 at 7:38 PM
Advertisement
Repair Safety Notice: This information is for general instructional purposes only. Vehicle repair can be dangerous. Verify all information, follow manufacturer service procedures, use proper tools and safety equipment, and consult a qualified repair shop when needed.
Avatar
JACOBANDNICKOLAS
  • AUTOMOTIVE REPAIR CONTRIBUTOR
  • 110,190 POSTS
Hi,

Here are the directions for replacement:

______________

2001 GMC Truck S15/T15 Sonoma P/U 2WD V6-4.3L VIN W
Power Steering Gear Replacement
Vehicle Steering and Suspension Steering Steering Gear Service and Repair Procedures Power Steering Gear Replacement
POWER STEERING GEAR REPLACEMENT
- Tools Required
- J 42640 Steering Column Anti-Rotation Pin

Removal Procedure

Notice: Do not rotate steering shaft after steering column has been removed. Damage to SIR components may occur.


pic 1


1. Lock the steering column through the access hole in the steering column lower trim cover using the J 42640.
2. Remove the air cleaner assembly. Refer to Air Cleaner Outlet Resonator Replacement in Powertrain Management.

pic 2


3. Remove the intermediate shaft shield from the steering gear.


pic 3


4. Place a drain pan below the steering gear.
5. Remove the pressure and the return hoses from the power steering gear.
Cap or tape the ends of the hoses and the gear fittings in order to prevent dirt from entering the system.


pic 4


6. Remove the lower intermediate shaft coupling bolt.
7. Draw alignment marks on the lower intermediate shaft coupling and the steering shaft.
8. Remove the lower intermediate shaft coupling from the steering shaft.
9. Remove the pitman arm. Refer to Pitman Arm Replacement.


pic 5


10. Remove the steering gear mounting bolts and the washers from the frame.
11. Remove the steering gear.

Installation Procedure


pic 6


1. Install the steering gear.

Notice: Refer to Fastener Notice in Service Precautions.

2. Install the power steering gear to the frame washers and the mounting bolts.
Tighten
Tighten the power steering gear to frame mounting bolts to 75 Nm (55 ft. lbs.).
3. Install the pitman arm. Refer to Pitman Arm Replacement.


pic 7


4. Install the lower intermediate shaft to the power steering gear.
Ensure that the alignment marks line up.
5. Install the lower intermediate shaft coupling bolt.
Tighten
Tighten the lower intermediate shaft coupling bolt to 35 Nm (26 ft. lbs.).


pic 8


6. Install the pressure and the return hoses to the power steering gear.
Tighten
- Tighten the pressure hose to 25 Nm (18 ft. lbs.) for the vehicle equipped with the 2.2L engines.
- Tighten the pressure hose to 30 Nm (22 ft. lbs.) for the vehicle equipped with the 4.3L engines.
- Tighten the return hose to 25 Nm (18 ft. lbs.).


pic 9

7. Install the intermediate shaft shield to the power steering gear.
8. Install the air cleaner assembly. Refer to Air Cleaner Outlet Resonator Replacement in Powertrain Management.


pic 10


9. Unlock the steering column by removing the J 42640 from the steering column lower steering column trim cover access hole.
10. Bleed the power steering system. Refer to Bleeding Power Steering System in Steering / Service and Repair.

____________________

If you want to try adjusting preload, here are the directions.

2001 GMC Truck S15/T15 Sonoma P/U 2WD V6-4.3L VIN W
Pitman Shaft Over-Center Preload Adjustment (Off Vehicle)
Vehicle Steering and Suspension Steering Steering Gear Adjustments Pitman Shaft Over-Center Preload Adjustment (Off Vehicle)
PITMAN SHAFT OVER-CENTER PRELOAD ADJUSTMENT (OFF VEHICLE)

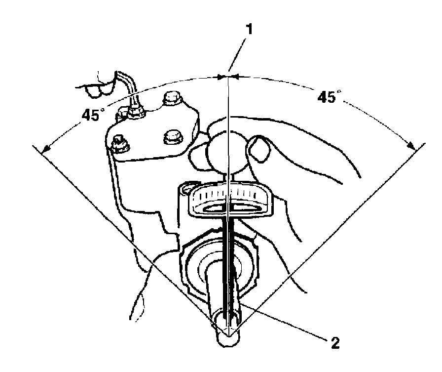
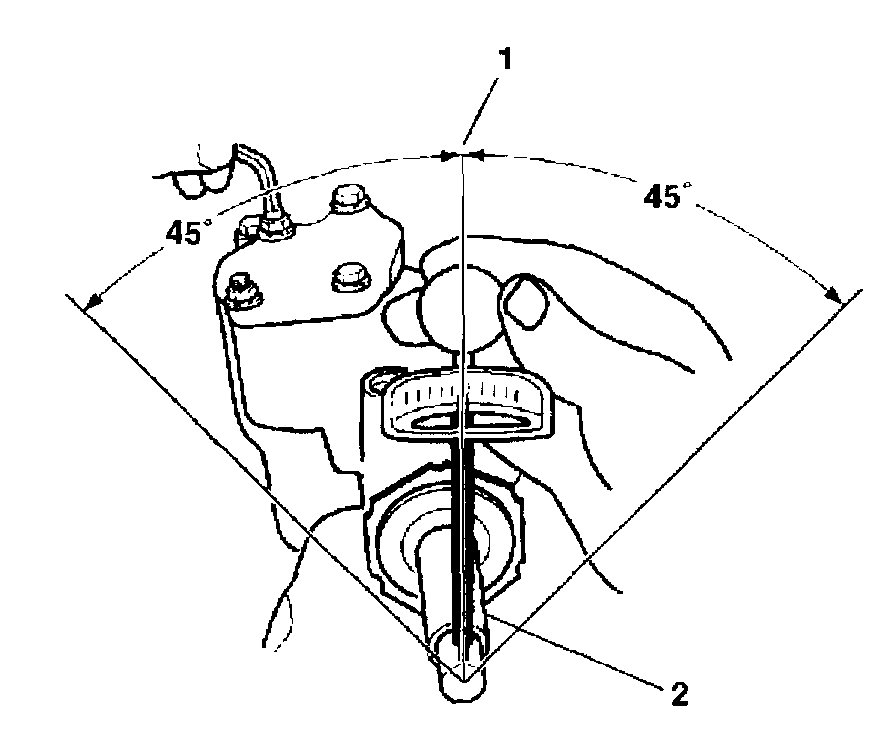
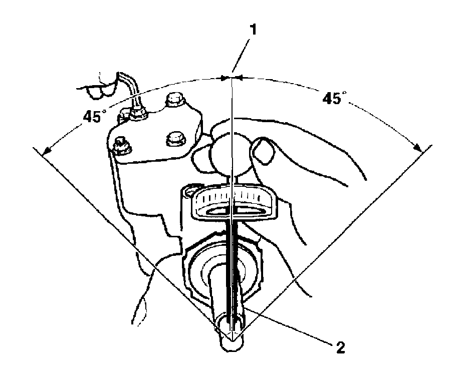
pic 11


1. Adjust the worm shaft and valve, refer to: Worm Thrust Bearing Preload Adjustment - Off Vehicle.
2. Rotate the stub shaft (3) back and forth to drain the power steering fluid.
3. Loosen the adjuster lock nut (4).
4. Turn the pitman shaft adjuster screw (1) counterclockwise until the screw is fully extended.
5. Turn the pitman shaft adjuster screw (1) clockwise 1 full turn.
6. Rotate the stub shaft (3) from stop to stop using a 12-point socket while counting the number of turns.
7. Starting at either stop, turn the stub shaft (3) back half of the total number of turns. This is the center of the gear.


pic 12


8. Make sure that the gear is centered by checking the following items:
- The flat on the stub shaft (3) faces upward.
- The flat on the stub shaft (3) is parallel with the side cover (2).
9. Align the master spline (5) on the pitman shaft (4) with the adjuster screw (1).


pic 13


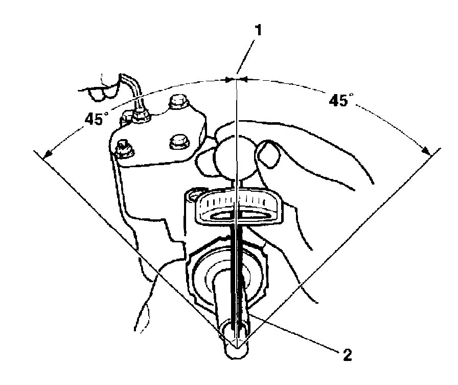
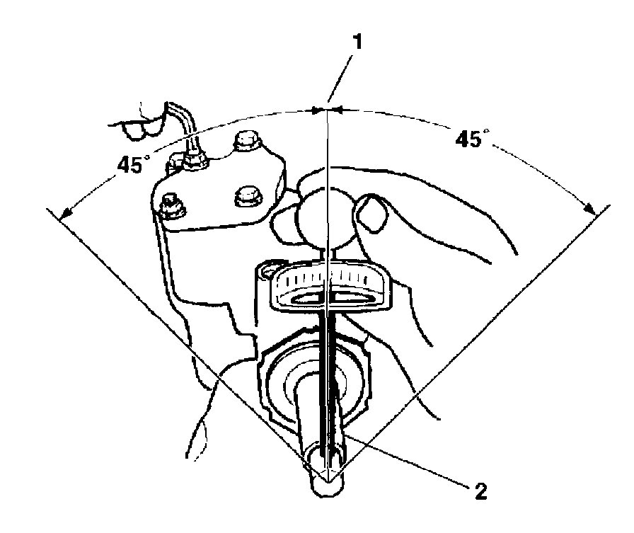
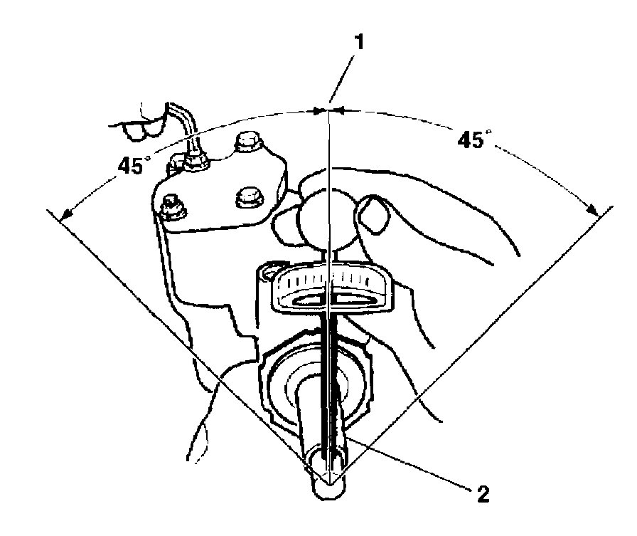
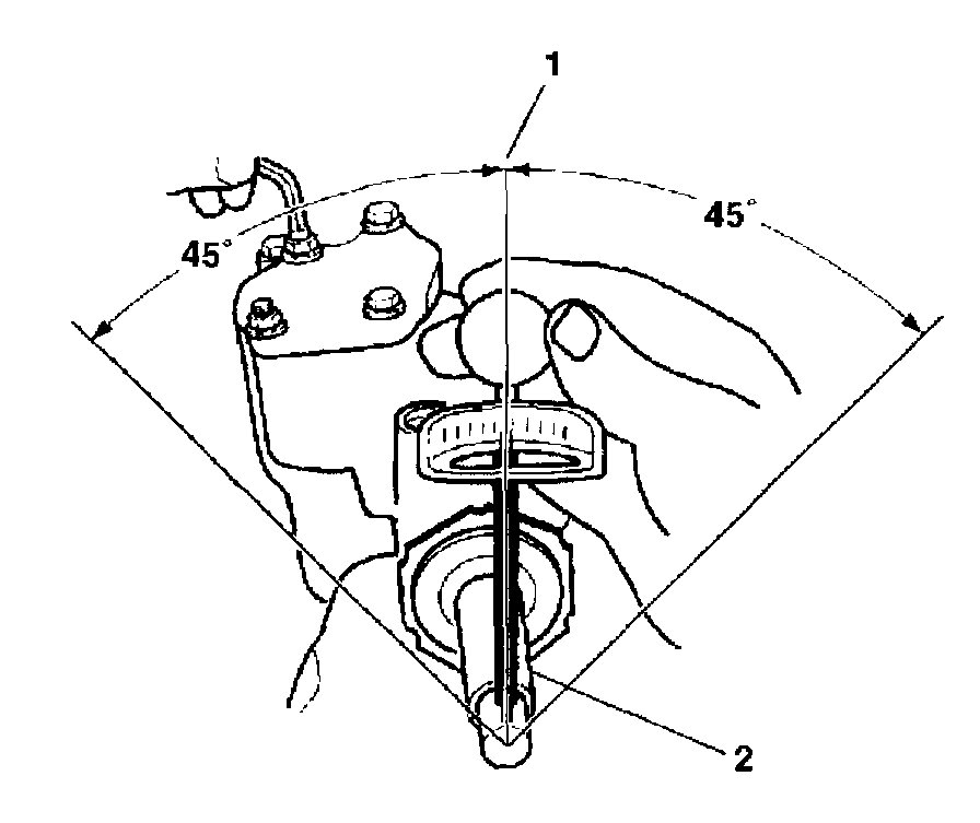
10. Place a torque wrench on the stub shaft (2) with the handle in the vertical position.
11. Rotate the stub shaft (2) 45 degrees from each side of the center of the stub shaft. The stub shaft (2) must rotate smoothly.
12. Record the worm bearing preload measured on or near the center (1). The recorded bearing preload must be 0.7 - 1.7 Nm (6 - 15 inch lbs.) with the worm and the ball nut installed. If the torque is outside of this range, readjust or repair the steering gear assembly as required.

Notice: Refer to Fastener Notice in Service Precautions.

13. To obtain the correct preload torque, adjust the over-center torque by turning the pitman shaft adjuster screw clockwise.
14. Add 0.7 - 1.1 Nm (6 - 10 inch lbs.) torque to the previously measured worm bearing preload torque.
Tighten
Tighten the adjuster lock nut to 49 Nm (36 ft. lbs.).
Prevent the adjuster screw from turning while tightening the adjuster lock nut.

_________________

Let me know if this helps or if you have other questions.

Take care,
Joe
Mar 13, 2020 at 10:37 PM
Avatar
CANNON1349
  • AUTOMOTIVE REPAIR CONTRIBUTOR
  • 861 POSTS
I'm a little in disbelief that it needs a new gearbox. The steering is sloppy, but I can move the steering shaft by hand under the hood, of course i can't move the wheels but the steering shaft moves back and forth under the hood. Would that mean it's the rag joint?
Mar 15, 2020 at 4:05 PM
Advertisement
Avatar
JACOBANDNICKOLAS
  • AUTOMOTIVE REPAIR CONTRIBUTOR
  • 110,190 POSTS
It could be, but are you seeing movement at the gear and the wheel not moving? Keep in mind, there are many components on this vehicle that can cause a loose feel. Make sure the pitman arm is tight, idler arm and so on.

There is a coupler for the steering shaft. You could check that for play. See pic 1.

Let me know.
Joe
Mar 15, 2020 at 6:22 PM
Avatar
CANNON1349
  • AUTOMOTIVE REPAIR CONTRIBUTOR
  • 861 POSTS
Well I just replaced the steering link, and inner and outer tie rods, lower control arms and upper ball joints. What pit-man arm are you referring to? And an idler arm?
Mar 15, 2020 at 6:24 PM
Advertisement
Avatar
JACOBANDNICKOLAS
  • AUTOMOTIVE REPAIR CONTRIBUTOR
  • 110,190 POSTS
I have to rewind. The pitman arm on this vehicle doesn't have the joint but rather the pitman arm shaft. See pic 1.

If everything is tight, then I would suggest trying the adjustment procedure I provided above. If it doesn't help, replace the gear.

Let me know.

Joe
Mar 15, 2020 at 6:39 PM
Avatar
CANNON1349
  • AUTOMOTIVE REPAIR CONTRIBUTOR
  • 861 POSTS
That pitman shaft nut is insanely tight. I tried a pipe wrench with a 2 foot piece of steel and it won't budge. Any ideas?
Mar 16, 2020 at 3:52 PM
Avatar
JACOBANDNICKOLAS
  • AUTOMOTIVE REPAIR CONTRIBUTOR
  • 110,190 POSTS
Hi,

Do you have an impact gun (the type for wheels)? That is what I use. The banging should break it loose.
Mar 16, 2020 at 4:24 PM
Avatar
CANNON1349
  • AUTOMOTIVE REPAIR CONTRIBUTOR
  • 861 POSTS
I do, however the largest socket I have is a 32mm, it looks like the nut is a 34mm, maybe.
Mar 16, 2020 at 4:42 PM
Avatar
JACOBANDNICKOLAS
  • AUTOMOTIVE REPAIR CONTRIBUTOR
  • 110,190 POSTS
It could be 34mm. Is there a part store near you? If so, see if they have an axle nut they lend or rent. Most will lend them for free. There will be one big enough in the set.

Let me know.

Joe
Mar 16, 2020 at 5:56 PM
Avatar
CANNON1349
  • AUTOMOTIVE REPAIR CONTRIBUTOR
  • 861 POSTS
So I got the nut off but that didn't help me any because the arm is frozen to the shaft. I tried using a pit-man arm puller to get it off but it didn't even budge. So i removed the gear from the vehicle with the arm still attached. Any ideas to get it off? I don't have a shop press.
Mar 17, 2020 at 4:54 PM
Avatar
JACOBANDNICKOLAS
  • AUTOMOTIVE REPAIR CONTRIBUTOR
  • 110,190 POSTS
Hi,

Heat the pit-man arm so it expands while the puller is on it. Then when it gets hot, (hit the arm only near where it mounts with heat), the puller should work. It isn't a bad idea to tap it with a hammer to help loosen corrosion while you have tension on it.

Let me know if it comes off for you.

Joe
Mar 17, 2020 at 5:49 PM
Avatar
CANNON1349
  • AUTOMOTIVE REPAIR CONTRIBUTOR
  • 861 POSTS
What about installing? It doesn't seem like there's any certain way it goes on.
Mar 17, 2020 at 7:10 PM
Avatar
JACOBANDNICKOLAS
  • AUTOMOTIVE REPAIR CONTRIBUTOR
  • 110,190 POSTS
Before taking it off, mark it. Place a mark on the shaft and arm that you can align. Make sure the steering wheel is straight and the front tires are also otherwise, you will have a steering wheel that will be off center when going straight.

You know, it's been awhile since I had one of these apart, but for some reason I remember one of the splines was missing on the shaft only allowing it to go on one way. Please don't quote me on that, but it just popped into my head.

_____________________________

Here are directions you may find helpful. The pics attached correlate with the directions and include torque specs.

____________________________

2001 GMC Truck S15/T15 Sonoma P/U 2WD V6-4.3L VIN W
Procedures
Vehicle Steering and Suspension Steering Pitman Arm Service and Repair Procedures
PROCEDURES
- Tools Required
- J 24319-B Steering Linkage and Tie Rod Puller
- J 29107-A Pitman Arm Puller
- J 6632-01 Pitman Arm Remover
- J 29193 Steering Linkage Installer (12 mm)
- J 29194 Steering Linkage Installer (14 mm)

Removal Procedure


pic 1


1. Raise and suitably support the vehicle. Refer to Vehicle Lifting.

Important: Use the proper tool in order to remove the relay ball stud nut.

2. Remove the relay rod ball stud at the pitman arm.


pic 2


3. Remove the relay rod ball stud from the pitman arm using J 24319-B.

Notice: Do not hammer on the pitman arm, pitman arm shaft or puller. Damage to the pitman arm or steering gear may result.

4. Remove the pitman arm nut and washer from the steering gear.


pic 3


5. Remove the pitman arm from steering gear using J 6632-01 or J 29107-A.
6. Inspect the ball stud threads for damage.
7. Inspect the ball stud seals for excessive wear.
8. Clean the threads on the ball stud and the ball stud nut.

Installation Procedure


pic 4


1. Install the pitman arm to the pitman arm shaft.

Notice: Refer to Fastener Notice in Service Precautions.

2. Install the pitman arm washer and nut to the pitman arm shaft.
Tighten
Tighten the pitman arm shaft nut to 250 Nm (185 ft. lbs.).
3. Install the relay rod ball stud to the pitman arm.
Ensure the seal is on the stud.


pic 5

4. Seat the taper using J 29193 or J 29194.
Tighten
Tighten J 29193 or J 29194 to 62 Nm (48 ft. lbs.).
5. Remove J 29193 or J 29194 from the relay rod ball stud.
6. Install the new nut to the relay rod ball stud.
Tighten
Tighten the relay rod ball stud nut to 83 Nm (61 ft. lbs.).
7. Lower the vehicle.

________________________

Let me know if that helps. I just remembered too that it was already off the vehicle. Count the number of turns the gear goes lock to lock and divide by 2 to find center. Then install the gear and once installed make sure the steering wheel is straight and the front tires. It may be slightly off, but should be close.

Let me know how it turns out or if you have other questions.

Joe
Mar 17, 2020 at 8:02 PM
Avatar
CANNON1349
  • AUTOMOTIVE REPAIR CONTRIBUTOR
  • 861 POSTS
Well, the shaft going to the steering column has a flat spot so that it goes into the coupler only one way. But the shaft where the pit-man arm goes just has 12 or 16 splines, I don't see any kind of orientation or how to compare the orientation to the new steering gear.
Mar 18, 2020 at 5:06 AM
Avatar
JACOBANDNICKOLAS
  • AUTOMOTIVE REPAIR CONTRIBUTOR
  • 110,190 POSTS
All you can do is try centering everything. It may require an alignment to straighten the steering wheel when done.

Let me know if you need anything.

Joe
Mar 18, 2020 at 12:03 PM
Avatar
CANNON1349
  • AUTOMOTIVE REPAIR CONTRIBUTOR
  • 861 POSTS
Well the torch worked. So everything is in and I superficially lined up the wheels. The steering is still loose.
Mar 19, 2020 at 5:58 PM
Avatar
JACOBANDNICKOLAS
  • AUTOMOTIVE REPAIR CONTRIBUTOR
  • 110,190 POSTS
Is there any play in the anything in the front end? The coupling on the steering shaft is tight, correct?

Let me know.

Joe
Mar 19, 2020 at 6:07 PM
Avatar
CANNON1349
  • AUTOMOTIVE REPAIR CONTRIBUTOR
  • 861 POSTS
Not to what I can see. The only thing original to the suspension right now is the idler arm. The coupling is bolted as tight as I could get it. But again, I can wiggle the shaft by hand.
Mar 19, 2020 at 6:08 PM
Avatar
JACOBANDNICKOLAS
  • AUTOMOTIVE REPAIR CONTRIBUTOR
  • 110,190 POSTS
That can cause an up and down issue and you can feel play. How far do you have to turn the steering wheel before you see the wheels start turning?

Joe
Mar 19, 2020 at 6:12 PM
Avatar
CANNON1349
  • AUTOMOTIVE REPAIR CONTRIBUTOR
  • 861 POSTS
Maybe an inch or two.
Mar 19, 2020 at 6:13 PM
Avatar
JACOBANDNICKOLAS
  • AUTOMOTIVE REPAIR CONTRIBUTOR
  • 110,190 POSTS
That's really isn't too excessive on this type of vehicle. Try replacing the idler arm. I have a feeling that will tighten it up for you.

Let me know if that takes care of it. Chances are that is the cause of what you are experiencing. Is it tighter than it was?

Joe
Mar 19, 2020 at 6:24 PM
Avatar
CANNON1349
  • AUTOMOTIVE REPAIR CONTRIBUTOR
  • 861 POSTS
Maybe it is... Just slightly. I will say turning isn't as dramatic as it was.
Mar 19, 2020 at 6:25 PM
Avatar
JACOBANDNICKOLAS
  • AUTOMOTIVE REPAIR CONTRIBUTOR
  • 110,190 POSTS
Try the idler arm. Remember, it isn't a Porsche. LOL These things had a small amount of play in them when they were new. If everything is new and tight, there really isn't much more you can do.

Regardless, let me know if the idler arm takes care of the issue. It could be allowing the play that you are feeling.

Take care of yourself.

Joe
Mar 19, 2020 at 6:27 PM