P1600 error code

Tiny
CHRISTOPHER SHANE BRIAN
  • MEMBER
  • 1997 GEO PRIZM
  • 1.6L
  • 4 CYL
  • 200,000 MILES
No spark. Changed to igniter, relay and distributor as an assembly. It has plenty of fuel at rail and still no spark. Help!
Wednesday, November 20th, 2019 AT 4:52 PM

3 Replies

Tiny
JACOBANDNICKOLAS
  • MECHANIC
  • 110,192 POSTS
Hi,

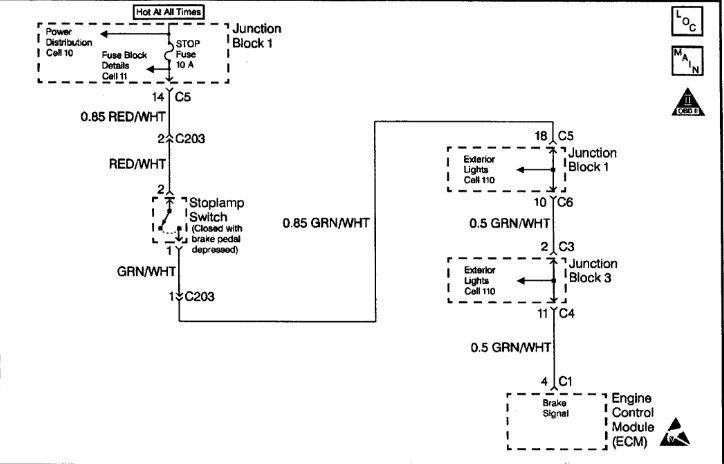
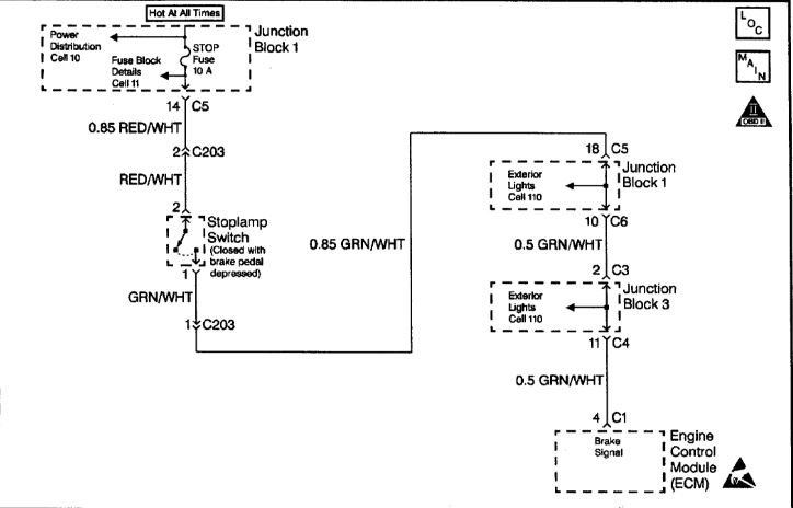
The code indicated keep alive battery voltage to the ECM is lost. Battery positive voltage is supplied to the ECM even when the Ignition switch is off. For this code to set, you have an open or short in the back up power source circuit.

I attached a schematic for the system. You will need to check connections at the ECM for damage, pushed in pins, corrosion, and that it is tight. Next, picture 2 and 3 are a flow chart to help locate the problem specific to this code. Interestingly, if this code is set, no other codes will be indicated.

Please keep in mind, the ECM itself may have failed.

_____________________________

Take a look through the flow chart and let me know if it helps or if you have other questions. Keep in mind, the ECM sends out a 2 volt pull up on the brake signal circuit. If there is power lost to that circuit, it can cause the issue.
Was this
answer
helpful?
Yes
No
+1
Wednesday, November 20th, 2019 AT 9:03 PM
Tiny
CHRISTOPHER SHANE BRIAN
  • MEMBER
  • 11 POSTS
Thanks, I will respond ASAP.
Was this
answer
helpful?
Yes
No
Thursday, November 21st, 2019 AT 8:07 PM
Tiny
JACOBANDNICKOLAS
  • MECHANIC
  • 110,192 POSTS
Happy to help. Let me know what you find.

Take care,

Joe
Was this
answer
helpful?
Yes
No
Thursday, November 21st, 2019 AT 8:41 PM

Please login or register to post a reply.