Wednesday, May 15th, 2019 AT 8:38 PM
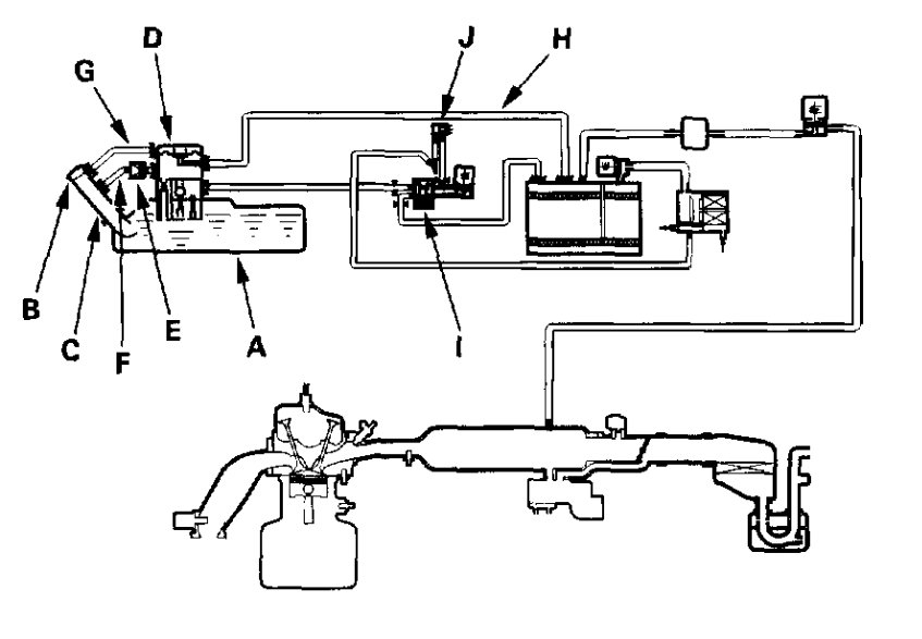
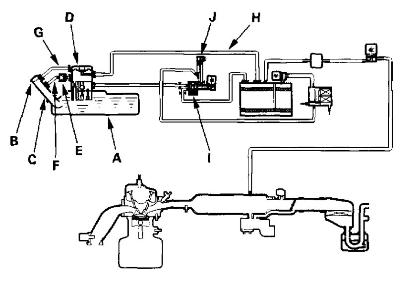
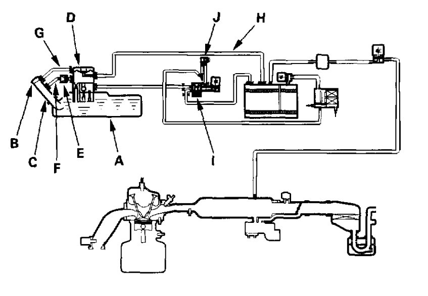
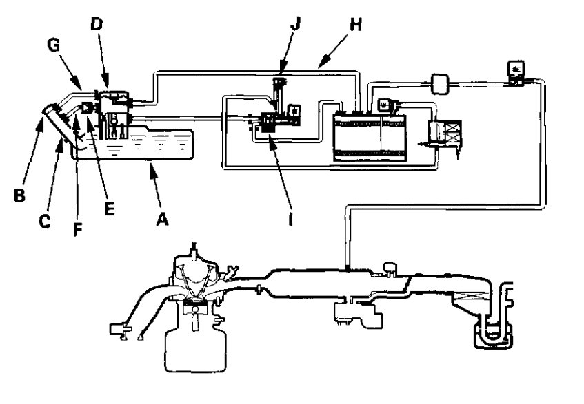
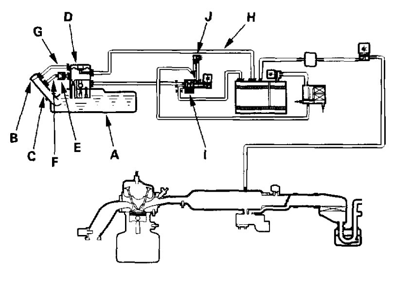
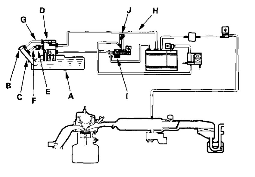
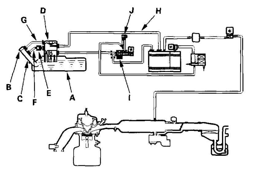
I have code p 1456 on my car. I have replaced two hoses, gas cap, and vapor canister. The code will not disappear. I have literally checked every tube, hose, solenoid, two-way valve, filler tube, gs tank connection, fuel filter, nothing is wrong. I did smell gas fumes, until I repaired the three items I mentioned. What else could it be? I need a smog and wont pass without fixing this. Trying to avoid paying for a smoke EVAP test.




















