Code P0441

Tiny
IGENIUS92
  • MEMBER
  • 1997 CHEVROLET CAMARO
  • 3.8L
  • V6
  • 2WD
  • MANUAL
  • 150,000 MILES
Hello, my car listed above has a rough idle and exhaust smells with smoke out tail pipe, block test done no blown head gasket. Can anyone help?
Thursday, September 23rd, 2021 AT 7:27 PM

4 Replies

Tiny
JACOBANDNICKOLAS
  • MECHANIC
  • 110,192 POSTS
Hi,

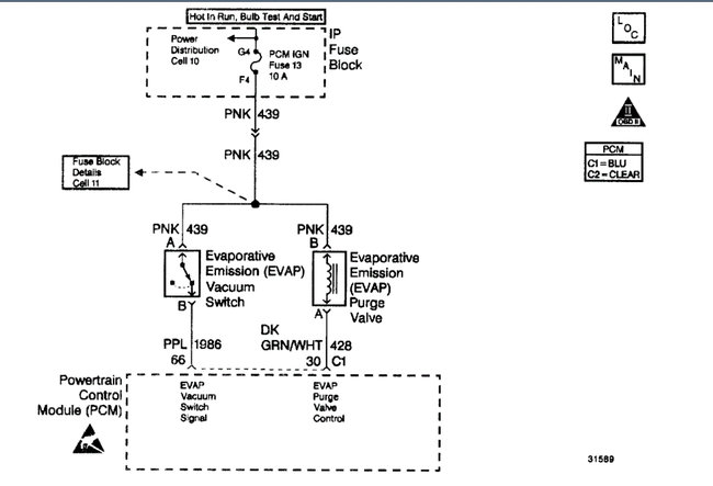
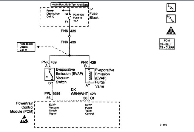
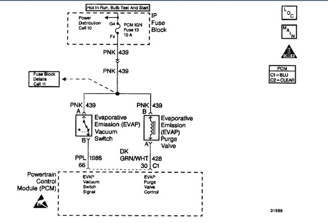
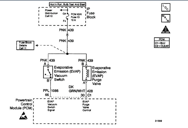
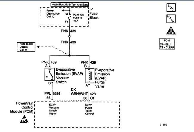
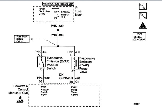
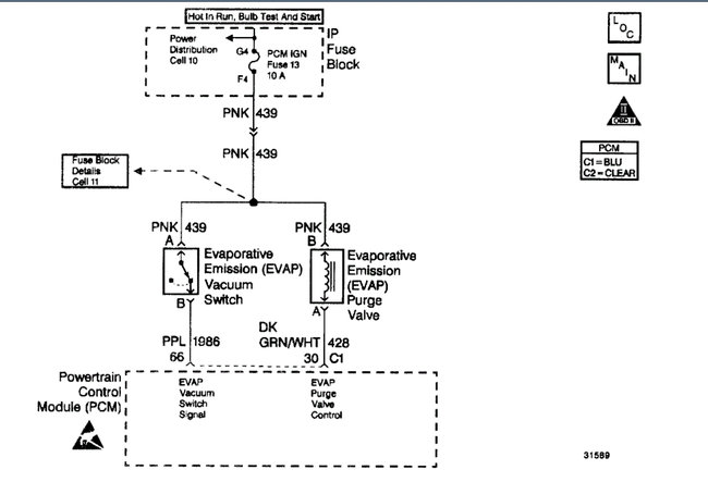
What color smoke do you see? Also, the code indicated an issue with the evap system's purge valve solenoid. This solenoid is actuated by engine vacuum, which can be causing drivability issues. However, there also are several electrical components involved.

If you are seeing dark gray/black smoke from the exhaust, there is a chance the system is running too rich due to a vacuum leak.

I attached the diagnostics below for this code. Take a look through them and let me know if it is something you are comfortable doing.

Take care,

Joe

See pics below.
Was this
answer
helpful?
Yes
No
Thursday, September 23rd, 2021 AT 8:11 PM
Tiny
IGENIUS92
  • MEMBER
  • 205 POSTS
Well, it's like semi grey dark smoke. No blown head gasket it already did a block test. Can you tell me or give me a graph on where my purge valve solenoid is?
Was this
answer
helpful?
Yes
No
Sunday, September 26th, 2021 AT 12:16 PM
Tiny
IGENIUS92
  • MEMBER
  • 205 POSTS
Oh, also the connections and where the inputs and outputs are supposed to go? I may have mixed up some hoses, lol.
Was this
answer
helpful?
Yes
No
Sunday, September 26th, 2021 AT 12:17 PM
Tiny
JACOBANDNICKOLAS
  • MECHANIC
  • 110,192 POSTS
Hi,

Gray smoke is usually an indication of a rich fuel mixture (too much fuel).

If you look at pic 1 below, it shows the location of the purge valve solenoid. Pics 2 and 3 show the purge valve from two different points of view. Also, they provide the vacuum schematics.

Let me know if this helps.

Joe
Was this
answer
helpful?
Yes
No
Sunday, September 26th, 2021 AT 7:25 PM

Please login or register to post a reply.