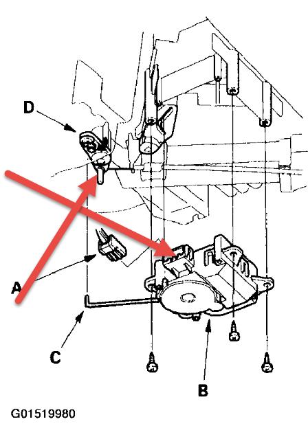
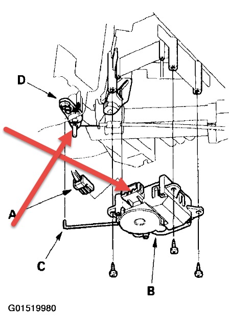
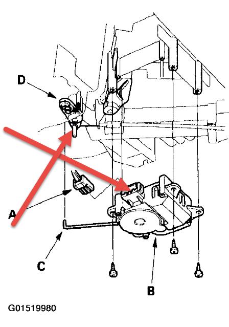
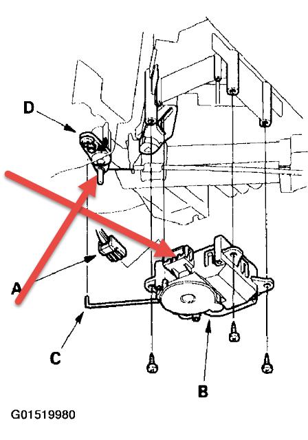
I have the van listed above with heat issue. My van does not have AC. When I turn the heat, cold air comes up. I first took it to mechanic where he changed the the heater valve but still no heat, then he flushed the heater core, the heat came up fine that day but the next day there was no heat. I changed radiator where there was leak and I changed thermostat too. I did not flush heater core when thermostat replaced though. I should mention that both heater core lines are equally hot based on the mechanic, does this that mean I would need to change the heater core? Please help.
Dec 11, 2018 at 10:33 AM






