Hello
I have attached information on changing the bulbs. Hope this helps.
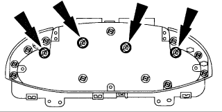
Warning Indicator Bulbs
Removal and Installation
Remove the instrument cluster; refer to INSTRUMENT CLUSTER.

Remove the desired miniature bulb by turning it a quarter turn counterclockwise and lifting straight up.
To install, reverse the removal procedure.
Select Indicator Bulbs
Removal and Installation
Remove the instrument cluster. For additional information, refer to INSTRUMENT CLUSTER.

Remove the selector lever indicator bulb.
To install, reverse the removal procedure.
Insturment Cluster Bulbs
Removal and Installation
Remove the instrument cluster. For additional information, refer to INSTRUMENT CLUSTER.

Remove the instrument cluster bulbs.
To install, reverse the removal procedure
Tuesday, October 21st, 2008 AT 10:32 PM