Losing fuel pressure

Tiny
JACKOCOOPER
  • MEMBER
  • 1988 ALFA ROMEO GTV
  • 3.0L
  • V6
  • 2WD
  • MANUAL
  • 70,000 MILES
I have the car listed above 75 model. The car has sat for five years and I have been trying to get it up and running for the past year. The car seems to be running fine now, however when the car has been running for ten to fifteen minutes at operating temperature, it starts to bog and lose a lot of power. Sometimes it even stalls out. Carrying out a fuel pressure test, I have noticed that when this happens, the pressure decreases more and more. The fuel pump also makes a loud whining noise, which gets louder with time.
After the car stalls out, I can turn the ignition on to pressurize the system (back to its full 35 psi - in spec) and it will run fine for another ten to fifteen minutes.
The fuel pump is brand new (old one also whined so I replaced it), as is the fuel filter. Most of the old fuel was siphoned out and new fuel put back in.
Any ideas?
Monday, December 4th, 2017 AT 5:07 AM

5 Replies

Tiny
MHPAUTOS
  • MECHANIC
  • 31,937 POSTS
We do not have a lot of information on this model, but from what you are saying, I would be looking at a problem with a fuel pressure regulator, these are normally fitted to the fuel rail at the injectors and maintain correct injector rail fuel pressure. They are often vacuum operated your valve may be stuck or just faulty from lack of use, look here first.
Was this
answer
helpful?
Yes
No
Monday, December 4th, 2017 AT 2:17 PM
Tiny
JACKOCOOPER
  • MEMBER
  • 3 POSTS
I believe the fuel pressure regulator is functioning correctly. Pressure rises to 35psi when the vacuum line is disconnected (within specs), and falls by 10psi when connected.
Was this
answer
helpful?
Yes
No
Tuesday, December 5th, 2017 AT 8:05 AM
Tiny
MHPAUTOS
  • MECHANIC
  • 31,937 POSTS
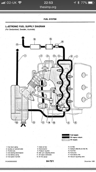
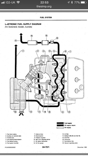
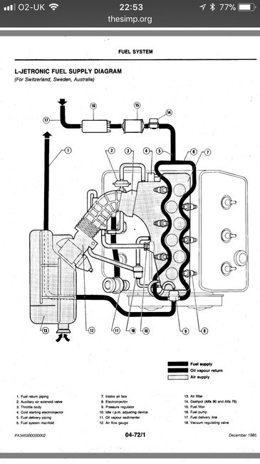
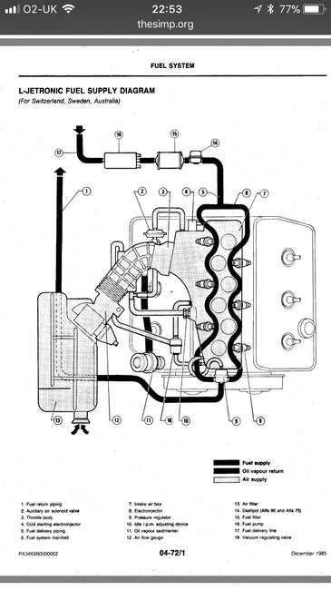
Check fuel return line. Is fuel flow here increasing? Is fuel dumping back into the tank? If a closed loop system, not a return line system. The problem will have to be at the pump still. I am trying to locate a schematic for this fuel system. It is a bit hard diagnosing with out knowing exactly how the system works.
Was this
answer
helpful?
Yes
No
+1
Tuesday, December 5th, 2017 AT 1:25 PM
Tiny
JACKOCOOPER
  • MEMBER
  • 3 POSTS
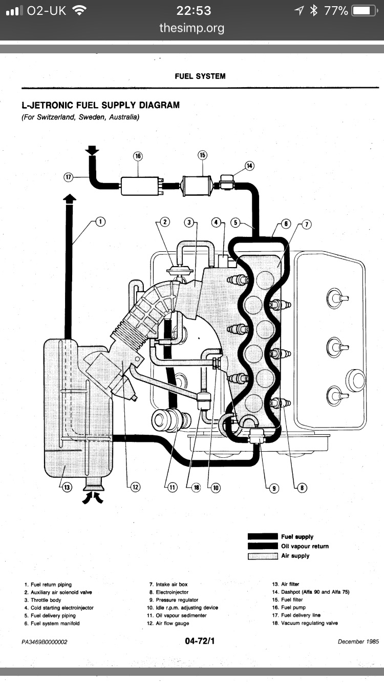
See attached image. I hope you can read that.
I understand. The pressure regulator may be sending too much fuel back to the tank? Why would this only happen occasionally? When the car has been running a few minutes?
Was this
answer
helpful?
Yes
No
Tuesday, December 5th, 2017 AT 3:02 PM
Tiny
MHPAUTOS
  • MECHANIC
  • 31,937 POSTS
There may be silt or fine rust in the fuel rail and it is getting stuck under the pressure regulator metering valve.
Was this
answer
helpful?
Yes
No
Tuesday, December 5th, 2017 AT 5:15 PM

Please login or register to post a reply.

Related Fuel Pressure Content

Fuel Pump Pressure Test
VIDEO