Ignition switch will not turn off

Tiny
CYNDY LOU
  • MEMBER
  • 2002 GMC ENVOY
  • 4WD
  • AUTOMATIC
  • 152,000 MILES
Car is running and ignition/key will not turn off. Gear shift will move through the positions and return to park.
We have pulled the fuel pump fuse to get the car to turn off. I have also had to disconnect ground to battery to turn power off.

What is my next step to turn ignition off and remove key?
Saturday, February 2nd, 2019 AT 3:37 AM

3 Replies

Tiny
ASEMASTER6371
  • MECHANIC
  • 52,796 POSTS
Good morning,

It sounds like the ignition switch is bad and the tumblers are damaged for the key.

You will need to replace the lock cylinder for the switch.

The procedure is below.

Roy

This article updated with TSB 02-02-35-001.

Ignition lock cylinder replacement - on vehicle

Removal Procedure

1. Disconnect the negative battery cable.

Caution: This vehicle is equipped with a Supplemental Inflatable Restraint (SIR) System. Failure to follow the correct procedure could cause the following conditions:
- Air bag deployment
- Personal injury
- Unnecessary SIR system repairs

In order to avoid the above conditions, observe the following guidelines:
- Refer to SIR Component Views in order to determine if you are performing service on or near the SIR components or the SIR wiring.

- If you are performing service on or near the SIR components or the SIR wiring, disable the SIR system.

2. Disable the SIR system.
3. Lower the hush and knee bolster.
4. Remove the steering column trim covers. See: Steering Column > Removal and Replacement > Steering Column Trim Covers
5. With the key installed, turn the key to the RUN position.

ImageOpen In New TabZoom/Print

6. Install an allen wrench into the hole on top of the lock cylinder housing.
Push down on the allen wrench to release the tab on the lock cylinder inside the lock cylinder housing.
7. Slide the lock cylinder out of the lock cylinder housing.

ImageOpen In New TabZoom/Print

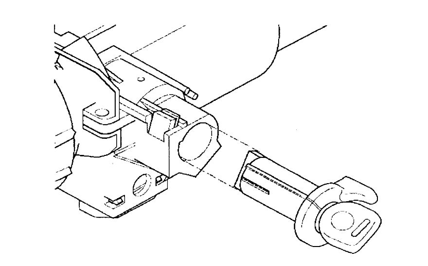
8. Pull the ignition lock cylinder away from the steering column.

Installation Procedure

imageOpen In New TabZoom/Print

1. Install the key into the lock cylinder.
IMPORTANT: The gears between the ignition switch and the lock cylinder housing must be in the correct position. Failure to do so will cause a misalignment of the gears in the ignition switch and the lock cylinder housing, which may result in a NO START or BATTERY DRAIN.
2. Use a screwdriver to rotate the lock cylinder housing gear clockwise to the start position - allowing it to spring return into the RUN position.

ImageOpen In New TabZoom/Print

3. Align the lock cylinder and install into the lock cylinder housing.
4. Install the steering column trim covers. See: Steering Column > Removal and Replacement > Steering Column Trim Covers
5. Install the hush and knee bolster.
6. Enable the SIR system.
7. Connect the negative battery cable.
8. Perform the PASSLOCK learn procedure. See: Vehicle > Programming and Relearning > Theft Deterrent - Programming Components
With Immobilizer See: Vehicle > Programming and Relearning

The key will need to learn the password for the system. Use this procedure.

10 Minute Re-Learn Procedure
Use this procedure after replacing any of the following components:
The passkey III+ (PK3+) keys
The theft deterrent control module
The PCM, see Important above

IMPORTANT: If replacing a theft deterrent control module with a GM Service Parts Operation (SPO) Replacement Part, insure the procedure to setup a new theft deterrent control module has been performed prior to the 10 Minute Re-Learn Procedure.

1. Connect the Tech 2 diagnostic scan tool to the vehicle.
2. With the scan tool, select Request Info. Under Service Programming System and follow the scan tool on screen instructions.
3. Disconnect the scan tool from the vehicle and connect it to a Techline Terminal with current Service Programming System (SPS) software.
4. On the Techline Terminal, select Service Programming Systems and follow the Techline Terminal on screen instructions.
5. Disconnect the scan tool from the Techline Terminal and re-connect it to the vehicle.
6. With a master passkey III+ (PK3+) key, turn ON the ignition, with the engine OFF.
7. With the scan tool, select Program ECU under Service Programming System.
8. At this point the scan tool must remain connected for the duration of the 10 Minute Re-Learn Procedure.
9. Observe the SECURITY telltale or the scan tool on screen timer, after approximately 10 minutes the scan tool timer will expire and/or the telltale will turn off. The vehicle is now ready to relearn the key information and/or passwords on the next ignition switch transition from OFF to CRANK.
10. Turn OFF the ignition and wait 5 seconds.
11. With a master passkey III+ (PK3+) key, start the vehicle, the theft deterrent control module has now learned the key transponder information and the PCM has now learned the fuel continue password.
12. Turn OFF the ignition and wait 15 seconds minimum.
13. With a second master passkey III+ (PK3+) key, start the vehicle, the theft deterrent control module has now learned the second master passkey III+ (PK3+) key transponder information.
14. Learning Additional keys, if required. Refer to Adding Keys (Export).
15. With the scan tool, clear any DTCs.
Was this
answer
helpful?
Yes
No
+1
Saturday, February 2nd, 2019 AT 4:31 AM
Tiny
JENNY PONCE
  • MEMBER
  • 3 POSTS
I came home this morning put my car in park tried turning the ignition off and ignition only goes partway and my key is stuck inside ignition and my battery light comes on. So how do I put my condition and off so I can take my key out?
Was this
answer
helpful?
Yes
No
-1
Wednesday, September 4th, 2019 AT 8:23 AM
Tiny
ASEMASTER6371
  • MECHANIC
  • 52,796 POSTS
Did you replace the ignition switch?

Roy
Was this
answer
helpful?
Yes
No
Wednesday, September 4th, 2019 AT 8:28 AM

Please login or register to post a reply.