Ignition problem

1999 FORD RANGER
130,000 MILES • 3.0L • V6 • 4WD • AUTOMATIC
Avatar
1967THUNDERBIRD
  • MEMBER
  • 5 POSTS
When I turn the key to the start position nothing happens, but if I turn it back slightly it will start. What could be wrong with it? I have put in a new ignition switch, starter, and starter relay. It did this before I changed anything. I replaced everything trying to find the problem.
Jan 12, 2019 at 1:01 PM
Advertisement
Repair Safety Notice: This information is for general instructional purposes only. Vehicle repair can be dangerous. Verify all information, follow manufacturer service procedures, use proper tools and safety equipment, and consult a qualified repair shop when needed.
Avatar
JACOBANDNICKOLAS
  • AUTOMOTIVE REPAIR CONTRIBUTOR
  • 110,190 POSTS
Hi and thanks for using 2CarPros.

Did you replace the ignition lock portion? That's where the key goes. Or, did you replace the actual switch? Here are the directions for the switch. Let me know if this is what was done.

_________________________

Removal


See picture 1


1. Disconnect the battery ground cable.


See picture 2


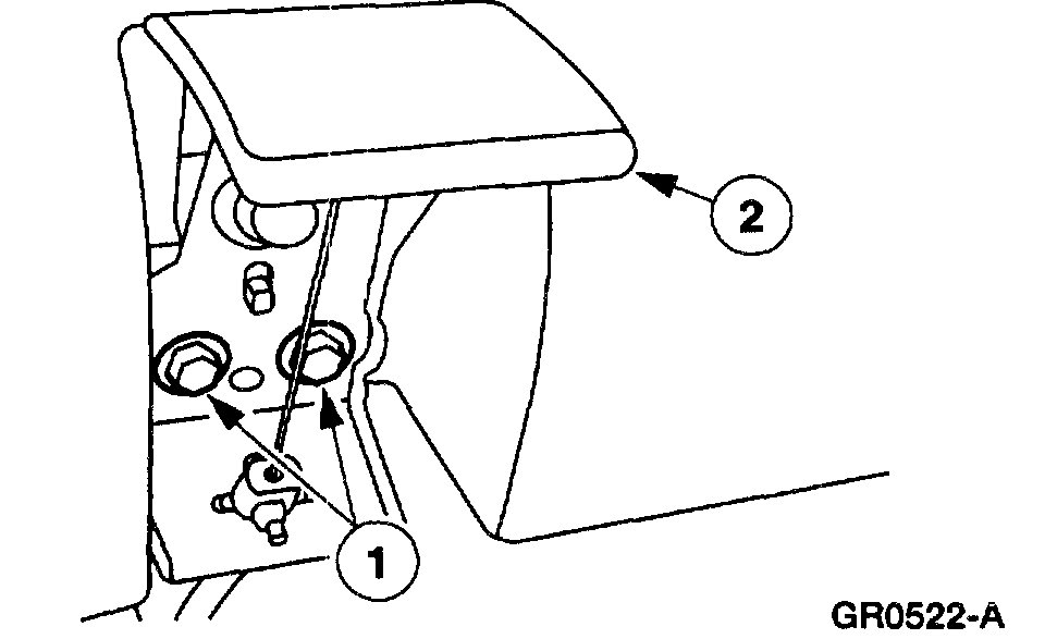
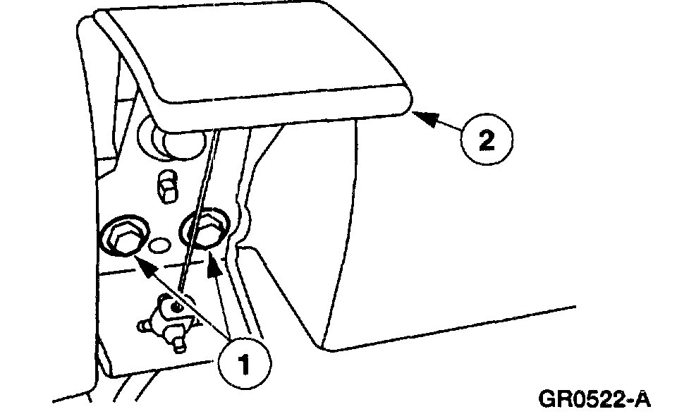
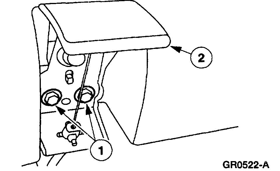
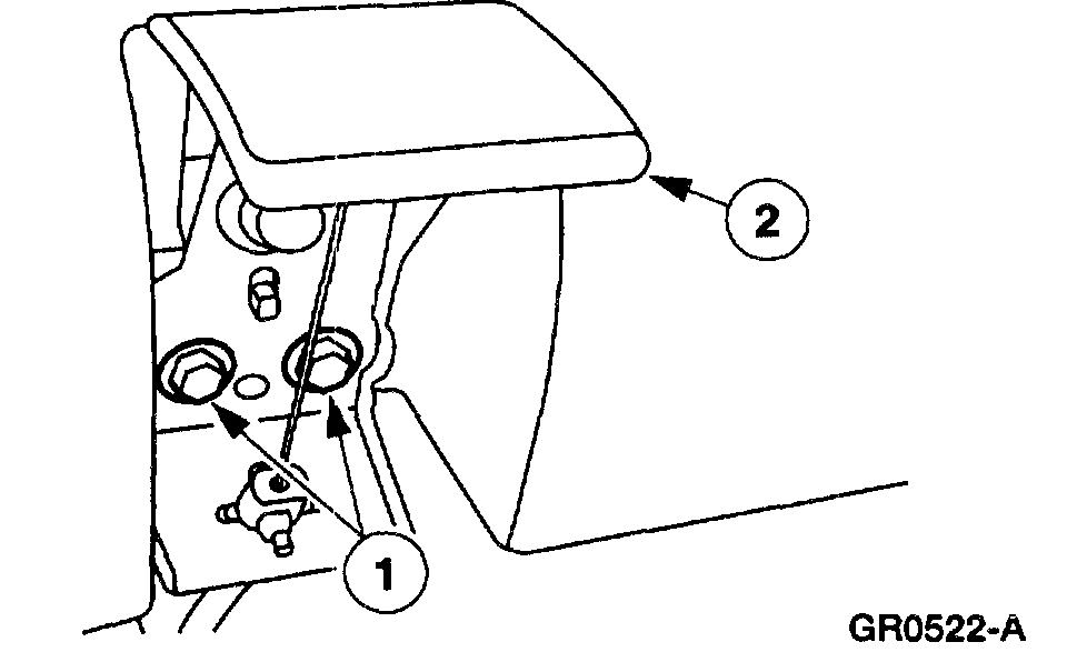
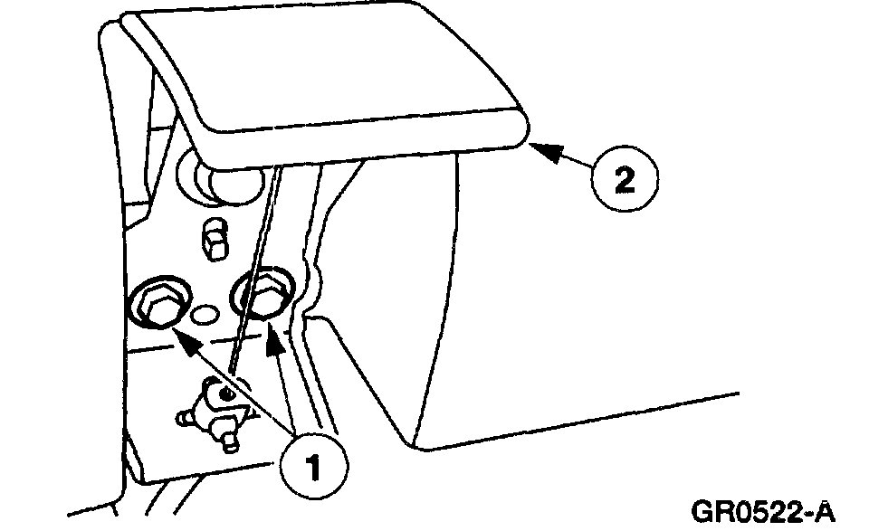
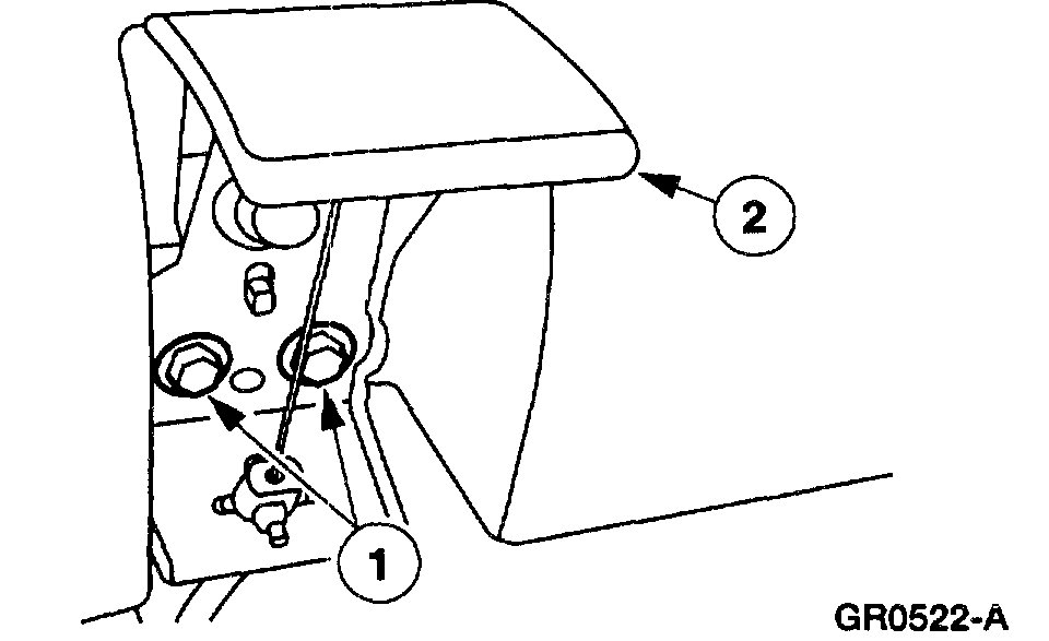
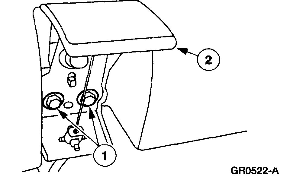
2. Detach the hood latch release handle and position aside.
1 Remove the bolts.
2 Position the hood latch release handle aside.


See picture 3


3. Remove the lower instrument panel steering column cover.
1 Remove the screws.
2 Remove the lower instrument panel steering column cover.


See picture 4


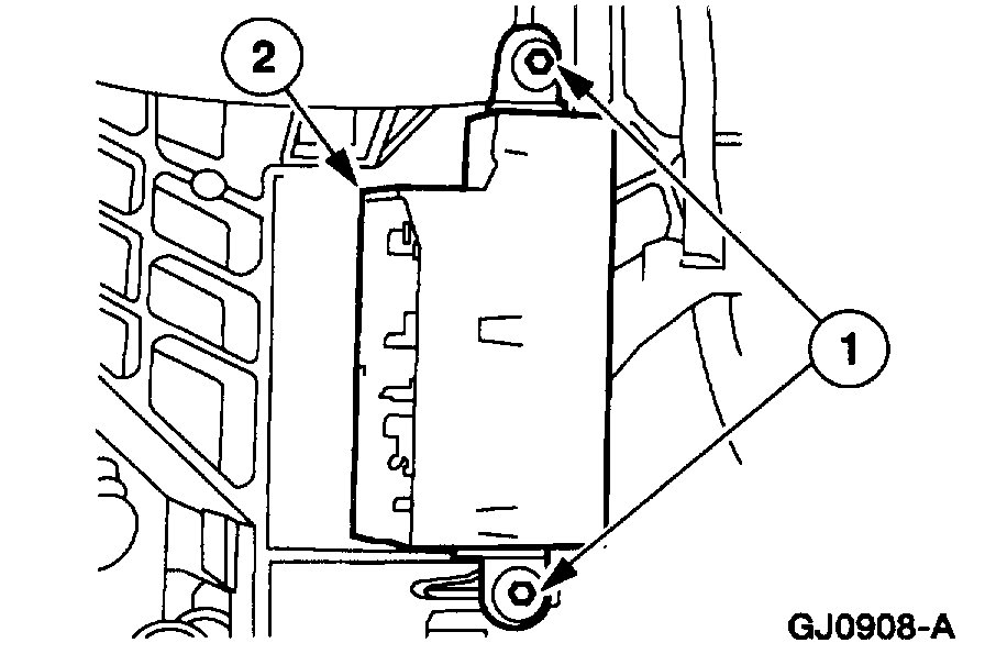
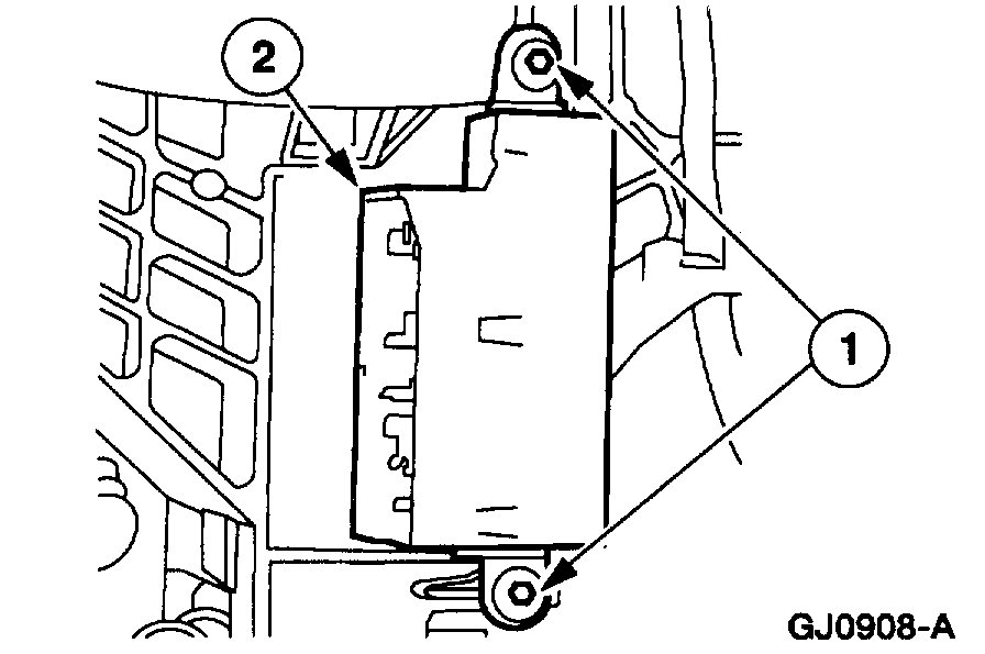
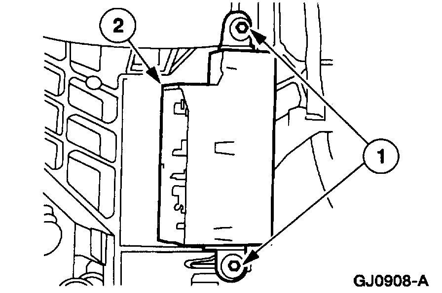
4. Remove the instrument panel steering column opening cover reinforcement.
1 Remove the bolts.
2 Remove the instrument panel steering column opening cover reinforcement.


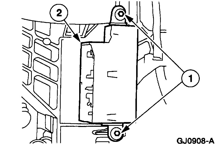
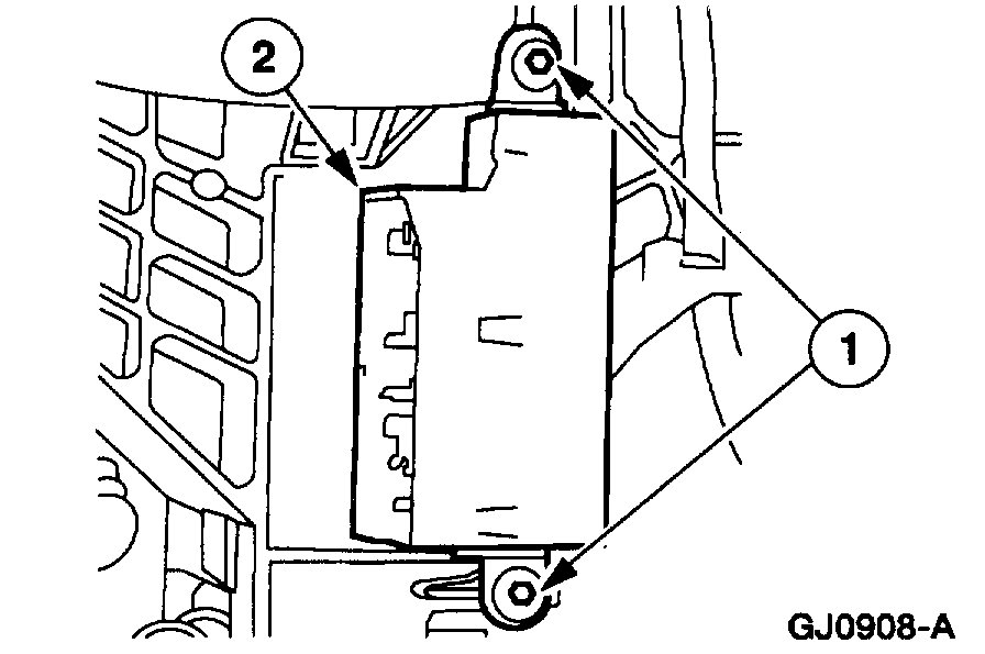
See picture 5


5. Disconnect the electrical connector.
1 Loosen the bolt.
2 Disconnect the electrical connector.


See picture
6
6. NOTE: The ignition key should be in the OFF position.

Remove the ignition switch.
1 Remove the screws.
2 Remove the ignition switch.

Installation


See pictures 7 - 10

1. Note: When the battery is disconnected and reconnected, some abnormal drive symptoms may occur while the vehicle relearns its adaptive strategy. The vehicle may need to be driven 16 km (10 mi) or more to relearn its strategy.

To install, reverse the removal procedure.

__________________________

Let me know.

Joe
Jan 12, 2019 at 9:28 PM
Avatar
1967THUNDERBIRD
  • MEMBER
  • 5 POSTS
I replaced the switch its self not the key part.
Jan 13, 2019 at 8:08 AM
Advertisement
Avatar
JACOBANDNICKOLAS
  • AUTOMOTIVE REPAIR CONTRIBUTOR
  • 110,190 POSTS
When you turn the key to the start position, nothing happens until you slightly release it. Is that correct? If it is, there has to be an issue in the linkage between the key lock assembly and the switch. Unless, there is an issue with the neutral safety switch. Just for the heck of it, see if it starts normally when you have it in neutral.

Let me know.

Joe
Jan 13, 2019 at 3:46 PM